GM Service Manual Online
For 1990-2009 cars only
Connector 1: Inflatable Restraint I/P Module C1
Connector 2: Inflatable Restraint I/P Module C2
Connector 3: Inflatable Restraint Front End Sensor - Left
Connector 4: Inflatable Restraint Front End Sensor - Right
Connector 5: Inflatable Restraint Passenger Airbag On/Off Indicator
Connector 6: Inflatable Restraint Passenger Presense System (PPS) Module
Connector 7: Inflatable Restraint Sensing and Diagnostic Module (SDM)
Connector 8: Inflatable Restraint Steering Wheel Module C1
Connector 9: Inflatable Restraint Steering Wheel Module C2
Connector 10: Inflatable Restraint Steering Wheel Module Coil C1
Connector 11: Inflatable Restraint Steering Wheel Module Coil C2
Connector 12: Inflatable Restraint Steering Wheel Module Coil C3
Connector 13: Seat Belt Pretensioner - Left
Connector 14: Seat Belt Pretensioner - Right

Inflatable Restraint I/P Module C1


Object Number: 966373  Size: CH

Connector Part Information

  • OEM: 15359118
  • Service: Service By Complete Passenger Air Bag Jumper Harness
  • Description: 2-Way F Micro-Pack 100 Series (GY) With (YE) Case

Terminal Part Information

  • Terminal/Tray: Serviced w/ pigtail
  • Core/Insulation Crimp: N/A
  • Release Tool/Test Probe: N/A

Inflatable Restraint I/P Module C1

Pin

Wire Color

Circuit No.

Function

A

PK/BK

3024

I/P Module - Stage 1 - Low Control

B

L-BU/RD

3025

I/P Module - Stage 1 - High Control

Inflatable Restraint I/P Module C2


Object Number: 966368  Size: CH

Connector Part Information

  • OEM: 15359119
  • Service: Service By Complete Passenger Air Bag Jumper
  • Description: 2-Way F Micro-Pack 100 Series (PU) With (YE) Case

Terminal Part Information

  • Terminal/Tray: Serviced w/ pigtail
  • Core/Insulation Crimp: N/A
  • Release Tool/Test Probe: N/A

Inflatable Restraint I/P Module C2

Pin

Wire Color

Circuit No.

Function

A

L-GN/RD

3026

I/P Module - Stage 2 - Low Control

B

RD/WH

3027

I/P Module - Stage 2 - High Control

Inflatable Restraint Front End Sensor - Left


Object Number: 744055  Size: CH

Connector Part Information

  • OEM: 15356722
  • Service: 15306405
  • Description: 2-Way F GT 150 Series Sealed 4.0 (YE)

Terminal Part Information

  • Terminal/Tray: Serviced w/ pigtail
  • Core/Insulation Crimp: N/A
  • Release Tool/Test Probe: 15315247/J-35616-2A (GY)

Inflatable Restraint Front End Sensor - Left

Pin

Wire Color

Circuit No.

Function

A

TN/OG

5045

Left Front Discriminating Sensor Low Reference

B

YE

1834

Forward Discriminating Sensor Signal

Inflatable Restraint Front End Sensor - Right


Object Number: 744055  Size: CH

Connector Part Information

  • OEM: 15356722
  • Service: 15306405
  • Description: 2-Way F GT 150 Series Sealed 4.0 (YE)

Terminal Part Information

  • Terminal/Tray: Serviced w/ pigtail
  • Core/Insulation Crimp: N/A
  • Release Tool/Test Probe: 15315247/J-35616-2A (GY)

Inflatable Restraint Front End Sensor - Right

Pin

Wire Color

Circuit No.

Function

A

GY

5600

Right Front Discriminating Sensor Low Reference

B

YE/BK

2160

Front End Discriminating Sensor Signal

Inflatable Restraint Passenger Airbag On/Off Indicator


Object Number: 1538776  Size: CH

Connector Part Information

  • OEM: 15398877
  • Service: Not Serviced
  • Description: 5-Way F HCM (NA)

Terminal Part Information

  • Terminal/Tray: Serviced w/ pigtail
  • Core/Insulation Crimp: N/A
  • Release Tool/Test Probe: 12094429/J-35616-64B (L-BU)

Inflatable Restraint Passenger Airbag On/Off Indicator

Pin

Wire Color

Circuit No.

Function

1

TN/BK

723

I/P Module Disable Switch Signal

2

BK/WH

651

Ground

3

PK

353

I/P Module Suppression Indicator Control

4

PK

339

Ignition 1 Voltage

5

PU

5234

Passenger Seat Belt Indicator

Inflatable Restraint Passenger Presense System (PPS) Module


Object Number: 1464340  Size: CH

Connector Part Information

  • OEM: 15332142
  • Service: 89046638
  • Description: 6-Way M GT 150 Series (BK)

Terminal Part Information

  • Pins: A, B, C, D, E
  • Terminal/Tray: Serviced w/ pigtail
  • Core/Insulation Crimp: N/A
  • Release Tool/Test Probe: See Terminal Repair Kit

Inflatable Restraint Passenger Presense System (PPS) Module

Pin

Wire Color

Circuit No.

Function

A

PK

1339

Ignition 1 Voltage

B

PK

5018

Occupant Sensor Serial Data

C

TN/BK

723

I/P Module Disable Switch Signal

D

BK/WH

351

Ground

E

PK

353

I/P Module Suppression Indicator Control

F

--

--

Not Used

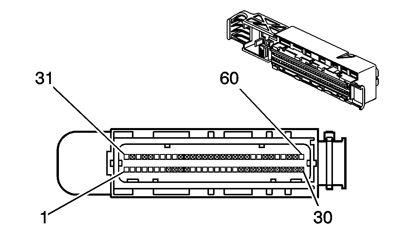
Inflatable Restraint Sensing and Diagnostic Module (SDM)


Object Number: 1593395  Size: CH

Connector Part Information

  • OEM: 6-638595-2
  • Service: 88988363
  • Description: 60-Way F (YE)

Terminal Part Information

  • Terminal/Tray: Serviced w/ terminated lead
  • Core/Insulation Crimp: N/A
  • Release Tool/Test Probe: See Terminal Repair Kit

Inflatable Restraint Sensing and Diagnostic Module (SDM)

Pin

Wire Color

Circuit No.

Function

1

RD/WH

1240

Battery Positive Voltage

2

D-GN (Early)

5060

Low Speed GMLAN Serial Data

D-GN/YE (Late)

5060

Low Speed GMLAN Serial Data

3

PK

5057

Seat Position Sensor - Low Reference

4

TN/WH

238

Seat Belt Switch - Left

5

--

--

Not Used

6

OG

1362

Seat Belt Switch - Right - Signal

7

--

--

Not Used

8-11

--

--

Not Available

12

PU

3026

I/P Module Stage 2 Low Control

13

GY

3027

I/P Module Stage 2 High Control

14

TN

3021

Steering Wheel Module - Stage 1 High Control

15

BN

3020

Steering Wheel Module - Stage 1 Low Control

16

PK

3022

Steering Wheel Module - Stage 2 Low Control

17

WH

3023

Steering Wheel Module - Stage 2 High Control

18

YE

3025

I/P Module - Stage 1 High Control

19

OG

3024

I/P Module - Stage 1 Low Control

20-30

--

--

Not Available

31

BK/WH

351

Ground

32

--

--

Not Available

33

PK

1339

Ignition 1 Voltage

34-35

--

--

Not Available

36

GY

5600

Front End Sensor - Voltage - Right

37

YE/BK

2160

Front End Sensor - Signal - Right

38

YE

1834

Front End Sensor - Voltage - Left

39

TN/OG

5045

Front End Sensor - Signal - Left

40-51

--

--

Not Available

52

L-GN

2116

Seat Belt Pretensioner - Right - High Control

53

OG

2117

Seat Belt Pretensioner - Right - Low Control

55

--

--

Not Available

56

TN/WH

2118

Seat Belt Pretensioner - Left - High Control

57

OG/BK

2119

Seat Belt Pretensioner - Left - Low Control

58-59

--

--

Not Available

60

PK

5018

Occupant Sensor Serial Data

Inflatable Restraint Steering Wheel Module C1


Object Number: 739643  Size: CH

Connector Part Information

  • OEM: CA-252-92-4 R
  • Service: See Catalog
  • Description: 2-Way F AMP (GY) With (YE) Case

Terminal Part Information

  • Terminal/Tray: Serviced w/ pigtail
  • Core/Insulation Crimp: N/A
  • Release Tool/Test Probe: N/A

Inflatable Restraint Steering Wheel Module C1

Pin

Wire Color

Circuit No.

Function

1

TN

3021

Steering Wheel Module - Stage 1 - High Control

2

BN

3020

Steering Wheel Module - Stage 1 - Low Control

Inflatable Restraint Steering Wheel Module C2


Object Number: 739646  Size: CH

Connector Part Information

  • OEM: CA-252-92-4 R
  • Service: See Catalog
  • Description: 2-Way F AMP (PU) With (YE) Case

Terminal Part Information

  • Terminal/Tray: Serviced w/ pigtail
  • Core/Insulation Crimp: N/A
  • Release Tool/Test Probe: N/A

Inflatable Restraint Steering Wheel Module C2

Pin

Wire Color

Circuit No.

Function

1

WH

3023

Steering Wheel Module - Stage 2 - High Control

2

PK

3022

Steering Wheel Module - Stage 2 - Low Control

Inflatable Restraint Steering Wheel Module Coil C1


Object Number: 1593397  Size: CH

Connector Part Information

  • OEM: 15393433
  • Service: 22710638
  • Description: 10-Way F Micro-Pack 064 (BK)

Terminal Part Information

  • Pins: C, D, E, F, G, H, J, K
  • Terminal/Tray: 12177007/19
  • Core/Insulation Crimp: E/2
  • Release Tool/Test Probe: 12180559-1/J-35616-64B (L-BU)

Inflatable Restraint Steering Wheel Module Coil C1

Pin

Wire Color

Circuit No.

Function

A-B

--

--

Not Used

C

PK

1539

Ignition 1 Voltage

D

GY

1884

Cruise Control Switch Signal

E

D-BU

1796

Steering Wheel Controls Signal (UK3)

F

WH/BK

644

10-Volt Reference

G

GY

8

Instrument Panel Lamp Supply Voltage (UK3)

H

D-GN/WH

1358

DIC Switch Signal

J

TN

28

Horn Relay Control

K

BK

1150

Ground

Inflatable Restraint Steering Wheel Module Coil C2


Object Number: 1593397  Size: CH

Connector Part Information

  • OEM: 15393433
  • Service: 22710638
  • Description: 10-Way F Micro-Pack 064 (BK)

Terminal Part Information

  • Pins: C, D, E, F, G, H, J, K
  • Terminal/Tray: 12177007/19
  • Core/Insulation Crimp: E/2
  • Release Tool/Test Probe: 12180559-1/J-35616-64B (L-BU)

Inflatable Restraint Steering Wheel Module Coil C2

Pin

Wire Color

Circuit No.

Function

A-B

--

--

Not Used

C

PK

1539

Ignition 1 Voltage

D

GY

1884

Cruise Control Switch Signal

E

D-BU

1796

Steering Wheel Controls Signal (UK3)

F

WH/BK

644

10-Volt Reference (UK3)

G

GY

8

Instrument Panel Lamp Supply Voltage

H

D-GN/WH

1358

DIC Switch Signal

J

TN

28

Horn Relay Control

K

BK

1150

Ground

Inflatable Restraint Steering Wheel Module Coil C3


Object Number: 1399226  Size: CH

Connector Part Information

  • OEM: 15393421
  • Service: 88987853
  • Description: 4-Way F Micro-Pack 064 (YE)

Terminal Part Information

  • Terminal/Tray: Serviced w/ pigtail
  • Core/Insulation Crimp: N/A
  • Release Tool/Test Probe: N/A

Inflatable Restraint Steering Wheel Module Coil C3

Pin

Wire Color

Circuit No.

Function

1

BN

3020

Steering Wheel Module - Stage 1 - Low Control

2

TN

3021

Steering Wheel Module - Stage 1 - High Control

3

PK

3022

Steering Wheel Module - Stage 2 - Low Control

4

WH

3023

Steering Wheel Module - Stage 2 High Control

Seat Belt Pretensioner - Left


Object Number: 1593399  Size: CH

Connector Part Information

  • OEM: 15380395
  • Service: 88988308
  • Description: 2-Way F Misc (GY)

Terminal Part Information

  • Terminal/Tray: Serviced w/ pigtail
  • Core/Insulation Crimp: N/A
  • Release Tool/Test Probe: N/A

Seat Belt Pretensioner - Left

Pin

Wire Color

Circuit No.

Function

1

OG/BK

2119

Seat Belt Pretensioner - Left - Low Control

2

TN/WH

2118

Seat Belt Pretensioner - Left - High Control

Seat Belt Pretensioner - Right


Object Number: 1593399  Size: CH

Connector Part Information

  • OEM: 15380395
  • Service: 88988308
  • Description: 2-Way F Misc (GY)

Terminal Part Information

  • Terminal/Tray: Serviced w/ pigtail
  • Core/Insulation Crimp: N/A
  • Release Tool/Test Probe: N/A

Seat Belt Pretensioner - Right

Pin

Wire Color

Circuit No.

Function

1

OG

2117

Seat Belt Pretensioner - Right - Low Control

2

L-GN

2116

Seat Belt Pretensioner - Right - High Control