GM Service Manual Online
For 1990-2009 cars only
Connector 1: Engine Control Module (ECM) C1
Connector 2: Engine Control Module (ECM) C2
Connector 3: Engine Control Module (ECM) C3

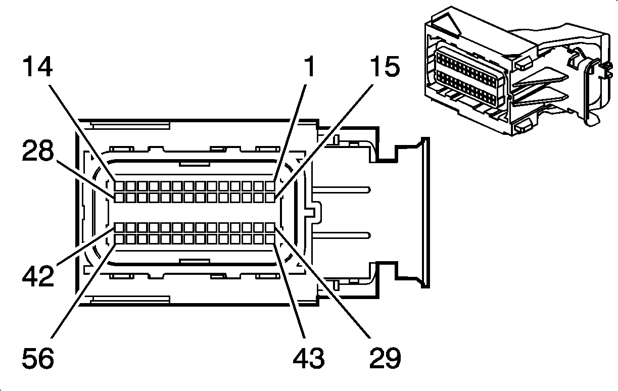
Engine Control Module (ECM) C1


Object Number: 1590948  Size: CH

Connector Part Information

  • OEM: 34576-2603
  • Service: 88988373
  • Description: 56-Way F (GY)

Terminal Part Information

  • Pins: 6, 9,13, 19, 20, 34, 44, 48, 55
  • Terminal/Tray:33467-0005/23
  • Core/Insulation Crimp: J/J
  • Release Tool/Test Probe: J38125-213/J-35616-64B (L-BU)
  • Pins: 7, 12, 18, 33, 35-37, 40, 47, 49, 53, 54, 56
  • Terminal/Tray: 33467-0003/23
  • Core/Insulation Crimp: H/H
  • Release Tool/Test Probe: J38125-213/J-35616-64B (L-BU)

Engine Control Module (ECM) C1

Pin

Wire Color

Circuit No.

Function

1-5

--

--

Not Used

6

BN/WH

379

CPP Switch Signal (MA5)

7

L-BU

20

Stop Lamp Supply Voltage

8

--

--

Not Used

9

TN

2759

Low Reference

10-11

--

--

Not Used

12

BN/WH

419

MIL Control

13

D-GN/WH

465

Fuel Pump Relay Control

14-17

--

--

Not Used

18

BN

4

Accessory Voltage

19

PK

1039

Ignition 1 Voltage

20

RD/WH

840

Battery Positive Voltage

21-32

--

--

Not Used

33

WH/BK

1164

5-Volt Reference 2

34

GY

2709

5-Volt Reference 1

35

TN

1274

5-Volt Reference 1

36

BN

1271

Low Reference

37

PU

1272

Low Reference

38-39

--

--

Not Used

40

BN

5069

Main Relay Control

41-43

--

--

Not Used

44

PU

1589

Fuel Level Sensor Signal

45-46

--

--

Not Used

47

D-BU

1161

APP Sensor 1 Signal

48

D-GN

890

Fuel Tank Pressure Sensor Signal

49

L-BU

1162

APP Sensor 2 Signal

50-52

--

--

Not Used

53

D-GN/WH

459

A/C Compressor Clutch Relay Control (C60)

54

D-BU

473

High Speed Cooling Fan Relay Control

55

WH

1310

EVAP Canister Vent Solenoid Control

56

YE

447

Starter Relay Coil Control

Engine Control Module (ECM) C2


Object Number: 1590592  Size: CH

Connector Part Information

  • OEM: 34566-2503
  • Service: 88988931
  • Description: 73-Way F 0.64 Receptacle 2.8 Series, Sealed (BK)

Terminal Part Information

  • Pins: 1, 17, 20, 23, 27, 33, 35, 36, 39, 42, 43, 53, 56, 59, 62, 63, 67
  • Terminal/Tray: 33467-0003/23
  • Core/Insulation Crimp: H/H
  • Release Tool/Test Probe: J-38125-213/J-35616-64B (L-BU)
  • Pins: 2-5, 8, 9, 11-14, 29, 30, 32, 44, 46, 48, 50, 64, 66, 68, 69, 71, 72
  • Terminal/Tray: 33467-0005/23
  • Core/Insulation Crimp: Pins: 2-5, 8, 9, 14, 29, 30, 32, 44, 46, 48, 50, 64, 66, 68, 69, 71, 72 J/J
  • Core/Insulation Crimp: Pins: 11, 13 K/K
  • Release Tool/Test Probe: J-38125-213/J-35616-64B (L-BU)
  • Pins: 73
  • Terminal/Tray: 7116-4152-02/9
  • Core/Insulation Crimp: 2/5
  • Release Tool/Test Probe: 12094430/J-35616-35 (VT)

Engine Control Module (ECM) C2

Pin

Wire Color

Circuit No.

Function

1

PU

2121

IC 1 Control

2

TN/WH

3111

Heated Oxygen Sensor Low Signal - Sensor 1

3

PU/WH

3110

Heated Oxygen Sensor Heater High Signal - Sensor 1

4

PU/WH

1668

Heated Oxygen Sensor High Signal Sensor 2

5

TN/WH

1669

Heated Oxygen Sensor Low Signal Sensor 2

6-7

--

--

Not Used

8

D-BU

496

KS Signal

9

GY

1716

KS Signal

10

--

--

Not Used

11

YE

581

TAC Motor Control - 1

12

BN

582

TAC Motor Control - 2

13

PK/BK

5290

Ignition 1 Voltage

14

PU

5284

Camshaft Phaser Intake Solenoid Control

15-16

--

--

Not Used

17

L-BU

2123

IC 3 Control

18-19

--

--

Not Used

20

GY

5296

Low Reference

21-22

--

--

Not Used

23

TN

5301

Low Reference

24-26

--

--

Not Used

27

PU

574

Low Reference

28

--

--

Not Used

29

TN

2752

Low Reference

30

L-GN

5282

Low Reference

31

--

--

Not Used

32

L-GN/BK

1745

Fuel Injector 2 Control

33

D-GN/WH

2124

IC 4 Control

34

--

--

Not Used

35

BN

2129

Low Reference

36

YE/BK

5297

5-Volt Reference 1

37-38

--

--

Not Used

39

D-BU

5300

5-Volt Reference 1

40-41

--

--

Not Used

42

BK

2760

Low Reference

43

L-GN

2867

5-Volt Reference 2

44

GY

2701

5-Volt Reference 2

45

--

--

Not Used

46

TN

2199

Low Reference

47

--

--

Not Used

48

PK/BK

1746

Fuel Injector 3 Control

49

--

--

Not Used

50

TN

452

Camshaft Phaser Exhaust Solenoid Control

51-52

--

--

Not Used

53

OG/WH

2122

IC 2 Control

54-55

--

--

Not Used

56

D-GN

5273

Camshaft Position Exhaust Sensor Signal

57-58

--

--

Not Used

59

OG

5275

Camshaft Position Intake Sensor Signal

60-61

--

--

Not Used

62

TN

472

IAT Sensor Signal

63

YE

573

CKP Sensor 1 Signal

64

D-GN

485

TP Sensor Signal

65

--

--

Not Used

66

PU

486

TP Sensor 2 Signal

67

YE

492

MAF Sensor Signal

68

GY/WH

3113

Heated Oxygen Sensor Heater Low Control - Sensor 1

69

GY/WH

3122

Heated Oxygen Sensor Heater Low Control - Sensor 2

70

--

--

Not Used

71

L-BU/BK

844

Fuel Injector 4 Control

72

BK

1744

Fuel Injector 1 Control

73

BK/WH

451

Ground

Engine Control Module (ECM) C3


Object Number: 1590596  Size: CH

Connector Part Information

  • OEM: 34566-2603
  • Service: 88988372
  • Description: 73-Way F 0.64 Receptacle 2.8 Series, Sealed (GY)

Terminal Part Information

  • Pins: 7, 21, 23, 28, 29, 35, 37, 39, 44, 46-49, 55, 57, 59, 66, 67
  • Terminal/Tray: 33467-0003/23
  • Core/Insulation Crimp: H/H
  • Release Tool/Test Probe: J-38125-213/J-35616-64B (L-BU)
  • Pins: 33, 53, 65
  • Terminal/Tray:33467-0005/23
  • Core/Insulation Crimp: Pins: 33, 53, J/J
  • Core/Insulation Crimp: Pins: 65 K/K
  • Release Tool/Test Probe: J-38125-213/J-35616-64B (L-BU)

Engine Control Module (ECM) C3

Pin

Wire Color

Circuit No.

Function

1-6

--

--

Not Used

7

OG

225

Generator Turn On Signal

8-20

--

--

Not Used

21

BK/WH

2751

Low Reference (C60)

22

--

--

Not Used

23

OG/BK

469

Low Reference

24-27

--

--

Not Used

28

TN/WH

1704

Low Reference

29

GY

23

Generator Field Duty Cycle Signal

30-32

--

--

Not Used

33

TN

2501

High Speed GMLAN Serial Data Bus (-)

34

--

--

Not Used

35

TN

2761

Low Reference

36

--

--

Not Used

37

GY

2700

5-Volt Reference 1 (C60)

38

--

--

Not Used

39

GY

2704

5-Volt Reference 1

40-43

--

--

Not Used

44

L-BU/BK

1688

5-Volt Reference 2

45

--

--

Not Used

46

OG/BK

1786

Transmission Park/Neutral Signal (1) (M82)

47

D-GN

1433

PNP/Clutch Start Switch Signal (MA5)

48

D-GN/WH

428

EVAP Canister Purge Solenoid Control

49

D-GN

335

Low Speed Cooling Fan Relay Control

50-52

--

--

Not Used

53

TN/BK

2500

High Speed GMLAN Serial Data Bus (+)

54

--

--

Not Used

55

YE

410

ECT Sensor Signal

56

--

--

Not Used

57

OG/BK

380

A/C Refrigerant Pressure Sensor Signal (C60)

58

--

--

Not Used

59

L-GN

432

MAP Sensor Signal

60-64

--

--

Not Used

65

TN/BK

231

Oil Pressure Switch Signal

66

YE

400

VSS High Signal (MA5)

67

PU

401

VSS Low Signal (MA5)

68-73

--

--

Not Used