GM Service Manual Online
For 1990-2009 cars only
Connector 1: C100 Engine Harness to the I/P Body Harness (LNF)
Connector 2: C100 Engine Harness to the I/P Body Harness (LE5)
Connector 3: C102 RF Fog/Turn Lamp Jumper Harness to the Forward Lamp Harness
Connector 4: C103 LF Fog/Turn Lamp Jumper Harness to the Forward Lamp Harness
Connector 5: C120 I/P Body Harness to the Forward Lamp Harness
Connector 6: C160 Engine Harness to the Fuel Injector Jumper Harness (LE5)
Connector 7: C162 Engine Harness to the Fuel Injector Jumper Harness (LNF)
Connector 8: C207 Console Harness to I/P Body Harness (M82)
Connector 9: C208 SIR I/P Module Harness to the I/P Body Harness
Connector 10: C216 I/P Body Harness to the HVAC Harness
Connector 11: C218 I/P Body Harness to the HVAC Harness
Connector 12: C316 I/P Body Harness to the Passenger Seat Harness
Connector 13: C317 I/P Body Harness to the Driver Seat Harness (w/o AF2)
Connector 14: C317 I/P Body Harness to the Driver Seat Harness (AF2)
Connector 15: C400 I/P Body Harness to the Rear Lamp Harness
Connector 16: C401 I/P Body Harness to Digital Radio Receiver (U2K)
Connector 17: C406 I/P Body Harness to Chassis Harness
Connector 18: C408 Chassis Harness to I/P Body Harness
Connector 19: C500 Driver Door Harness to the I/P Body Harness
Connector 20: C501 Driver Door Harness to the I/P Body Harness (A31)
Connector 21: C505 Driver Door Harness to the Power Mirror Harness
Connector 22: C600 Passenger Door Harness to the I/P Body Harness

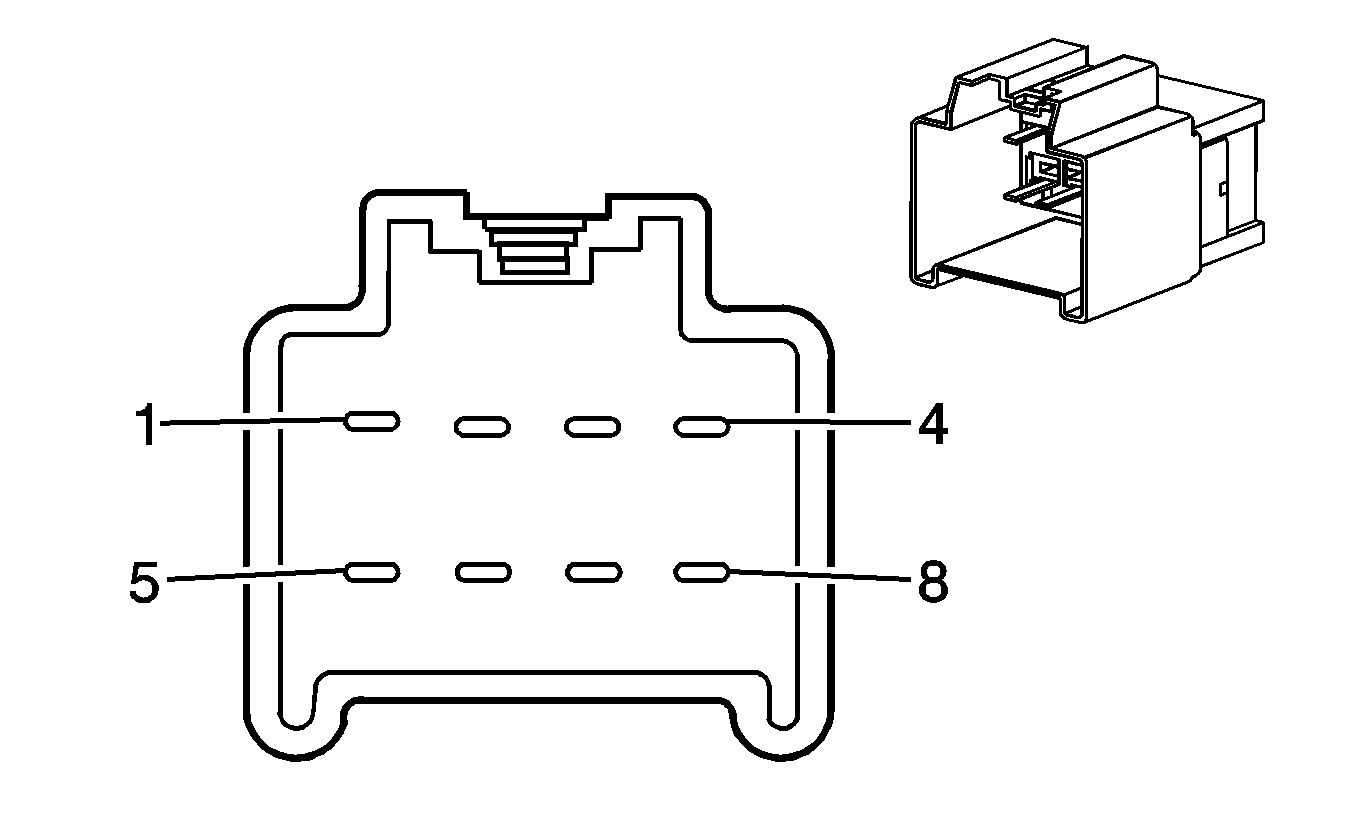
C100 Engine Harness to the I/P Body Harness (LNF)


Object Number: 646433  Size: CH

Object Number: 655777  Size: CH

Connector Part Information

  • OEM: 15336418
  • Service: See Catalog
  • Description: 40-Way F GT 150 280 Series Sealed 4.0 5.2 (BK)

Connector Part Information

  • OEM: 15317380
  • Service: See Catalog
  • Description: 40-Way F GT 150 280 Series Sealed (BK)

Terminal Part Information

  • Pins: A1-A3, A8, B1-B3, B5-B6, B8-B12, C1-C7, D1, D6-D7
  • Terminal/Tray: 12191819/8
  • Core/Insulation Crimp: E/A
  • Release Tool/Test Probe: 15315247/J-35616-2A (GY)
  • Pins: A4, A5, B7
  • Terminal/Tray: 15304716/8
  • Core/Insulation Crimp: E/1
  • Release Tool/Test Probe: 15315247/J-35616-4A (PU)

Terminal Part Information

  • Pins: A1-A3, A8, B1-B3, B5-B6, B8-B12, C1-C7, D1, D6-D7
  • Terminal/Tray: 15326269/19
  • Core/Insulation Crimp: E/4
  • Release Tool/Test Probe: 15315247/J-35616-3 (GY)
  • Pins: A4, A5, B7
  • Terminal/Tray: 15304728/8
  • Core/Insulation Crimp: 2/1
  • Release Tool/Test Probe: 15315247/J-35616-5 (PU)

C100 Engine Harness to the I/P Body Harness (LNF)

Pin

Wire Color

Circuit No.

Function

Pin

Wire Color

Circuit No.

Function

A1

WH

1310

EVAP Canister Vent Solenoid Control

A1

WH

1310

EVAP Canister Vent Solenoid Control

A2

RD/WH

840

Battery Positive Voltage

A2

RD/WH

840

Battery Positive Voltage

A3

TN

1274

5-Volt Reference 3

A3

TN

1274

5-Volt Reference 3

A4

PU

92

Windshield Wiper Motor High Speed

A4

PU

92

Windshield Wiper Motor High Speed

A5

D-GN

95

Windshield Washer Switch Signal

A5

D-GN

95

Windshield Washer Switch Signal

A6-A7

--

--

Not Used

A6-A7

--

--

Not Used

A8

BN

4

Accessory Voltage

A8

BN

4

Accessory Voltage

B1

BN/WH

419

MIL Control

B1

BN/WH

419

MIL Control

B2

TN/BK

2500

High Speed GMLAN Serial Data (+)

B2

TN/BK

2500

High Speed GMLAN Serial Data (+)

B3

TN

2501

High Speed GMLAN Serial Data Bus (-)

B3

TN

2501

High Speed GMLAN Serial Data Bus (-)

B4

--

--

Not Used

B4

--

--

Not Used

B5

RD/WH

840

Battery Positive Voltage (M82)

B5

RD/WH

840

Battery Positive Voltage (M82)

B6

PU

1272

Low Reference

B6

PU

1272

Low Reference

B7

BK

250

Ground

B7

BK

250

Ground

B8

L-BU

1162

APP Sensor 2 Signal

B8

L-BU

1162

APP Sensor 2 Signal

B9

WH/BK

1164

5-Volt Reference 2

B9

WH/BK

1164

5-Volt Reference 2

B10

BN

1271

Low Reference

B10

BN

1271

Low Reference

B11

D-BU

1161

APP Sensor 1 Signal

B11

D-BU

1161

APP Sensor 1 Signal

B12

TN

2759

Low Reference

B12

TN

2759

Low Reference

C1

PU

1589

Fuel Level Sensor Signal

C1

PU

1589

Fuel Level Sensor Signal

C2

D-GN

890

Fuel Tank Pressure Sensor Signal

C2

D-GN

890

Fuel Tank Pressure Sensor Signal

C3

GY

2709

5-Volt Reference 1

C3

GY

2709

5-Volt Reference 1

C4

D-GN/WH

465

Fuel Pump Relay Control

C4

D-GN/WH

465

Fuel Pump Relay Control

C5

YE

196

Windshield Wiper Motor Park Switch Signal

C5

YE

196

Windshield Wiper Motor Park Switch Signal

C6

PK/BK

5291

Ignition 1 Voltage

C6

PK/BK

5291

Ignition 1 Voltage

C7

PK

849

Brake Fluid Level Sensor Signal

C7

PK

849

Brake Fluid Level Sensor Signal

C8-C12

--

--

Not Used

C8-C12

--

--

Not Used

D1

BN/WH

379

CPP Switch Signal (MA5)

D1

BN/WH

379

CPP Switch Signal (MA5)

D2-D5

--

--

Not Used

D2-D3

--

--

Not Used

D4-D5

--

--

Not Available

D6

L-GN

1478

Coolant Level Switch Signal

D6

L-GN

1478

Coolant Level Switch Signal

D7

OG

228

Windshield Washer Pump Control

D7

OG

228

Windshield Washer Pump Control

D8

--

--

Not Used

D8

--

--

Not Used

C100 Engine Harness to the I/P Body Harness (LE5)


Object Number: 1715240  Size: CH

Object Number: 655777  Size: CH

Connector Part Information

  • OEM: 15443822
  • Service: See Catalog
  • Description: 38-Way F GT 150, 280 Series Sealed (BK)

Connector Part Information

  • OEM: 15317380
  • Service: Not Serviced
  • Description: 38-Way GT 150, 280 Series Sealed (BK)

Terminal Part Information

  • Pins: A1-A3, A8, B1-B3, B5-B6, B8-B12, C1-C7, D1, D6-D7
  • Terminal/Tray: 12191819/8
  • Core/Insulation Crimp: E/A
  • Release Tool/Test Probe: 15315247/J-35616-2A (GY)
  • Pins: A4, A5, B7
  • Terminal/Tray: 15304716/8
  • Core/Insulation Crimp: E/1
  • Release Tool/Test Probe: 15315247/J-35616-4A (PU)

Terminal Part Information

  • Pins: A1-A3, A8, B1-B3, B5-B6, B8-B12, C1-C7, D1, D6-D7
  • Terminal/Tray: 15326269/19
  • Core/Insulation Crimp: E/4
  • Release Tool/Test Probe: 15315247/J-35616-3 (GY)
  • Pins: A4, A5, B7
  • Terminal/Tray: 15304728/8
  • Core/Insulation Crimp: 2/1
  • Release Tool/Test Probe: 15315247/J-35616-5 (PU)

C100 Engine Harness to the I/P Body Harness (LE5)

Pin

Wire Color

Circuit No.

Function

Pin

Wire Color

Circuit No.

Function

A1

WH

1310

EVAP Canister Vent Solenoid Control

A1

WH

1310

EVAP Canister Vent Solenoid Control

A2

RD/WH

840

Battery Positive Voltage

A2

RD/WH

840

Battery Positive Voltage

A3

TN

1274

5-Volt Reference 3

A3

TN

1274

5-Volt Reference 3

A4

PU

92

Windshield Wiper Motor High Speed

A4

PU

92

Windshield Wiper Motor High Speed

A5

D-GN

95

Windshield Washer Switch Signal

A5

D-GN

95

Windshield Washer Switch Signal

A6-A7

--

--

Not Used

A6-A7

--

--

Not Used

A8

BN

4

Accessory Voltage

A8

BN

4

Accessory Voltage

B1

BN/WH

419

MIL Control

B1

BN/WH

419

MIL Control

B2

TN/BK

2500

High Speed GMLAN Serial Data (+)

B2

TN/BK

2500

High Speed GMLAN Serial Data (+)

B3

TN

2501

High Speed GMLAN Serial Data (-)

B3

TN

2501

High Speed GMLAN Serial Data (-) (1)

B4

--

--

Not Used

B4

--

--

Not Used

B5

RD/WH

840

Battery Positive Voltage (M82)

B5

RD/WH

840

Battery Positive Voltage (M82)

B6

PU

1272

Low Reference

B6

PU

1272

Low Reference

B7

BK

250

Ground

B7

BK

250

Ground

B8

L-BU

1162

APP Sensor 2 Signal

B8

L-BU

1162

APP Sensor 2 Signal

B9

WH/BK

1164

5-Volt Reference 2

B9

WH/BK

1164

5-Volt Reference 2

B10

BN

1271

Low Reference

B10

BN

1271

Low Reference

B11

D-BU

1161

APP Sensor 1 Signal

B11

D-BU

1161

APP Sensor 1 Signal

B12

TN

2759

Low Reference

B12

TN

2759

Low Reference

C1

PU

1589

Fuel Level Sensor Signal

C1

PU

1589

Fuel Level Sensor Signal

C2

D-GN

890

Fuel Tank Pressure Sensor Signal

C2

D-GN

890

Fuel Tank Pressure Sensor Signal

C3

GY

2709

5-Volt Reference 1

C3

GY

2709

5-Volt Reference 1

C4

D-GN/WH

465

Fuel Pump Relay Control

C4

D-GN/WH

465

Fuel Pump Relay Control

C5

YE

196

Windshield Wiper Motor Park Switch Signal

C5

YE

196

Windshield Wiper Motor Park Switch Signal

C6

PK/BK

5291

Ignition 1 Voltage

C6

PK/BK

5291

Ignition 1 Voltage

C7

PK

849

Brake Fluid Level Sensor Signal

C7

PK

849

Brake Fluid Level Sensor Signal

C8-C12

--

--

Not Used

C8-C12

--

--

Not Used

D1

BN/WH

379

CPP Switch Signal (MA5)

D1

BN/WH

379

CPP Switch Signal (MA5)

D2-D3

--

--

Not Used

D2-D3

--

--

Not Used

D4-D5

--

--

Not Available

D4-D5

--

--

Not Available

D6

L-GN

1478

Coolant Level Switch Signal

D6

L-GN

1478

Coolant Level Switch Signal

D7

OG

228

Windshield Washer Pump Control

D7

OG

228

Windshield Washer Pump Control

D8

--

--

Not Used

D8

--

--

Not Used

C102 RF Fog/Turn Lamp Jumper Harness to the Forward Lamp Harness


Object Number: 697046  Size: CH

Object Number: 1471680  Size: CH

Connector Part Information

  • OEM: 12186568
  • Service: See Catalog
  • Description: 4-Way F Metri-Pack 150 Series Sealed (BK)

Connector Part Information

  • OEM: 12186271
  • Service: 15306054
  • Description: 4-Way M Metri-Pack 150 Series Sealed (GY)

Terminal Part Information

  • Terminal/Tray: 12047553/2
  • Core/Insulation Crimp: E/1
  • Release Tool/Test Probe: 12094429/J-35616-3 (GY)

Terminal Part Information

  • Terminal/Tray: 12045773/2
  • Core/Insulation Crimp: E/1
  • Release Tool/Test Probe: 12094429/J-35616-3 (GY)

C102 RF Fog/Turn Lamp Jumper Harness to the Forward Lamp Harness

Pin

Wire Color

Circuit No.

Function

Pin

Wire Color

Circuit No.

Function

A

D-BU

15

Right Turn Signal Lamp Supply Voltage

A

D-BU

15

Right Turn Signal Lamp Supply Voltage

B

BN

9

Tail/License Lamps Supply Voltage

B

BN

9

Tail/License Lamps Supply Voltage

C

PU

2234

Front Fog Lamp Supply Voltage (T96)

C

PU

2234

Front Fog Lamp Supply Voltage (T96)

D

BK

250

Ground

D

BK

250

Ground

C103 LF Fog/Turn Lamp Jumper Harness to the Forward Lamp Harness


Object Number: 697046  Size: CH

Object Number: 1471680  Size: CH

Connector Part Information

  • OEM: 12186568
  • Service: See Catalog
  • Description: 4-Way F Metri-Pack 150 Series Sealed (BK)

Connector Part Information

  • OEM: 12186271
  • Service: 15306054
  • Description: 4-Way M Metri-Pack 150 Series Sealed (GY)

Terminal Part Information

  • Terminal/Tray: 12047553/2
  • Core/Insulation Crimp: E/1
  • Release Tool/Test Probe: 12094429/J-35616-3 (GY)

Terminal Part Information

  • Terminal/Tray: 12045773/2
  • Core/Insulation Crimp: E/1
  • Release Tool/Test Probe: 12094429/J-35616-3 (GY)

C103 LF Fog/Turn Lamp Jumper Harness to the Forward Lamp Harness

Pin

Wire Color

Circuit No.

Function

Pin

Wire Color

Circuit No.

Function

A

L-BU

14

Left Turn Signal Lamp Supply Voltage

A

L-BU

14

Left Turn Signal Lamp Supply Voltage

B

BN

9

Tail/License Lamps Supply Voltage

B

BN

9

Tail/License Lamps Supply Voltage

C

PU

2234

Front Fog Lamp Supply Voltage (T96)

C

PU

2234

Front Fog Lamp Supply Voltage (T96)

D

BK

150

Ground

D

BK

150

Ground

C120 I/P Body Harness to the Forward Lamp Harness


Object Number: 655811  Size: CH

Object Number: 655813  Size: CH

Connector Part Information

  • OEM: 15326084
  • Service: 15306348
  • Description: 16-Way F GT 150 280 Series Sealed 4.0 5.8 (BK)

Connector Part Information

  • OEM: 15326085
  • Service: 15306122
  • Description: 16-Way M GT 150 280 Series Sealed 4.0 5.8 (BK)

Terminal Part Information

  • Pins: A, B, C, D, E, F, G, H, J, K, L, M, N, P, R, S
  • Terminal/Tray: 12191819/8
  • Core/Insulation Crimp: E/A
  • Release Tool/Test Probe: 15315247/J-35616-2A (GY)

Terminal Part Information

  • Pins: A, B, C, D, E, F, G, H, J, K, L, M, N, P, R, S
  • Terminal/Tray: 15326269/19
  • Core/Insulation Crimp: E/4
  • Release Tool/Test Probe: 15315247/J-35616-3 (GY)

C120 I/P Body Harness to the Forward Lamp Harness

Pin

Wire Color

Circuit No.

Function

Pin

Wire Color

Circuit No.

Function

A

PK/BK

6434

Can Bus High Serial Data (LNF)

A

PK/BK

6434

Can Bus High Serial Data (LNF)

B

TN

884

Left Rear Wheel Speed Sensor Signal (JL9)

B

TN

884

Left Rear Wheel Speed Sensor Signal (JL9)

C

OG

885

Left Rear Wheel Speed Sensor Low Reference (JL9)

C

OG

885

Left Rear Wheel Speed Sensor Low Reference (JL9)

D

BN

882

Right Rear Wheel Speed Sensor Signal (JL9)

D

BN

882

Right Rear Wheel Speed Sensor Signal (JL9)

E

WH

883

Right Rear Wheel Speed Sensor Low Reference (JL9)

E

WH

883

Right Rear Wheel Speed Sensor Low Reference (JL9)

F

TN/BK

2500

High Speed GMLAN Serial Data (+)

F

TN/BK

2500

High Speed GMLAN Serial Data (+)

G

TN

2501

High Speed GMLAN Serial Data (-)

G

TN

2501

High Speed GMLAN Serial Data (-)

H

D-GN

2087

12-Volt Reference (LNF)

H

D-GN

2087

12-Volt Reference (LNF)

J

L-BU

2088

Low Reference (LNF)

J

L-BU

2088

Low Reference (LNF)

K

TN/BK

2500

High Speed GMLAN Serial Data (+)

K

TN/BK

2500

High Speed GMLAN Serial Data (+)

L

TN

2501

High Speed GMLAN Serial Data (-)

L

TN

2501

High Speed GMLAN Serial Data (-)

M

YE/BK

2160

Front End Discriminating Sensor Signal

M

YE/BK

2160

Front End Discriminating Sensor Signal

N

GY

5600

Right Front Discriminating Sensor Low Reference

N

GY

5600

Right Front Discriminating Sensor Low Reference

P

YE

1834

Forward Discriminating Sensor Signal

P

YE

1834

Forward Discriminating Sensor Signal

R

TN/OG

5045

Left Front Discriminating Sensor Low Reference

R

TN/OG

5045

Left Front Discriminating Sensor Low Reference

S

GY/BK

6435

CAN Bus Low Serial Data (LNF)

S

GY/BK

6435

CAN Bus Low Serial Data (LNF)

C160 Engine Harness to the Fuel Injector Jumper Harness (LE5)


Object Number: 646400  Size: CH

Object Number: 684916  Size: CH

Connector Part Information

  • OEM: 15326835
  • Service: 88986452
  • Description: 8-Way F GT 150 Series Sealed 4.0 (BK)

Connector Part Information

  • OEM: 15326840
  • Service: See Catalog
  • Description: 8-Way M GT 150 Series Sealed 4.0 (BK)

Terminal Part Information

  • Pins: E, A, B, C, D, F, G, H
  • Terminal/Tray: 12191819/8
  • Core/Insulation Crimp: Pins: E : 2/A
  • Core/Insulation Crimp: Pins: A, B, C, D, F, G, H : E/A
  • Release Tool/Test Probe: 15315247/J-35616-2A (GY)

Terminal Part Information

  • Terminal/Tray: See Terminal Repair Kit
  • Core/Insulation Crimp: See Terminal Repair Kit
  • Release Tool/Test Probe: See Terminal Repair Kit

C160 Engine Harness to the Fuel Injector Jumper Harness (LE5)

Pin

Wire Color

Circuit No.

Function

Pin

Wire Color

Circuit No.

Function

A

TN

1744

Fuel Injector 1 Control

A

BK

1744

Fuel Injector 1 Control

B

L-GN/BK

1745

Fuel Injector 2 Control

B

L-GN/BK

1745

Fuel Injector 2 Control

C

PK/BK

1746

Fuel Injector 3 Control

C

PK/BK

1746

Fuel Injector 3 Control

D

BU/BK

844

Fuel Injector 4 Control

D

BU/BK

844

Fuel Injector 4 Control

E

PK/BK

5292

Ignition 1 Voltage

E

PK

139

Ignition 1 Voltage

F

OG/BK

469

Low Reference

F

OG/BK

469

Low Reference

G

L-GN

432

MAP Sensor Signal

G

L-GN

432

MAP Sensor Signal

H

GY

2704

5-Volt Reference

H

GY

2704

5-Volt Reference

C162 Engine Harness to the Fuel Injector Jumper Harness (LNF)


Object Number: 1825165  Size: CH

Object Number: 1825167  Size: CH

Connector Part Information

  • OEM: 33472-1216
  • Service: See Catalog
  • Description: 12-Way F

Connector Part Information

  • OEM: 33482-1206
  • Service: See Catalog
  • Description: 12-Way M

Terminal Part Information

  • Pins: See Terminal Repair Kit
  • Terminal/Tray: See Terminal Repair Kit
  • Core/Insulation Crimp: See Terminal Repair Kit
  • Release Tool/Test Probe: See Terminal Repair Kit

Terminal Part Information

  • Terminal/Tray: See Terminal Repair Kit
  • Core/Insulation Crimp: See Terminal Repair Kit
  • Release Tool/Test Probe: See Terminal Repair Kit

C162 Engine Harness to the Fuel Injector Jumper Harness (LNF)

Pin

Wire Color

Circuit No.

Function

Pin

Wire Color

Circuit No.

Function

1

BN

4801

Direct Fuel Injector (DFI) High Voltage Control Cylinder 1

1

BN

4801

Direct Fuel Injector (DFI) High Voltage Control Cylinder 1

2

D-BU

4802

Direct Fuel Injector (DFI) High Voltage Control Cylinder 2

2

BN

4802

Direct Fuel Injector (DFI) High Voltage Control Cylinder 2

3

D-GN

4803

Direct Fuel Injector (DFI) High Voltage Control Cylinder 3

3

BN

4803

Direct Fuel Injector (DFI) High Voltage Control Cylinder 3

4

L-BU

4804

Direct Fuel Injector (DFI) High Voltage Control Cylinder 4

4

BN

4804

Direct Fuel Injector (DFI) High Voltage Control Cylinder 4

5

TN

808

Low Reference

5

GN

808

Low Reference

6

--

--

Not Used

6

--

--

Not Used

7

BN/WH

4901

Direct Fuel Injector (DFI) High Voltage Supply Cylinder 1

7

BN

4901

Direct Fuel Injector (DFI) High Voltage Supply Cylinder 1

8

D-BU/Wh

4902

Direct Fuel Injector (DFI) High Voltage Supply Cylinder 2

8

BN

4902

Direct Fuel Injector (DFI) High Voltage Supply Cylinder 2

9

D-GN/WH

4903

Direct Fuel Injector (DFI) High Voltage Supply Cylinder 3

9

BN

4903

Direct Fuel Injector (DFI) High Voltage Supply Cylinder 3

10

L-BU/WH

4904

Direct Fuel Injector (DFI) High Voltage Supply Cylinder 4

10

BN

4904

Direct Fuel Injector (DFI) High Voltage Supply Cylinder 4

11

GY

598

5-Volt Reference 1

11

GN

598

5-Volt Reference 1

12

YE

2918

FRP Sensor Signal

12

GN

2918

FRP Sensor Signal

C207 Console Harness to I/P Body Harness (M82)


Object Number: 1626593  Size: CH

Object Number: 1626595  Size: CH

Connector Part Information

  • OEM: E-3581-001
  • Service: 88988795
  • Description: 12-Way F

Connector Part Information

  • OEM: E-3584-003
  • Service: 88988763
  • Description: 12-Way M

Terminal Part Information

  • Terminal/Tray: 7116-4100-08/9
  • Core/Insulation Crimp: E/C
  • Release Tool/Test Probe: 12094430/J-35616-2A (GY)

Terminal Part Information

  • Terminal/Tray: 7114-4100-08/9
  • Core/Insulation Crimp: E/C
  • Release Tool/Test Probe: 15315247/J-35616-3 (GY)

C207 Console Harness to the I/P Body Harness (M82)

Pin

Wire Color

Circuit No.

Function

Pin

Wire Color

Circuit No.

Function

1

L-GN/WH

5984

PRNDL D Signal

1

L-GN/WH

5984

PRNDL D Signal

2

OG/BK

5983

PRNDL C Signal

2

OG/BK

5983

PRNDL C Signal

3

PK/BK

5982

PRNDL B Signal

3

PK/BK

5982

PRNDL B Signal

4

PU/WH

5981

PRNDL A Signal

4

PU/WH

5981

PRNDL A Signal

5

GY

8

Instrument Panel Lamp Supply Voltage

5

GY

8

Instrument Panel Lamp Supply Voltage

6

BN

4

Accessory Voltage

6

BN

4

Accessory Voltage

7

D-GN/WH

1135

A/T Shift Lock Control Solenoid Supply Voltage

7

D-GN/WH

1135

A/T Shift Lock Control Solenoid Supply Voltage

8

BK/WH

651

Ground

8

BK/WH

651

Ground

9

BK

550

Ground

9

BK

550

Ground

10

D-GN/WH

1932

Ignition Lock Cylinder Control Actuator Signal

10

D-GN/WH

1932

Ignition Lock Cylinder Control Actuator Signal

11-12

--

--

Not Used

11-12

--

--

Not Used

C208 SIR I/P Module Harness to the I/P Body Harness


Object Number: 594473  Size: CH

Object Number: 684931  Size: CH

Connector Part Information

  • OEM: 15336479
  • Service: 88988600
  • Description: 4-Way F Metri-Pack 280 (YE)

Connector Part Information

  • OEM: 15336476
  • Service: 15306363
  • Description: 4-Way M Metri-Pack 280 Series (YE)

Terminal Part Information

  • Terminal/Tray: See Terminal Repair Kit
  • Core/Insulation Crimp:See Terminal Repair Kit
  • Release Tool/Test Probe: See Terminal Repair Kit

Terminal Part Information

  • Terminal/Tray: 12034047/2
  • Core/Insulation Crimp: E/A
  • Release Tool/Test Probe: 12094430/J-35616-5 (PU)

C208 SIR I/P Module Harness to the I/P Body Harness

Pin

Wire Color

Circuit No.

Function

Pin

Wire Color

Circuit No.

Function

A1

OG

3024

I/P Module - Stage 1 - Low Control

A1

PK/BK

3024

I/P Module - Stage 1 - Low Control

A2

YE

3025

I/P Module - Stage 1 - High Control

A2

YE

3025

I/P Module - Stage 1 - High Control

B1

PU

3026

I/P Module - Stage 2 - Low Control

B1

L-GN/RD

3026

I/P Module - Stage 2 - Low Control

B2

GY

3027

I/P Module - Stage 2 - High Control

B2

RD/WH

3027

I/P Module - Stage 2 - High Control

C216 I/P Body Harness to the HVAC Harness


Object Number: 1567051  Size: CH

Object Number: 1567089  Size: CH

Connector Part Information

  • OEM: 6098-4787
  • Service: See Catalog
  • Description: 8-Way F 2.8 Series (NA)

Connector Part Information

  • OEM: 6098-4905
  • Service: 88988651
  • Description: 8-Way M 2.8 Series (NA)

Terminal Part Information

  • Pins: 1-6
  • Terminal/Tray: See Terminal Repair Kit
  • Core/Insulation Crimp: Pins: See Terminal Repair Kit
  • Release Tool/Test Probe: See Terminal Repair Kit

Terminal Part Information

  • Pins: 1-6
  • Terminal/Tray: See Terminal Repair Kit
  • Core/Insulation Crimp: See Terminal Repair Kit
  • Release Tool/Test Probe: See Terminal Repair Kit

C216 I/P Body Harness to the HVAC Harness

Pin

Wire Color

Circuit No.

Function

Pin

Wire Color

Circuit No.

Function

1

YE

60

Blower Motor Low Control

1

YE

60

Blower Motor Low Control

2

TN

63

Blower Motor Medium 1 Control

2

TN

63

Blower Motor Medium 1 Control

3

L-BU

72

Medium 2 Blower Motor Control

3

L-BU

72

Medium 2 Blower Motor Control

4

OG

52

Blower Motor High Control

4

OG

52

Blower Motor High Control

5

BN

141

Ignition 3 Voltage

5

BN

141

Ignition 3 Voltage

6

BK

550

Ground

6

BK

2050

Ground

7-8

--

--

Not Used

7-8

--

--

Not Used

C218 I/P Body Harness to the HVAC Harness


Object Number: 1566808  Size: CH

Object Number: 1566801  Size: CH

Connector Part Information

  • OEM: 15193800
  • Service: 15193800
  • Description: 12-Way F (NA)

Connector Part Information

  • OEM: 6098-4900
  • Service: 15193797
  • Description: 12-Way M (NA)

Terminal Part Information

  • Pins: 2-5, 8-11
  • Terminal/Tray: 12191812/19
  • Core/Insulation Crimp: E/C
  • Release Tool/Test Probe: 15315247/J-35616-2A (GY)
  • Pins: 1, 6, 7, 12
  • Terminal/Tray: 15304711/8
  • Core/Insulation Crimp: E/A
  • Release Tool/Test Probe: 15315247/J-35616-4A (PU)

Terminal Part Information

  • Terminal/Tray: See Terminal Repair Kit
  • Core/Insulation Crimp: See Terminal Repair Kit
  • Release Tool/Test Probe: See Terminal Repair Kit

C218 I/P Body Harness to the HVAC Harness

Pin

Wire Color

Circuit No.

Function

Pin

Wire Color

Circuit No.

Function

1

TN/BK

2274

Recirculation Door Control Circuit

1

L-GN

2274

Recirculation Door Control Circuit

2

D-GN

1614

Recirculation Door Control

2

L-BU

1614

Recirculation Door Control

3

D-BU

1646

Auxiliary Air Temperature Door Position Signal

3

D-BU

1646

Auxiliary Air Temperature Door Position Signal

4

L-GN

2275

Mode Door Position Signal

4

L-GN

2275

Mode Door Position Signal

5

L-GN/BK

1647

Recirculation Door Control B

5

TN/BK

1647

Recirculation Door Control B

6

L-BU/BK

1688

5-Volt Reference

6

L-BU/BK

1688

5-Volt Reference

7

L-GN/BK

2276

Defrost Door Position Signal

7

L-GN/BK

2276

Defrost Door Position Signal

8

TN

2273

Mode Door Control

8

TN

2273

Mode Door Control

9

D-BU

1199

Air Temperature Door Control

9

D-BU

1199

Air Temperature Door Control

10

L-BU

733

Air Temperature Door Position Signal

10

L-BU

733

Air Temperature Door Position Signal

11

GY

6137

EVAP Core Temperature Sensor Signal

11

GY

6137

EVAP Core Temperature Sensor Signal (C60)

12

YE

1791

Low Reference

12

YE

1791

Low Reference

C316 I/P Body Harness to the Passenger Seat Harness


Object Number: 646374  Size: CH

Object Number: 715111  Size: CH

Connector Part Information

  • OEM: 15332145
  • Service: 15306407
  • Description: 8-Way F GT 150 Series (BK)

Connector Part Information

  • OEM: 15332150
  • Service: 88986250
  • Description: 8-Way M GT 150 Series (BK)

Terminal Part Information

  • Pins: A, C, D, E, F, G, H
  • Terminal/Tray: 12191812/19
  • Core/Insulation Crimp: E/C
  • Release Tool/Test Probe: 15315247/J-35616-2A (GY)

Terminal Part Information

  • Pins: A, C, D, E, F, G, H
  • Terminal/Tray: See Terminal Repair Kit
  • Core/Insulation Crimp: See Terminal Repair Kit
  • Release Tool/Test Probe: See Terminal Repair Kit

C316 I/P Body Harness to the Passenger Seat Harness

Pin

Wire Color

Circuit No.

Function

Pin

Wire Color

Circuit No.

Function

A

OG

1362

Seat Belt Switch - Right - Signal

A

OG

1362

Seat Belt Switch - Right - Signal

B

--

--

Not Used

B

--

--

Not Used

C

PK

5057

Low Reference

C

PK

5057

Low Reference

D

PK

353

I/P Module Suppression Indicator Control

D

PK

353

I/P Module Suppression Indicator Control

E

TN/BK

723

I/P Module Disable Switch - Signal

E

TN/BK

723

I/P Module Disable Switch - Signal

F

PK

1339

Ignition 1 Voltage

F

PK

1339

Ignition 1 Voltage

G

PK

5018

Occupant Sensor Serial Data

G

PK

5018

Occupant Sensor Serial Data

H

BK/WH

351

Ground

H

BK/WH

351

Ground

C317 I/P Body Harness to the Driver Seat Harness (w/o AF2)


Object Number: 1243663  Size: CH

Object Number: 1391783  Size: CH

Connector Part Information

  • OEM: 15332132
  • Service: 88953364
  • Description: 3-Way F GT 150 Series (BK)

Connector Part Information

  • OEM: 15332133
  • Service: 88987881
  • Description: 3-Way M GT 150 Series (BK)

Terminal Part Information

  • Terminal/Tray: See Terminal Repair Kit
  • Core/Insulation Crimp: See Terminal Repair Kit
  • Release Tool/Test Probe: See Terminal Repair Kit

Terminal Part Information

  • Terminal/Tray: See Terminal Repair Kit
  • Core/Insulation Crimp: See Terminal Repair Kit
  • Release Tool/Test Probe: See Terminal Repair Kit

C317 I/P Body Harness to the Driver Seat Harness (w/o AF2)

Pin

Wire Color

Circuit No.

Function

Pin

Wire Color

Circuit No.

Function

A

TN/WH

238

Seat Belt Switch Signal

A

TN/WH

238

Seat Belt Switch Signal

B

--

--

Not Used

B

--

--

Not Used

C

PK

5057

Low Reference

C

PK

5057

Low Reference

C317 I/P Body Harness to the Driver Seat Harness (AF2)


Object Number: 698669  Size: CH

Object Number: 698671  Size: CH

Connector Part Information

  • OEM: 15326886
  • Service: See Catalog
  • Description: 4-Way F GT280 (BK)

Connector Part Information

  • OEM: 15326890
  • Service: See Catalog
  • Description: 4-Way M GT280 (BK)

Terminal Part Information

  • Terminal/Tray: See Terminal Repair Kit
  • Core/Insulation Crimp: See Terminal Repair Kit
  • Release Tool/Test Probe: See Terminal Repair Kit

Terminal Part Information

  • Terminal/Tray: See Terminal Repair Kit
  • Core/Insulation Crimp: See Terminal Repair Kit
  • Release Tool/Test Probe: See Terminal Repair Kit

C317 I/P Body Harness to the Driver Seat Harness (AF2)

Pin

Wire Color

Circuit No.

Function

Pin

Wire Color

Circuit No.

Function

A

TN/WH

238

Driver Seat Belt Switch Signal

A

TN/WH

238

Driver Seat Belt Switch Signal

B

PK

5057

Seat Position Switch Low Reference

B

PK

5057

Seat Position Switch Low Reference

C

RD/BK

642

Battery Positive Voltage

C

PK

5057

Battery Positive Voltage

D

BK

550

Ground

D

BK

550

Ground

C400 I/P Body Harness to the Rear Lamp Harness


Object Number: 1593391  Size: CH

Object Number: 1701011  Size: CH

Connector Part Information

  • OEM: E-3166-000
  • Service: 88988062
  • Description: 4-Way F (NA)

Connector Part Information

  • OEM: E-5345-002
  • Service: 88988064
  • Description: 4-Way M 1.5 Series (BK)

Terminal Part Information

  • Pins: 2, 4
  • Terminal/Tray: 7116-4102-08/9
  • Core/Insulation Crimp: E/1
  • Release Tool/Test Probe: 12094430/J-35616-2A (GY)
  • Pins: 1, 3
  • Terminal/Tray: 7116-4103-08/9
  • Core/Insulation Crimp: E/1
  • Release Tool/Test Probe: 12094430/J-35616-2A (GY)

Terminal Part Information

  • Pins: 2, 3, 4
  • Terminal/Tray: 7114-4102-08/9
  • Core/Insulation Crimp: E/1
  • Release Tool/Test Probe: 12094430/J-35616-3 (GY)
  • Pins: 1
  • Terminal/Tray: 7114-4103-08/9
  • Core/Insulation Crimp: E/1
  • Release Tool/Test Probe: 12094430/J-35616-3 (GY)

C400 I/P Body Harness to the Rear Lamp Harness

Pin

Wire Color

Circuit No.

Function

Pin

Wire Color

Circuit No.

Function

1

BK

750

Ground

1

BK

750

Ground

2

BN

9

Tail/License Park Lamps Supply Voltage

2

BN

9

Tail/License Park Lamps Supply Voltage

3

L-GN

24

Backup Lamp Supply Voltage

3

L-GN

24

Backup Lamp Supply Voltage

4

L-BU

20

Stop Lamp Supply Voltage

4

L-BU

20

Stop Lamp Supply Voltage

C401 I/P Body Harness to Digital Radio Receiver (U2K)


Object Number: 556473  Size: CH

Object Number: 542307  Size: CH

Connector Part Information

  • OEM: 15326924
  • Service: 15306174
  • Description: 8-Way F GT 280 (BK)

Connector Part Information

  • OEM: 15326928
  • Service: 88988064
  • Description: 8-Way M GT 280 (BK)

Terminal Part Information

  • Pins: A-G
  • Terminal/Tray: 15304711/8
  • Core/Insulation Crimp: E/A
  • Release Tool/Test Probe: 15315247/J-35616-4A (PU)

Terminal Part Information

  • Terminal/Tray: See Terminal Repair Kit
  • Core/Insulation Crimp: See Terminal Repair Kit
  • Release Tool/Test Probe: See Terminal Repair Kit

C401 I/P Body Harness to Digital Radio Receiver (U2K)

Pin

Wire Color

Circuit No.

Function

Pin

Wire Color

Circuit No.

Function

A

BN/WH

367

Left Audio Signal (+) (UQ3)

A

BN/WH

367

Left Audio Signal (+)

B

D-GN/WH

368

Right Audio Signal (+) (UQ3)

B

D-GN/WH

368

Right Audio Signal (+)

C

L-GN/RD

5060

Low Speed GM LAN Serial Data

C

D-GN

5060

Low Speed GM LAN Serial Data

D

BK/WH

551

Ground

D

BK/WH

551

Ground

E

TN/WH

372

Audio Common (UQ3)

E

TN/WH

372

Audio Common

F

BK

814

Drain

F

BK

814

Drain

G

RD/WH

1340

Battery Positive Voltage

G

RD/WH

1340

Battery Positive Voltage

H

--

--

Not Used

H

--

--

Not Used

C406 I/P Body Harness to Chassis Harness


Object Number: 1552599  Size: CH

Object Number: 1592584  Size: CH

Connector Part Information

  • OEM: E-5225-001
  • Service: 88988066
  • Description: 8-Way F Sealed (BK)

Connector Part Information

  • OEM: E-5222-003
  • Service: 88988067
  • Description: 8-Way M (BU)

Terminal Part Information

  • Pins: 1-3, 6-8
  • Terminal/Tray: 7116-4102-08/9
  • Core/Insulation Crimp: E/1
  • Release Tool/Test Probe: 12094430/J-35616-2A (GY)
  • Pins: 4
  • Terminal/Tray: 7116-4103-08/9
  • Core/Insulation Crimp: E/1
  • Release Tool/Test Probe: 12094430/J-35616-2A (GY)

Terminal Part Information

  • Pins: 1-3, 6-8
  • Terminal/Tray: 7114-4102-08/9
  • Core/Insulation Crimp: E/1
  • Release Tool/Test Probe: 12094430/J-35616-3 (GY)
  • Pins: 4
  • Terminal/Tray: 7114-4103-08/9
  • Core/Insulation Crimp: E/1
  • Release Tool/Test Probe: 12094430/J-35616-3 (GY)

C406 I/P Body Harness to Chassis Harness

Pin

Wire Color

Circuit No.

Function

Pin

Wire Color

Circuit No.

Function

1

RD/WH

140

Battery Positive Voltage

1

RD/WH

140

Battery Positive Voltage

2

WH

1310

EVAP Canister Vent Solenoid Control

2

WH

1310

EVAP Canister Vent Solenoid Control

3

PU

1589

Fuel Level Sensor Signal

3

PU

1589

Fuel Level Sensor Signal

4

GY

120

Fuel Pump Supply Voltage

4

GY

120

Fuel Pump Supply Voltage

5

--

--

Not Used

5

--

--

Not Used

6

TN

2759

Low Reference

6

TN

2759

Low Reference

7

D-GN

890

Fuel Tank Pressure Sensor Signal

7

D-GN

890

Fuel Tank Pressure Sensor Signal

8

GY

2709

5-Volt Reference 1

8

GY

2709

5-Volt Reference 1

C408 Chassis Harness to I/P Body Harness


Object Number: 1552599  Size: CH

Object Number: 1592584  Size: CH

Connector Part Information

  • OEM: E-5225-001
  • Service: 88988066
  • Description: 8-Way F Sealed (BK)

Connector Part Information

  • OEM: E-5222-003
  • Service: 88988067
  • Description: 8-Way M (BU)

Terminal Part Information

  • Pins: 1-5
  • Terminal/Tray: 7116-4103-08/9
  • Core/Insulation Crimp: E/1
  • Release Tool/Test Probe: 12094430/J-35616-2A (GY)

Terminal Part Information

  • Pins: 2-6, 8
  • Terminal/Tray: 7114-4102-08/9
  • Core/Insulation Crimp: E/1
  • Release Tool/Test Probe: 12094430/J-35616-3 (GY)
  • Pins: 1, 7
  • Terminal/Tray: 7114-4103-08/9
  • Core/Insulation Crimp: E/1
  • Release Tool/Test Probe: 12094430/J-35616-3 (GY)

C408 Chassis Harness to I/P Body Harness

Pin

Wire Color

Circuit No.

Function

Pin

Wire Color

Circuit No.

Function

1

BK

750

Ground

1

BK

750

Ground

2

TN

884

Left Rear Wheel Speed Sensor Signal (JL9)

2

TN

884

Left Rear Wheel Speed Sensor Signal (JL9)

3

OG

885

Left Rear Wheel Speed Sensor Low Reference (JL9)

3

OG

885

Left Rear Wheel Speed Sensor Low Reference (JL9)

4

BN

882

Right Rear Wheel Speed Sensor Signal (JL9)

4

BN

882

Right Rear Wheel Speed Sensor Signal (JL9)

5

WH

883

Right Rear Wheel Speed Sensor Low Reference (JL9)

5

WH

883

Right Rear Wheel Speed Sensor Low Reference (JL9)

6

YE

18

Left Rear Stop/Turn Lamp Supply Voltage

6

YE

18

Left Rear Stop/Turn Lamp Supply Voltage

7

BN

9

Tail/License Lamps Supply Voltage

7

BN

9

Tail/License Lamps Supply Voltage

8

D-GN

19

Right Rear Stop/Turn Lamp Supply Voltage

8

D-GN

19

Right Rear Stop/Turn Lamp Supply Voltage

C500 Driver Door Harness to the I/P Body Harness


Object Number: 632344  Size: CH

Object Number: 632342  Size: CH

Connector Part Information

  • OEM: 15326842
  • Service: See Catalog
  • Description: 10-Way F 150 Sealed (BK)

Connector Part Information

  • OEM: 15326847
  • Service: See Catalog
  • Description: 10-Way M 150 Sealed (BK)

Terminal Part Information

  • Pins: A, B, C, D, E, F, G, H, J, K
  • Terminal/Tray: 12191819/8
  • Core/Insulation Crimp: Pins: A, B : 2/A
  • Core/Insulation Crimp: Pins: C, D, E, F, G, H, J, K : E/A
  • Release Tool/Test Probe: 15315247/J-35616-2A (GY)

Terminal Part Information

  • Pins: A, B, C, D, E, F, G, H, J, K
  • Terminal/Tray: 15326269/19
  • Core/Insulation Crimp: Pins: A, B : E/1
  • Core/Insulation Crimp: Pins: C, D, E, F, G, H, J, K : E/4
  • Release Tool/Test Probe: 15315247/J-35616-3 (GY)

C500 Driver Door Harness to the I/P Body Harness

Pin

Wire Color

Circuit No.

Function

Pin

Wire Color

Circuit No.

Function

A

GY

118

Left Front Speaker Output (-)

A

GY

118

Left Front Speaker Output (-)

B

TN

201

Left Front Speaker Output (+)

B

TN

201

Left Front Speaker Output (+)

C

GY

295

Door Lock Actuator Lock Control (AU3)

C

GY

295

Door Lock Actuator Lock Control (AU3)

D

TN

694

Driver Door Lock Actuator Unlock Control (AU3/AU0)

D

TN

694

Driver Door Lock Actuator Unlock Control (AU3/AU0)

D

BK

550

Ground (w/o AU3)

D

BK

550

Ground (w/o AU3)

E

GY

8

Instrument Panel Lamp Supply Voltage (D48)

E

GY

8

Instrument Panel Lamp Supply Voltage (D48)

F

GY

90

Passenger Mirror Motor Left Control (D48)

F

GY

90

Passenger Mirror Motor Left Control (D48)

G

BN/WH

1498

Passenger Mirror Motor Left/Down Control

G

BN/WH

1498

Passenger Mirror Motor Left/Down Control

H

TN/WH

330

Right Mirror Motor Supply Voltage (D48)

H

TN/WH

330

Right Mirror Motor Supply Voltage (D48)

J

RD/WH

440

Battery Positive Voltage (D48)

J

RD/WH

440

Battery Positive Voltage (D48)

K

GY/BK

745

Left Front Door Ajar Switch Signal

K

GY/BK

745

Left Front Door Ajar Switch Signal

C501 Driver Door Harness to the I/P Body Harness (A31)


Object Number: 646372  Size: CH

Object Number: 847234  Size: CH

Connector Part Information

  • OEM: 15326654
  • Service: 88986254
  • Description: 8-Way F GT 280 Series Sealed 5.8 (BK)

Connector Part Information

  • OEM: 15326655
  • Service: 15306424
  • Description: 8-Way M GT 280 Series Sealed 5.8 (BK)

Terminal Part Information

  • Pins: A, B, C
  • Terminal/Tray: 15304720/19
  • Core/Insulation Crimp: 4/5
  • Release Tool/Test Probe: 15315247/J-35616-4A (PU)
  • Pins: D
  • Terminal/Tray: See Terminal Repair Kit
  • Core/Insulation Crimp: See Terminal Repair Kit
  • Release Tool/Test Probe: See Terminal Repair Kit

Terminal Part Information

  • Pins: A, B, C, D
  • Terminal/Tray: 15304732/8
  • Core/Insulation Crimp: A/5
  • Release Tool/Test Probe: 15315247/J-35616-5 (PU)

C501 Driver Door Harness to the I/P Body Harness (A31)

Pin

Wire Color

Circuit No.

Function

Pin

Wire Color

Circuit No.

Function

A

L-BU

166

Power Window Master Switch Right Front Up Signal

A

L-BU

166

Power Window Master Switch Right Front Up Signal

B

BK

550

Ground

B

BK

550

Ground

C

D-GN

801

Retained Accessory Power Fuse Supply Voltage

C

D-GN

801

Retained Accessory Power Fuse Supply Voltage

D

TN

167

Power Window Master Switch Right Front Down Signal

D

TN

167

Power Window Master Switch Right Front Down Signal

E-H

--

--

Not Used

E-H

--

--

Not Used

C505 Driver Door Harness to the Power Mirror Harness


Object Number: 646384  Size: CH

Object Number: 646388  Size: CH

Connector Part Information

  • OEM: 15332153
  • Service: 88986440
  • Description: 10-Way F GT 150 (BK)

Connector Part Information

  • OEM: 15332158
  • Service: 88953270
  • Description: 10-Way M GT 150 (BK)

Terminal Part Information

  • Terminal/Tray: See Terminal Repair Kit
  • Core/Insulation Crimp: See Terminal Repair Kit
  • Release Tool/Test Probe: See Terminal Repair Kit

Terminal Part Information

  • Terminal/Tray: See Terminal Repair Kit
  • Core/Insulation Crimp: See Terminal Repair Kit
  • Release Tool/Test Probe: See Terminal Repair Kit

C505 Driver Door Harness to the Power Mirror Harness

Pin

Wire Color

Circuit No.

Function

Pin

Wire Color

Circuit No.

Function

A

--

--

Not Used

A

--

--

Not Used

B

BK

550

Ground

B

BK

550

Ground

C

TN/WH

330

Passenger Mirror Motor Supply Control

C

TN/WH

330

Passenger Mirror Motor Supply Control

D

WH

81

Driver Mirror Motor Left Control

D

TN

81

Driver Mirror Motor Left Control

E

GY

8

Instrument Panel Lamp Supply Voltage

E

GY

8

Instrument Panel Lamp Supply Voltage

F

L-GN

89

Driver Mirror Motor Up Control

F

L-GN

89

Driver Mirror Motor Up Control

G

RD/WH

440

Battery Positive Voltage

G

RD/WH

440

Battery Positive Voltage

H

TN

329

Driver Mirror Motor Supply Voltage

H

TN

329

Driver Mirror Motor Supply Voltage

J

OR/WH

881

Passenger Mirror Motor Left Control

J

OR/WH

881

Passenger Mirror Motor Left Control

K

PU/WH

889

Passenger Mirror Motor Up Control

K

PU/WH

889

Passenger Mirror Motor Up Control

C600 Passenger Door Harness to the I/P Body Harness


Object Number: 655811  Size: CH

Object Number: 655813  Size: CH

Connector Part Information

  • OEM: 15326084
  • Service: 15306348
  • Description: 16-Way F GT 150 280 Series Sealed 4.0 5.8 (BK)

Connector Part Information

  • OEM: 15326085
  • Service: 15306122
  • Description: 16-Way M GT 150 280 Series Sealed 4.0 5.8 (BK)

Terminal Part Information

  • Pins: B, C, D, E, F, G, K, L, N, P
  • Terminal/Tray: 12191819/8
  • Core/Insulation Crimp: Pins: B, C : 2/A
  • Core/Insulation Crimp: Pins: D, E, F, G, K, L, N, P : E/A
  • Release Tool/Test Probe: 15315247/J-35616-2A (GY)
  • Pins: A, J, S
  • Terminal/Tray: 15304720/19
  • Core/Insulation Crimp: 4/5
  • Release Tool/Test Probe: 15315247/J-35616-4A (PU)

Terminal Part Information

  • Pins: A, J, S
  • Terminal/Tray: 15304732/8
  • Core/Insulation Crimp: A/5
  • Release Tool/Test Probe: 15315247/J-35616-5 (PU)
  • Pins: B, C, D, E, F, G, K, L, N, P
  • Terminal/Tray: 15326269/19
  • Core/Insulation Crimp: Pins: B, C : E/1
  • Core/Insulation Crimp: Pins: D, E, F, G, K, L, N, P : E/4
  • Release Tool/Test Probe: 15315247/J-35616-3 (GY)

C600 Passenger Door Harness to the I/P Body Harness

Pin

Wire Color

Circuit No.

Function

Pin

Wire Color

Circuit No.

Function

A

L-BU

166

Power Window Master Switch Right Front Up Signal (A31)

A

L-BU

166

Power Window Master Switch Right Front Up Signal (A31)

B

D-GN

117

Right Front Speaker Output (-)

B

D-GN

117

Right Front Speaker Output (-)

C

L-GN

200

Right Front Speaker Output (+)

C

L-GN

200

Right Front Speaker Output (+)

D

TN

294

Door Lock Actuator Unlock Control (AU3/AU0)

D

TN

294

Door Lock Actuator Unlock Control (AU3/AU0)

E

GY

295

Door Lock Actuator Lock Control (AU3/AU0)

E

GY

295

Door Lock Actuator Lock Control (AU3/AU0)

F

GY

8

Instrument Panel Lamp Supply Voltage (D48)

F

GY

8

Instrument Panel Lamp Supply Voltage (D48)

G

GY

90

Passenger Mirror Motor Left Control (D48)

G

GY

90

Passenger Mirror Motor Left Control (D48)

H

--

--

Not Used

H

--

--

Not Used

J

D-GN

801

Retained Accessory Power Fuse Supply Voltage

J

D-GN

801

Retained Accessory Power Fuse Supply Voltage

K

BN/WH

1498

Passenger Mirror Motor Left/Down Control (D48)

K

BN/WH

1498

Passenger Mirror Motor Left/Down Control (D48)

L

TN/WH

330

Passenger Mirror Motor Supply Voltage (D48)

L

TN/WH

330

Passenger Mirror Motor Supply Voltage (D48)

M

--

--

Not Used

M

--

--

Not Used

N

TN/WH

746

Right Front Door Ajar Switch Signal

N

TN/WH

746

Right Front Door Ajar Switch Signal

P

BK

550

Ground

P

BK

550

Ground

R

--

--

Not Used

R

--

--

Not Used

S

TN

167

Power Window Master Switch Right Front Down Signal (A31)

S

TN

167

Power Window Master Switch Right Front Down Signal (A31)

Connector 1: X100 Engine Harness to the I/P Body Harness
Connector 2: X102 Right Front Fog/Turn Lamp Jumper Harness to the Forward Lamp Harness
Connector 3: X103 Left Front Fog/Turn Lamp Jumper Harness to the Forward Lamp Harness
Connector 4: X110 Forward Lamp Harness to Left Headlamp Assembly Harness
Connector 5: X111 Forward Lamp Harness to Right Headlamp Assembly Harness
Connector 6: X120 I/P Body Harness to the Forward Lamp Harness
Connector 7: X162 Engine Harness to the Fuel Injector Jumper Harness (LNF)
Connector 8: C207 I/P Body Harness to the Console Harness
Connector 9: X208 SIR I/P Module Harness to the I/P Body Harness
Connector 10: X216 I/P Body Harness to the HVAC Harness
Connector 11: X218 I/P Body Harness to the HVAC Harness
Connector 12: X316 I/P Body Harness to the Passenger Seat Harness
Connector 13: X317 I/P Body Harness to the Driver Seat Harness (w/o AF2)
Connector 14: X317 I/P Body Harness to the Driver Seat Harness (AF2)
Connector 15: X400 I/P Body Harness to the Rear Lamp Harness
Connector 16: X405 Rear Chassis Harness to Left Rear Lamp Assembly Harness
Connector 17: X406 I/P Body Harness to Chassis Harness
Connector 18: X407 Rear Chassis Harness to Right Rear Lamp Assembly Harness
Connector 19: X408 Chassis Harness to I/P Body Harness
Connector 20: X409 Chassis Harness to I/P Body Harness
Connector 21: X500 Driver Door Harness to the I/P Body Harness
Connector 22: X501 Driver Door Harness to the I/P Body Harness (A31)
Connector 23: X505 Driver Door Harness to Power Mirror Switch Harness
Connector 24: X600 Passenger Door Harness to the I/P Body Harness

X100 Engine Harness to the I/P Body Harness


Object Number: 646433  Size: CH

Object Number: 655777  Size: CH

Connector Part Information

  • OEM: 15336418
  • Service: See Catalog
  • Description: 40-Way F GT 150 280 Series Sealed 4.0 5.2 (BK)

Connector Part Information

  • OEM: 15317380
  • Service: See Catalog
  • Description: 40-Way F GT 150 280 Series Sealed (BK)

Terminal Part Information

  • Pins: A1-A3, A8, B1-B3, B5, B8-B12, C1-C5, D1, D6, D7
  • Terminal/Tray: 12191819/8
  • Core/Insulation Crimp: E/A
  • Release Tool/Test Probe: 15315247/J-35616-2A (GY)
  • Pins: C6, C7, B6, A4, A5, B7
  • Terminal/Tray: 15304716/8
  • Core/Insulation Crimp: Pins: C6, C7 : E/1
  • Core/Insulation Crimp: Pins: B6 : See Terminal Repair Kit
  • Core/Insulation Crimp: Pins: A4, A5, B7 : 2/1
  • Release Tool/Test Probe: 15315247/J-35616-4A (PU)

Terminal Part Information

  • Pins: A1-A5, A8, B1-B3, B5-B12, C1-C7, D1, D6, D7
  • Terminal/Tray: See Terminal Repair Kit
  • Core/Insulation Crimp: See Terminal Repair Kit
  • Release Tool/Test Probe: See Terminal Repair Kit

X100 Engine Harness to the I/P Body Harness

Pin

Wire Color

Circuit No.

Function

Pin

Wire Color

Circuit No.

Function

A1

0.5 WH

1310

EVAP Canister Vent Solenoid Control

A1

0.5 WH

1310

EVAP Canister Vent Solenoid Control

A2

0.5 RD/WH

840

Battery Positive Voltage

A2

0.5 RD/WH

840

Battery Positive Voltage

A3

0.35 TN

1274

5-Volt Reference 3

A3

0.35 TN

1274

5-Volt Reference 3

A4

1.0 PU

92

Windshield Wiper Motor High Speed

A4

1.0 PU

92

Windshield Wiper Motor High Speed

A5

1.0 D-GN

95

Windshield Washer Switch Signal

A5

1.0 D-GN

95

Windshield Washer Switch Signal

A6-A7

--

--

Not Used

A6-A7

--

--

Not Used

A8

0.35 BN

4

Accessory Voltage

A8

0.35 BN

4

Accessory Voltage

B1

0.35 BN/WH

419

MIL Control

B1

0.35 BN/WH

419

MIL Control

B2

0.5 TN/BK

2500

High Speed GMLAN Serial Data (+)

B2

0.5 TN/BK

2500

High Speed GMLAN Serial Data (+)

B3

0.5 TN

2501

High Speed GMLAN Serial Data Bus (-)

B3

0.5 TN

2501

High Speed GMLAN Serial Data Bus (-)

B4

--

--

Not Used

B4

--

--

Not Used

B5

0.5 RD/WH

840

Battery Positive Voltage

B5

0.5 RD/WH

840

Battery Positive Voltage

B6

0.35 PU

1272

Low Reference

B6

0.35 PU

1272

Low Reference

B7

1.0 BK

250

Ground

B7

1.0 BK

250

Ground

B8

0.35 L-BU

1162

APP Sensor 2 Signal

B8

0.35 L-BU

1162

APP Sensor 2 Signal

B9

0.35 WH/BK

1164

5-Volt Reference 2

B9

0.35 WH/BK

1164

5-Volt Reference 2

B10

0.35 BN

1271

Low Reference

B10

0.35 BN

1271

Low Reference

B11

0.35 D-BU

1161

APP Sensor 1 Signal

B11

0.35 D-BU

1161

APP Sensor 1 Signal

B12

0.5 TN

2759

Low Reference

B12

0.5 TN

2759

Low Reference

C1

0.5 PU

1589

Fuel Level Sensor Signal

C1

0.5 PU

1589

Fuel Level Sensor Signal

C2

0.5 D-GN

890

Fuel Tank Pressure Sensor Signal

C2

0.5 D-GN

890

Fuel Tank Pressure Sensor Signal

C3

0.5 GY

2709

5-Volt Reference 1

C3

0.5 GY

2709

5-Volt Reference 1

C4

0.5 D-GN/WH

465

Fuel Pump Relay Control

C4

0.5 D-GN/WH

465

Fuel Pump Relay Control

C5

0.5 YE

196

Windshield Wiper Motor Park Switch Signal

C5

0.5 YE

196

Windshield Wiper Motor Park Switch Signal

C6

0.5 PK/BK

5291

Ignition 1 Voltage

C6

0.5 PK/BK

5291

Ignition 1 Voltage

C7

0.5 PK

849

Brake Fluid Level Sensor Signal

C7

0.5 PK

849

Brake Fluid Level Sensor Signal

C8-C12

--

--

Not Used

C8-C12

--

--

Not Used

D1-D5

--

--

Not Used

D1-D3

--

--

Not Used

D4-D5

--

--

Not Available

D6

0.5 L-GN

1478

Coolant Level Switch Signal

D6

0.5 L-GN

1478

Coolant Level Switch Signal

D7

0.5 OG

228

Windshield Washer Pump Control

D7

0.5 OG

228

Windshield Washer Pump Control

D8

--

--

Not Used

D8

--

--

Not Used

X102 Right Front Fog/Turn Lamp Jumper Harness to the Forward Lamp Harness


Object Number: 697046  Size: CH

Object Number: 1471680  Size: CH

Connector Part Information

  • OEM: 12186568
  • Service: See Catalog
  • Description: 4-Way F Metri-Pack 150 Series Sealed (BK)

Connector Part Information

  • OEM: 12186271
  • Service: 15306054
  • Description: 4-Way M Metri-Pack 150 Series Sealed (GY)

Terminal Part Information

  • Terminal/Tray: See Terminal Repair Kit
  • Core/Insulation Crimp: See Terminal Repair Kit
  • Release Tool/Test Probe: See Terminal Repair Kit

Terminal Part Information

  • Terminal/Tray: 12045773/2
  • Core/Insulation Crimp: E/1
  • Release Tool/Test Probe: 12094429/J-35616-3 (GY)

X102 Right Front Fog/Turn Lamp Jumper Harness to the Forward Lamp Harness

Pin

Wire Color

Circuit No.

Function

Pin

Wire Color

Circuit No.

Function

A

0.5 D-BU

15

Right Turn Signal Lamp Supply Voltage

A

0.5 D-BU

15

Right Turn Signal Lamp Supply Voltage

B

--

--

Not Used

B

--

--

Not Used

C

0.8 PU

2234

Front Fog Lamp Supply Voltage

C

0.8 PU

2234

Front Fog Lamp Supply Voltage

D

0.8 BK

250

Ground

D

0.8 BK

250

Ground

X103 Left Front Fog/Turn Lamp Jumper Harness to the Forward Lamp Harness


Object Number: 697046  Size: CH

Object Number: 1471680  Size: CH

Connector Part Information

  • OEM: 12186568
  • Service: See Catalog
  • Description: 4-Way F Metri-Pack 150 Series Sealed (BK)

Connector Part Information

  • OEM: 12186271
  • Service: 15306054
  • Description: 4-Way M Metri-Pack 150 Series Sealed (GY)

Terminal Part Information

  • Terminal/Tray: See Terminal Repair Kit
  • Core/Insulation Crimp: See Terminal Repair Kit
  • Release Tool/Test Probe: See Terminal Repair Kit

Terminal Part Information

  • Terminal/Tray: 12045773/2
  • Core/Insulation Crimp: E/1
  • Release Tool/Test Probe: 12094429/J-35616-3 (GY)

X103 Left Front Fog/Turn Lamp Jumper Harness to the Forward Lamp Harness

Pin

Wire Color

Circuit No.

Function

Pin

Wire Color

Circuit No.

Function

A

0.5 L-BU

14

Left Turn Signal Lamp Supply Voltage

A

0.5 L-BU

14

Left Turn Signal Lamp Supply Voltage

B

--

--

Not Used

B

--

--

Not Used

C

0.8 PU

2234

Front Fog Lamp Supply Voltage

C

0.8 PU

2234

Front Fog Lamp Supply Voltage

D

0.8 BK

150

Ground

D

0.8 BK

150

Ground

X110 Forward Lamp Harness to Left Headlamp Assembly Harness


Object Number: 646430  Size: CH

Object Number: 1659330  Size: CH

Connector Part Information

  • OEM: 15326815
  • Service: 15306396
  • Description: 4-Way F GT 150 Series Sealed (BK)

Connector Part Information

  • OEM: 15369319
  • Service: See Catalog
  • Description: 4-Way M GT 150 Series Sealed (BK)

Terminal Part Information

  • Terminal/Tray: See Terminal Repair Kit
  • Core/Insulation Crimp: See Terminal Repair Kit
  • Release Tool/Test Probe: See Terminal Repair Kit

Terminal Part Information

  • Terminal/Tray: 12045773/2
  • Core/Insulation Crimp: E/1
  • Release Tool/Test Probe: 12094429/J-35616-3 (GY)

X110 Forward Lamp Harness to Left Headlamp Assembly Harness

Pin

Wire Color

Circuit No.

Function

Pin

Wire Color

Circuit No.

Function

A

0.8 OG/WH

711

Left Headlamp High Beam Supply Voltage

A

0.8 BK

--

Left Headlamp High Beam Supply Voltage

B

0.8 BK

150

Ground

B

0.8 BK

--

Ground

C

0.8 YE

712

Left Headlamp Low Beam Supply Voltage

C

0.8 RD

--

Left Headlamp Low Beam Supply Voltage

D

0.8 BK

150

Ground

D

0.8 BK

--

Ground

X111 Forward Lamp Harness to Right Headlamp Assembly Harness


Object Number: 646430  Size: CH

Object Number: 1659330  Size: CH

Connector Part Information

  • OEM: 15326815
  • Service: 15306396
  • Description: 4-Way F GT 150 Series Sealed (BK)

Connector Part Information

  • OEM: 15369319
  • Service: See Catalog
  • Description: 4-Way M GT 150 Series Sealed (BK)

Terminal Part Information

  • Terminal/Tray: See Terminal Repair Kit
  • Core/Insulation Crimp: See Terminal Repair Kit
  • Release Tool/Test Probe: See Terminal Repair Kit

Terminal Part Information

  • Terminal/Tray: 12045773/2
  • Core/Insulation Crimp: E/1
  • Release Tool/Test Probe: 12094429/J-35616-3 (GY)

X111 Forward Lamp Harness to Right Headlamp Assembly Harness

Pin

Wire Color

Circuit No.

Function

Pin

Wire Color

Circuit No.

Function

A

0.8 L-GN/BK

311

Right Headlamp High Beam Supply Voltage

A

0.8 BK

--

Right Headlamp High Beam Supply Voltage

B

0.8 BK

250

Ground

B

0.8 BK

--

Ground

C

0.8 TN/WH

312

Right Headlamp Low Beam Supply Voltage

C

0.8 RD

--

Right Headlamp Low Beam Supply Voltage

D

0.8 BK2

150

Ground

D

0.8 BK

--

Ground

X120 I/P Body Harness to the Forward Lamp Harness


Object Number: 655811  Size: CH

Object Number: 655813  Size: CH

Connector Part Information

  • OEM: 15326084
  • Service: 15306348
  • Description: 16-Way F GT 150 280 Series Sealed 4.0 5.8 (BK)

Connector Part Information

  • OEM: 15326085
  • Service: 15306122
  • Description: 16-Way M GT 150 280 Series Sealed 4.0 5.8 (BK)

Terminal Part Information

  • Pins: A, B, C, D, E, F, G, H, J, K, L, M, N, P, R, S
  • Terminal/Tray: 12191819/8
  • Core/Insulation Crimp: E/A
  • Release Tool/Test Probe: 15315247/J-35616-2A (GY)

Terminal Part Information

  • Pins: A, B, C, D, E, F, G, H, J, K, L, M, N, P, R, S
  • Terminal/Tray: 15326269/19
  • Core/Insulation Crimp: E/4
  • Release Tool/Test Probe: 15315247/J-35616-3 (GY)

X120 I/P Body Harness to the Forward Lamp Harness

Pin

Wire Color

Circuit No.

Function

Pin

Wire Color

Circuit No.

Function

A

0.5 PK/BK

6434

Can Bus High Serial Data

A

0.5 PK/BK

6434

Can Bus High Serial Data

B

0.5 TN

884

Left Rear Wheel Speed Sensor Signal

B

0.5 TN

884

Left Rear Wheel Speed Sensor Signal

C

0.5 OG

885

Left Rear Wheel Speed Sensor Low Reference

C

0.5 OG

885

Left Rear Wheel Speed Sensor Low Reference

D

0.5 BN

882

Right Rear Wheel Speed Sensor Signal

D

0.5 BN

882

Right Rear Wheel Speed Sensor Signal

E

0.5 WH

883

Right Rear Wheel Speed Sensor Low Reference

E

0.5 WH

883

Right Rear Wheel Speed Sensor Low Reference

F

0.5 TN/BK

2500

High Speed GMLAN Serial Data (+)

F

0.5 TN/BK

2500

High Speed GMLAN Serial Data (+)

G

0.5 TN

2501

High Speed GMLAN Serial Data (-)

G

0.5 TN

2501

High Speed GMLAN Serial Data (-)

H

0.5 D-GN

2087

Combined Vehicle Inertial Sensor Supply Voltage

H

0.5 D-GN

2087

Combined Vehicle Inertial Sensor Supply Voltage

J

0.5 L-BU

2088

Combined Vehicle Inertial Sensor Low Reference

J

0.5 L-BU

2088

Combined Vehicle Inertial Sensor Low Reference

K

0.5 TN/BK

2500

High Speed GMLAN Serial Data (+)

K

0.5 TN/BK

2500

High Speed GMLAN Serial Data (+)

L

0.5 TN

2501

High Speed GMLAN Serial Data (-)

L

0.5 TN

2501

High Speed GMLAN Serial Data (-)

M

0.5 YE/BK

2160

Front End Discriminating Sensor Signal

M

0.5 YE/BK

2160

Front End Discriminating Sensor Signal

N

0.5 GY

5600

Right Front Discriminating Sensor Low Reference

N

0.5 GY

5600

Right Front Discriminating Sensor Low Reference

P

0.5 YE

1834

Forward Discriminating Sensor Signal

P

0.5 YE

1834

Forward Discriminating Sensor Signal

R

0.5 TN/OG

5045

Left Front Discriminating Sensor Low Reference

R

0.5 TN/OG

5045

Left Front Discriminating Sensor Low Reference

S

0.5 GY/BK

6435

Can Bus Low Serial Data

S

0.5 GY/BK

6435

Can Bus Low Serial Data

X162 Engine Harness to the Fuel Injector Jumper Harness (LNF)


Object Number: 1825165  Size: CH

Object Number: 1825167  Size: CH

Connector Part Information

  • OEM: 33472-1216
  • Service: See Catalog
  • Description: 12-Way F

Connector Part Information

  • OEM: 33482-1206
  • Service: See Catalog
  • Description: 12-Way M

Terminal Part Information

  • Pins: See Terminal Repair Kit
  • Terminal/Tray: See Terminal Repair Kit
  • Core/Insulation Crimp: See Terminal Repair Kit
  • Release Tool/Test Probe: See Terminal Repair Kit

Terminal Part Information

  • Terminal/Tray: See Terminal Repair Kit
  • Core/Insulation Crimp: See Terminal Repair Kit
  • Release Tool/Test Probe: See Terminal Repair Kit

X162 Engine Harness to the Fuel Injector Jumper Harness (LNF)

Pin

Wire Color

Circuit No.

Function

Pin

Wire Color

Circuit No.

Function

1

1.0 BN

4801

Direct Fuel Injector (DFI) High Voltage Control Cylinder 1

1

1.0 BN

4801

Direct Fuel Injector (DFI) High Voltage Control Cylinder 1

2

1.0 D-BU

4802

Direct Fuel Injector (DFI) High Voltage Control Cylinder 2

2

1.0 D-BU

4802

Direct Fuel Injector (DFI) High Voltage Control Cylinder 2

3

1.0 D-GN

4803

Direct Fuel Injector (DFI) High Voltage Control Cylinder 3

3

1.0 D-GN

4803

Direct Fuel Injector (DFI) High Voltage Control Cylinder 3

4

1.0 L-BU

4804

Direct Fuel Injector (DFI) High Voltage Control Cylinder 4

4

1.0 L-BU

4804

Direct Fuel Injector (DFI) High Voltage Control Cylinder 4

5

0.5 TN

808

Low Reference

5

0.5 TN

808

Low Reference

6

--

--

Not Used

6

--

--

Not Used

7

1.0 BN/WH

4901

Direct Fuel Injector (DFI) High Voltage Supply Cylinder 1

7

1.0 BN/WH

4901

Direct Fuel Injector (DFI) High Voltage Supply Cylinder 1

8

1.0 D-BU

4902

Direct Fuel Injector (DFI) High Voltage Supply Cylinder 2

8

1.0 D-BU

4902

Direct Fuel Injector (DFI) High Voltage Supply Cylinder 2

9

1.0 D-GN/WH

4903

Direct Fuel Injector (DFI) High Voltage Supply Cylinder 3

9

1.0 D-GN/WH

4903

Direct Fuel Injector (DFI) High Voltage Supply Cylinder 3

10

1.0 L-BU/WH

4904

Direct Fuel Injector (DFI) High Voltage Supply Cylinder 4

10

1.0 L-BU/WH

4904

Direct Fuel Injector (DFI) High Voltage Supply Cylinder 4

11

0.5 GY

598

5-Volt Reference

11

0.5 GY

598

5-Volt Reference

12

0.5 YE

2918

FRP Sensor Signal

12

0.5 YE

2918

FRP Sensor Signal

C207 I/P Body Harness to the Console Harness


Object Number: 1626593  Size: CH

Object Number: 1626595  Size: CH

Connector Part Information

  • OEM: E-3581-001
  • Service: See Catalog
  • Description: 12-Way F 1.5 Series (NA)

Connector Part Information

  • OEM: E-3584-003
  • Service: 88988763
  • Description: 12-Way M 1.5 Series (NA)

Terminal Part Information

  • Terminal/Tray: 7116-4100-08/9
  • Core/Insulation Crimp: E/C
  • Release Tool/Test Probe: 12094430/J-35616-2A (GY)

Terminal Part Information

  • Terminal/Tray: 7114-4100-08/9
  • Core/Insulation Crimp: E/C
  • Release Tool/Test Probe: 15315247/J-35616-3 (GY)

C207 I/P Body Harness to the Console Harness

Pin

Wire Color

Circuit No.

Function

Pin

Wire Color

Circuit No.

Function

1

L-GN/WH

5984

PRNDL Signal D

1

L-GN/WH

5984

PRNDL Signal D

2

OG/BK

5983

PRNDL Signal C

2

OG/BK

5983

PRNDL Signal C

3

PK/BK

5982

PRNDL Signal B

3

PK/BK

5982

PRNDL Signal B

4

PU/WH

5981

PRNDL Signal A

4

PU/WH

5981

PRNDL Signal A

5

GY

8

Instrument Panel Lamp Supply Voltage

5

GY

8

Instrument Panel Lamp Supply Voltage

6

BN

4

Accessory Voltage

6

BN

4

Accessory Voltage

7

D-GN/WH

1135

A/T Shift Lock Control Solenoid Supply Voltage

7

D-GN/WH

1135

A/T Shift Lock Control Solenoid Supply Voltage

8

BK/WH

651

Ground

8

BK/WH

651

Ground

9

BN

550

Ground

9

BK

550

Ground

10

BU

1932

Ignition Lock Cylinder Control Actuator Signal

10

D-GN/WH

1932

Ignition Lock Cylinder Control Actuator Signal

11-12

--

--

Not Used

11-12

--

--

Not Used

X208 SIR I/P Module Harness to the I/P Body Harness


Object Number: 594473  Size: CH

Object Number: 684931  Size: CH

Connector Part Information

  • OEM: 15336479
  • Service: 88988600
  • Description: 4-Way F Metri-Pack 280 (YE)

Connector Part Information

  • OEM: 15336476
  • Service: 15306363
  • Description: 4-Way M Metri-Pack 280 Series (YE)

Terminal Part Information

  • Terminal/Tray: See Terminal Repair Kit
  • Core/Insulation Crimp:See Terminal Repair Kit
  • Release Tool/Test Probe: See Terminal Repair Kit

Terminal Part Information

  • Terminal/Tray: 12034047/2
  • Core/Insulation Crimp: E/A
  • Release Tool/Test Probe: 12094430/J-35616-5 (PU)

X208 SIR I/P Module Harness to the I/P Body Harness

Pin

Wire Color

Circuit No.

Function

Pin

Wire Color

Circuit No.

Function

A1

0.5 PK/BK

3024

I/P Module - Stage 1 - Low Control

A1

0.5 OG

3024

I/P Module - Stage 1 - Low Control

A2

0.5 L-BU

3025

I/P Module - Stage 1 - High Control

A2

0.5 YE

3025

I/P Module - Stage 1 - High Control

B1

0.5 L-GN/RD

3026

I/P Module - Stage 2 - Low Control

B1

0.5 PU

3026

I/P Module - Stage 2 - Low Control

B2

0.5 RD/WH

3027

I/P Module - Stage 2 - High Control

B2

0.5 GY

3027

I/P Module - Stage 2 - High Control

X216 I/P Body Harness to the HVAC Harness


Object Number: 1567051  Size: CH

Object Number: 1567089  Size: CH

Connector Part Information

  • OEM: 6098-4787
  • Service: See Catalog
  • Description: 8-Way F 2.8 Series (NA)

Connector Part Information

  • OEM: 6098-4905
  • Service: 88988651
  • Description: 8-Way M 2.8 Series (NA)

Terminal Part Information

  • Pins: 1-6
  • Terminal/Tray: See Terminal Repair Kit
  • Core/Insulation Crimp: Pins: See Terminal Repair Kit
  • Release Tool/Test Probe: See Terminal Repair Kit

Terminal Part Information

  • Pins: 1-6
  • Terminal/Tray: See Terminal Repair Kit
  • Core/Insulation Crimp: See Terminal Repair Kit
  • Release Tool/Test Probe: See Terminal Repair Kit

X216 I/P Body Harness to the HVAC Harness

Pin

Wire Color

Circuit No.

Function

Pin

Wire Color

Circuit No.

Function

1

2.0 YE

60

Blower Motor Low Control

1

2.0 YE

60

Blower Motor Low Control

2

2.0 TN

63

Blower Motor Medium 1 Control

2

2.0 TN

63

Blower Motor Medium 1 Control

3

2.0 L-BU

72

Medium 2 Blower Motor Control

3

2.0 L-BU

72

Medium 2 Blower Motor Control

4

3.0 OG

52

Blower Motor High Control

4

3.0 OG

52

Blower Motor High Control

5

3.0 BN

141

Ignition 3 Voltage

5

3.0 BN

141

Ignition 3 Voltage

6

3.0 BK

550

Ground

6

3.0 BK

2050

Ground

7-8

--

--

Not Used

7-8

--

--

Not Used

X218 I/P Body Harness to the HVAC Harness


Object Number: 1566808  Size: CH

Object Number: 1566801  Size: CH

Connector Part Information

  • OEM: 15193800
  • Service: 15193800
  • Description: 12-Way F (NA)

Connector Part Information

  • OEM: 6098-4900
  • Service: 15193797
  • Description: 12-Way M (NA)

Terminal Part Information

  • Pins: 1-12
  • Terminal/Tray: 12191812/19
  • Core/Insulation Crimp: E/C
  • Release Tool/Test Probe: 15315247/J-35616-2A (GY)

Terminal Part Information

  • Terminal/Tray: See Terminal Repair Kit
  • Core/Insulation Crimp: See Terminal Repair Kit
  • Release Tool/Test Probe: See Terminal Repair Kit

X218 I/P Body Harness to the HVAC Harness

Pin

Wire Color

Circuit No.

Function

Pin

Wire Color

Circuit No.

Function

1

0.35 TN/BK

2274

Recirculation Door Control Circuit

1

0.35 TN/BK

2274

Recirculation Door Control Circuit

2

0.35 D-GN

1614

Recirculation Door Control

2

0.35 D-GN

1614

Recirculation Door Control

3

0.35 D-BU

1646

Auxiliary Air Temperature Door Position Signal

3

0.35 D-BU

1646

Auxiliary Air Temperature Door Position Signal

4

0.35 L-GN

2275

Mode Door Position Signal

4

0.35 L-GN

2275

Mode Door Position Signal

5

0.35 L-GN/BK

1647

Recirculation Door Control™B

5

0.35 L-GN/BK

1647

Recirculation Door Control B

6

0.35 L-BU/BK

1688

5-Volt Reference

6

0.35 L-BU/BK

1688

5-Volt Reference

7

0.35 L-GN/BK

2276

Defrost Door Position Signal

7

0.35 L-GN/BK

2276

Defrost Door Position Signal

8

0.35 TN

2273

Mode Door Control

8

0.35 TN

2273

Mode Door Control

9

0.35 D-BU

1199

Air Temperature Door Control

9

0.35 D-BU

1199

Air Temperature Door Control

10

0.35 L-BU

733

Air Temperature Door Position Signal

10

0.35 L-BU

733

Air Temperature Door Position Signal

11

0.35 GY

6137

EVAP Core Temperature Sensor Signal

11

0.35 GY

6137

EVAP Core Temperature Sensor Signal

12

0.35 YE

1791

Low Reference

12

0.35 YE

1791

Low Reference

X316 I/P Body Harness to the Passenger Seat Harness


Object Number: 646374  Size: CH

Object Number: 715111  Size: CH

Connector Part Information

  • OEM: 15332145
  • Service: 15306407
  • Description: 8-Way F GT 150 Series (BK)

Connector Part Information

  • OEM: 15332150
  • Service: 88986250
  • Description: 8-Way M GT 150 Series (BK)

Terminal Part Information

  • Pins: A, C, D, E, F, G, H
  • Terminal/Tray: 12191812/19
  • Core/Insulation Crimp: E/C
  • Release Tool/Test Probe: 15315247/J-35616-2A (GY)

Terminal Part Information

  • Pins: A, C, D, E, F, G, H
  • Terminal/Tray: See Terminal Repair Kit
  • Core/Insulation Crimp: See Terminal Repair Kit
  • Release Tool/Test Probe: See Terminal Repair Kit

X316 I/P Body Harness to the Passenger Seat Harness

Pin

Wire Color

Circuit No.

Function

Pin

Wire Color

Circuit No.

Function

A

0.35 OG

1362

Seat Belt Switch - Right - Signal

A

0.35 OG

1362

Seat Belt Switch - Right - Signal

B

--

--

Not Used

B

--

--

Not Used

C

0.35 PK

5057

Low Reference

C

0.35 PK

5057

Low Reference

D

0.35 PK

353

I/P Module Suppression Indicator Control

D

0.35 PK

353

I/P Module Suppression Indicator Control

E

0.35 TN/BK

723

I/P Module Disable Switch - Signal

E

0.35 TN/BK

723

I/P Module Disable Switch - Signal

F

0.35 PK

1339

Ignition 1 Voltage

F

0.35 PK

1339

Ignition 1 Voltage

G

0.35 PK

5018

Occupant Sensor Serial Data

G

0.35 PK

5018

Occupant Sensor Serial Data

H

0.5 BK/WH

351

Ground

H

0.5 BK/WH

351

Ground

X317 I/P Body Harness to the Driver Seat Harness (w/o AF2)


Object Number: 1243663  Size: CH

Object Number: 1391783  Size: CH

Connector Part Information

  • OEM: 15332132
  • Service: 88953364
  • Description: 3-Way F GT 150 Series (BK)

Connector Part Information

  • OEM: 15332133
  • Service: 88987881
  • Description: 3-Way M GT 150 Series, Unsealed (BK)

Terminal Part Information

  • Pins: A, C
  • Terminal/Tray: See Terminal Repair Kit
  • Core/Insulation Crimp: See Terminal Repair Kit
  • Release Tool/Test Probe: See Terminal Repair Kit

Terminal Part Information

  • Pins: A, C
  • Terminal/Tray: See Terminal Repair Kit
  • Core/Insulation Crimp: See Terminal Repair Kit
  • Release Tool/Test Probe: See Terminal Repair Kit

X317 I/P Body Harness to the Driver Seat Harness (w/o AF2)

Pin

Wire Color

Circuit No.

Function

Pin

Wire Color

Circuit No.

Function

A

0.35 TN/WH

238

Seat Belt Switch Signal

A

0.35 TN/WH

238

Seat Belt Switch Signal

B

--

--

Not Used

B

--

--

Not Used

C

0.35 PK

5057

Low Reference

C

0.35 PK

5057

Low Reference

X317 I/P Body Harness to the Driver Seat Harness (AF2)


Object Number: 698669  Size: CH

Object Number: 698671  Size: CH

Connector Part Information

  • OEM: 15326886
  • Service: See Catalog
  • Description: 4-Way F GT280 (BK)

Connector Part Information

  • OEM: 15326890
  • Service: See Catalog
  • Description: 4-Way M GT280 (BK)

Terminal Part Information

  • Pins: A, C
  • Terminal/Tray: See Terminal Repair Kit
  • Core/Insulation Crimp: See Terminal Repair Kit
  • Release Tool/Test Probe: See Terminal Repair Kit

Terminal Part Information

  • Pins: A, C
  • Terminal/Tray: See Terminal Repair Kit
  • Core/Insulation Crimp: See Terminal Repair Kit
  • Release Tool/Test Probe: See Terminal Repair Kit

X317 I/P Body Harness to the Driver Seat Harness (AF2)

Pin

Wire Color

Circuit No.

Function

Pin

Wire Color

Circuit No.

Function

A

0.35 TN/WH

238

Driver Seat Belt Switch Signal

A

0.35 TN/WH

238

Driver Seat Belt Switch Signal

B

0.35 PK

5057

Seat Position Switch Low Reference

B

0.35 PK

5057

Seat Position Switch Low Reference

C

2.0 RD/BK

642

Battery Positive Voltage

C

2.0 RD/BK

5057

Battery Positive Voltage

D

2.0 BK

550

Ground

D

2.0 BK

550

Ground

X400 I/P Body Harness to the Rear Lamp Harness


Object Number: 1413059  Size: CH

Object Number: 1818971  Size: CH

Connector Part Information

  • OEM: E-5651-1
  • Service: 88988448
  • Description: 6-Way F FTS Series, Sealed (D-GY)

Connector Part Information

  • OEM: E-5655-002
  • Service: 88988064
  • Description: 6-Way MTS 090 Series, Sealed (BK)

Terminal Part Information

  • Terminal/Tray:8100-0461/6
  • Core/Insulation Crimp: E/1
  • Release Tool/Test Probe: 15315247/J-35616-2A (GY)

Terminal Part Information

  • Terminal/Tray: See Terminal Repair Kit
  • Core/Insulation Crimp: Terminal Repair Kit
  • Release Tool/Test Probe: Terminal Repair Kit

X400 I/P Body Harness to the Rear Lamp Harness

Pin

Wire Color

Circuit No.

Function

Pin

Wire Color

Circuit No.

Function

1

0.8 BK

750

Ground

1

0.8 BK

750

Ground

2

0.5 BN

9

Tail/License Park Lamps Supply Voltage

2

0.5 BN

9

Tail/License Park Lamps Supply Voltage

3

0.8 L-GN

24

Backup Lamp Supply Voltage

3

0.5 L-GN

24

Backup Lamp Supply Voltage

4

0.8 L-BU

20

Stop Lamp Supply Voltage

4

0.5 L-BU

20

Stop Lamp Supply Voltage

5

0.5 OG

122

Rear Fog Lamp Supply Voltage

5

0.5 OG

122

Rear Fog Lamp Supply Voltage

6

--

--

Not Used

6

--

--

Not Used

X405 Rear Chassis Harness to Left Rear Lamp Assembly Harness


Object Number: 1413059  Size: CH

Object Number: 1818971  Size: CH

Connector Part Information

  • OEM: 6189-0319
  • Service: 88988448
  • Description: 6-Way F TS Series, Sealed (GY)

Connector Part Information

  • OEM: 6188-0173
  • Service: See catalog
  • Description: 6-Way M TS 090 Series, Sealed (GY)

Terminal Part Information

  • Terminal/Tray:8100-0461/6
  • Core/Insulation Crimp: E/1
  • Release Tool/Test Probe: 15315247/J-35616-2A (GY)

Terminal Part Information

  • Terminal/Tray: See Terminal Repair Kit
  • Core/Insulation Crimp: Terminal Repair Kit
  • Release Tool/Test Probe: Terminal Repair Kit

X405 Rear Chassis Harness to Left Rear Lamp Assembly Harness

Pin

Wire Color

Circuit No.

Function

Pin

Wire Color

Circuit No.

Function

1

--

--

Not Used

1

--

--

Not Used

2

0.8 YE

618

Left Rear Turn Signal Lamp Supply Voltage

2

0.8 GN

618

Left Rear Turn Signal Lamp Supply Voltage

3

0.8 D-BU

809

Left Tail Lamp Supply Voltage

3

0.8 RD/BU

809

Left Tail Lamp Supply Voltage

4

--

--

Not Used

4

--

--

Not Used

5

0.8 BK

1050

Ground

5

0.8 BK

1050

Ground

6

0.8 L-BU

20

Stop Lamp Supply Voltage

6

0.8 GN/WH

20

Stop Lamp Supply Voltage

X406 I/P Body Harness to Chassis Harness


Object Number: 1552599  Size: CH

Object Number: 1592584  Size: CH

Connector Part Information

  • OEM: E-5225-001
  • Service: 88988066
  • Description: 8-Way F Sealed (BK)

Connector Part Information

  • OEM: E-5222-003
  • Service: 88988067
  • Description: 8-Way M (BU)

Terminal Part Information

  • Pins: 1-3, 6-8
  • Terminal/Tray: 7116-4102-08/9
  • Core/Insulation Crimp: E/1
  • Release Tool/Test Probe: 12094430/J-35616-2A (GY)
  • Pins: 4
  • Terminal/Tray: 7116-4103-08/9
  • Core/Insulation Crimp: E/1
  • Release Tool/Test Probe: 12094430/J-35616-2A (GY)

Terminal Part Information

  • Pins: 1-3, 6-8
  • Terminal/Tray: 7114-4102-08/9
  • Core/Insulation Crimp: E/1
  • Release Tool/Test Probe: 12094430/J-35616-3 (GY)
  • Pins: 4
  • Terminal/Tray: 7114-4103-08/9
  • Core/Insulation Crimp: E/1
  • Release Tool/Test Probe: 12094430/J-35616-3 (GY)

X406 I/P Body Harness to Chassis Harness

Pin

Wire Color

Circuit No.

Function

Pin

Wire Color

Circuit No.

Function

1

0.5 RD/WH

140

Battery Positive Voltage

1

0.5 RD/WH

140

Battery Positive Voltage

2

0.5 WH

1310

EVAP Canister Vent Solenoid Control

2

0.5 WH

1310

EVAP Canister Vent Solenoid Control

3

0.5 PU

1589

Fuel Level Sensor Signal

3

0.5 PU

1589

Fuel Level Sensor Signal

4

1.0 GY

120

Fuel Pump Supply Voltage

4

1.0 GY

120

Fuel Pump Supply Voltage

5

1.0 L-BU

20

Stop Lamp Supply Voltage

5

1.0 L-BU

20

Stop Lamp Supply Voltage

6

0.5 TN

2759

Low Reference

6

0.5 TN

2759

Low Reference

7

0.5 D-GN

890

Fuel Tank Pressure Sensor Signal

7

0.5 D-GN

890

Fuel Tank Pressure Sensor Signal

8

0.5 GY

2709

5-Volt Reference 1

8

0.5 GY

2709

5-Volt Reference 1

X407 Rear Chassis Harness to Right Rear Lamp Assembly Harness


Object Number: 1413059  Size: CH

Object Number: 1818971  Size: CH

Connector Part Information

  • OEM: 6189-0319
  • Service: 88988448
  • Description: 6-Way F TS Series, Sealed (GY)

Connector Part Information

  • OEM: 6188-0173
  • Service: See catalog
  • Description: 6-Way M TS 090 Series, Sealed (GY)

Terminal Part Information

  • Terminal/Tray:8100-0461/6
  • Core/Insulation Crimp: E/1
  • Release Tool/Test Probe: 15315247/J-35616-2A (GY)

Terminal Part Information

  • Terminal/Tray: See Terminal Repair Kit
  • Core/Insulation Crimp: Terminal Repair Kit
  • Release Tool/Test Probe: Terminal Repair Kit

X407 Rear Chassis Harness to Right Rear Lamp Assembly Harness

Pin

Wire Color

Circuit No.

Function

Pin

Wire Color

Circuit No.

Function

1

--

--

Not Used

1

--

--

Not Used

2

0.8 D-GN

619

Right Rear Turn Signal Lamp Supply Voltage

2

0.8 GN

619

Right Rear Turn Signal Lamp Supply Voltage

3

0.8 WH

609

Right Tail Lamp Supply Voltage

3

0.8 WH

609

Right Tail Lamp Supply Voltage

4

--

--

Not Used

4

--

--

Not Used

5

0.8 BK

750

Ground

5

0.8 BK

750

Ground

6

0.8 L-BU

20

Stop Lamp Supply Voltage

6

0.8 GN/WH

20

Stop Lamp Supply Voltage

X408 Chassis Harness to I/P Body Harness


Object Number: 1552599  Size: CH

Object Number: 1592584  Size: CH

Connector Part Information

  • OEM: E-5225-001
  • Service: 88988066
  • Description: 8-Way F Sealed (BK)

Connector Part Information

  • OEM: E-5222-003
  • Service: 88988067
  • Description: 8-Way M (BU)

Terminal Part Information

  • Pins: 6-8
  • Terminal/Tray: 7116-4102-08/9
  • Core/Insulation Crimp: E/1
  • Release Tool/Test Probe: 12094430/J-35616-2A (GY)
  • Pins: 1-5
  • Terminal/Tray: 7116-4103-08/9
  • Core/Insulation Crimp: E/1
  • Release Tool/Test Probe: 12094430/J-35616-2A (GY)

Terminal Part Information

  • Pins: 2-6, 8
  • Terminal/Tray: 7114-4102-08/9
  • Core/Insulation Crimp: E/1
  • Release Tool/Test Probe: 12094430/J-35616-3 (GY)
  • Pins: 1, 7
  • Terminal/Tray: 7114-4103-08/9
  • Core/Insulation Crimp: E/1
  • Release Tool/Test Probe: 12094430/J-35616-3 (GY)

X408 Chassis Harness to I/P Body Harness

Pin

Wire Color

Circuit No.

Function

Pin

Wire Color

Circuit No.

Function

1

0.8 BK

750

Ground

1

0.8 BK

750

Ground

2

0.8 TN

884

Left Rear Wheel Speed Sensor Signal

2

0.5 TN

884

Left Rear Wheel Speed Sensor Signal

3

0.8 OG

885

Left Rear Wheel Speed Sensor Low Reference

3

0.5 OG

885

Left Rear Wheel Speed Sensor Low Reference

4

0.8 BN

882

Right Rear Wheel Speed Sensor Signal

4

0.5 BN

882

Right Rear Wheel Speed Sensor Signal

5

0.8 WH

883

Right Rear Wheel Speed Sensor Low Reference

5

0.5 WH

883

Right Rear Wheel Speed Sensor Low Reference

6

0.8 YE

618

Left Rear Stop/Turn Lamp Supply Voltage

6

0.8 YE

618

Left Rear Stop/Turn Lamp Supply Voltage

7

0.8 D-BU

809

Left Tail Lamp Supply Voltage

7

0.8 D-BU

809

Left Tail Lamp Supply Voltage

8

0.8 D-GN

619

Right Rear Stop/Turn Lamp Supply Voltage

8

0.8 D-GN

619

Right Rear Stop/Turn Lamp Supply Voltage

X409 Chassis Harness to I/P Body Harness


Object Number: 1865594  Size: CH

Object Number: 1865592  Size: CH

Connector Part Information

  • OEM: E-5092-001
  • Service: 88988066
  • Description: 1-Way F Sealed (BK)

Connector Part Information

  • OEM: E-5096-001
  • Service: 88988067
  • Description: 1-Way M (BK)

Terminal Part Information

  • Terminal/Tray: See terminal Repair Kit
  • Core/Insulation Crimp: See terminal Repair Kit
  • Release Tool/Test Probe: See terminal Repair Kit

Terminal Part Information

  • Terminal/Tray: See terminal Repair Kit
  • Core/Insulation Crimp: See terminal Repair Kit
  • Release Tool/Test Probe: See terminal Repair Kit

X409 Chassis Harness to I/P Body Harness

Pin

Wire Color

Circuit No.

Function

Pin

Wire Color

Circuit No.

Function

1

0.8 WH

609

Right Tail Lamp Supply Voltage

1

0.8 WH

609

Right Tail Lamp Supply Voltage

X500 Driver Door Harness to the I/P Body Harness


Object Number: 632344  Size: CH

Object Number: 632342  Size: CH

Connector Part Information

  • OEM: 15326842
  • Service: See Catalog
  • Description: 10-Way F 150 Sealed (BK)

Connector Part Information

  • OEM: 15326847
  • Service: See Catalog
  • Description: 10-Way M 150 Sealed (BK)

Terminal Part Information

  • Pins: A, B, C, D, E, F, G, H, J, K
  • Terminal/Tray: 12191819/8
  • Core/Insulation Crimp: Pins: A, B : 2/A
  • Core/Insulation Crimp: Pins: C, D, E, F, G, H, J, K : E/A
  • Release Tool/Test Probe: 15315247/J-35616-2A (GY)

Terminal Part Information

  • Pins: A, B, C, D, E, F, G, H, J, K
  • Terminal/Tray: 15326269/19
  • Core/Insulation Crimp: Pins: A, B : E/1
  • Core/Insulation Crimp: Pins: C, D, E, F, G, H, J, K : E/4
  • Release Tool/Test Probe: 15315247/J-35616-3 (GY)

X500 Driver Door Harness to the I/P Body Harness

Pin

Wire Color

Circuit No.

Function

Pin

Wire Color

Circuit No.

Function

A

0.8 GY

118

Left Front Speaker Output (-)

A

0.8 GY

118

Left Front Speaker Output (-)

B

0.8 TN

201

Left Front Speaker Output (+)

B

0.8 TN

201

Left Front Speaker Output (+)

C

0.5 GY

295

Door Lock Actuator Lock Control

C

0.5 GY

295

Door Lock Actuator Lock Control

D

0.5 TN

694

Driver Door Lock Actuator Unlock Control (AU3/AU0)

D

0.5 TN

694

Driver Door Lock Actuator Unlock Control (AU3/AU0)

D

0.5 BK

550

Ground (w/o AU3)

D

0.5 BK

550

Ground (w/o AU3)

E

0.35 GY

8

Instrument Panel Lamp Supply Voltage

E

GY

8

Instrument Panel Lamp Supply Voltage

F

0.35 OG/WH

90

Passenger Mirror Motor Left Control

F

0.35 OG/WH

90

Passenger Mirror Motor Left Control

G

0.35 PK/WH

1498

Passenger Mirror Motor Left/Down Control

G

0.35 PK/WH

1498

Passenger Mirror Motor Left/Down Control

H

0.35 TN/WH

330

Right Mirror Motor Supply Voltage

H

0.35 TN/WH

330

Right Mirror Motor Supply Voltage

J

0.35 RD/WH

440

Battery Positive Voltage

J

0.35 RD/WH

440

Battery Positive Voltage

K

0.35 GY/BK

745

Left Front Door Ajar Switch Signal

K

0.35 GY/BK

745

Left Front Door Ajar Switch Signal

X501 Driver Door Harness to the I/P Body Harness (A31)


Object Number: 646372  Size: CH

Object Number: 847234  Size: CH

Connector Part Information

  • OEM: 15326654
  • Service: 88986254
  • Description: 8-Way F GT 280 Series Sealed 5.8 (BK)

Connector Part Information

  • OEM: 15326655
  • Service: 15306424
  • Description: 8-Way M GT 280 Series Sealed 5.8 (BK)

Terminal Part Information

  • Pins: A, B, C
  • Terminal/Tray: 15304720/19
  • Core/Insulation Crimp: 4/5
  • Release Tool/Test Probe: 15315247/J-35616-4A (PU)
  • Pins: D
  • Terminal/Tray: See Terminal Repair Kit
  • Core/Insulation Crimp: See Terminal Repair Kit
  • Release Tool/Test Probe: See Terminal Repair Kit

Terminal Part Information

  • Pins: A, B, C, D
  • Terminal/Tray: 15304732/8
  • Core/Insulation Crimp: A/5
  • Release Tool/Test Probe: 15315247/J-35616-5 (PU)

X501 Driver Door Harness to the I/P Body Harness (A31)

Pin

Wire Color

Circuit No.

Function

Pin

Wire Color

Circuit No.

Function

A

3.0 L-BU

166

Power Window Master Switch Right Front Up Signal

A

3.0 L-BU

166

Power Window Master Switch Right Front Up Signal

B

2.0 BK

550

Ground

B

2.0 BK

550

Ground

C

3.0 D-GN

801

Retained Accessory Power Fuse Supply Voltage

C

3.0 D-GN

801

Retained Accessory Power Fuse Supply Voltage

D

3.0 TN

167

Power Window Master Switch Right Front Down Signal

D

3.0 TN

167

Power Window Master Switch Right Front Down Signal

E

1.0 RD/WH

240

Battery Positive Voltage

E

1.0 RD/WH

240

Battery Positive Voltage

F

0.5 WH

682

Door Lock Lock/Unlock Signal

F

0.35 WH

682

Door Lock Lock/Unlock Signal

G-H

--

--

Not Used

G-H

--

--

Not Used

X505 Driver Door Harness to Power Mirror Switch Harness


Object Number: 632344  Size: CH

Object Number: 632342  Size: CH

Connector Part Information

  • OEM: 15322158
  • Service: See Catalog
  • Description: 10-Way F 150 Sealed (BK)

Connector Part Information

  • OEM: 15332153
  • Service: See Catalog
  • Description: 10-Way M 150 Sealed (BK)

Terminal Part Information

  • Pins: A, B, C, D, E, F, G, H, J, K
  • Terminal/Tray: 12191819/8
  • Core/Insulation Crimp: Pins: A, B : 2/A
  • Core/Insulation Crimp: Pins: C, D, E, F, G, H, J, K : E/A
  • Release Tool/Test Probe: 15315247/J-35616-2A (GY)

Terminal Part Information

  • Pins: A, B, C, D, E, F, G, H, J, K
  • Terminal/Tray: 15326269/19
  • Core/Insulation Crimp: Pins: A, B : E/1
  • Core/Insulation Crimp: Pins: C, D, E, F, G, H, J, K : E/4
  • Release Tool/Test Probe: 15315247/J-35616-3 (GY)

X505 Driver Door Harness to Power Mirror Switch Harness

Pin

Wire Color

Circuit No.

Function

Pin

Wire Color

Circuit No.

Function

A

--

--

Not Used

A

--

--

Not Used

B

0.35 BK

550

Ground

B

0.35 BK

550

Ground

C

0.35 TN/WH

330

Passenger Mirror Motor Supply Voltage

C

0.35 TN/WH

330

Passenger Mirror Motor Supply Voltage

D

0.35 WH

81

Driver Mirror Motor Right Control

D

0.35 WH

81

Driver Mirror Motor Right Control

E

0.35 GY

8

Instrument Panel Lamp Supply Voltage

E

0.35 GY

8

Instrument Panel Lamp Supply Voltage

F

0.35 L-GN

89

Driver Mirror Motor Down Control

F

0.35 L-GN

89

Driver Mirror Motor Down Control

G

0.35 RD/WH

440

Battery Positive Voltage

G

0.35 RD/WH

440

Battery Positive Voltage

H

0.35 TN

329

Driver Mirror Motor Supply Voltage

H

0.35 TN

329

Driver Mirror Motor Supply Voltage

J

0.35 OG/WH

881

Passenger Mirror Motor Right Control

J

0.35 OG/WH

881

Passenger Mirror Motor Right Control

K

0.35 PU/WH

889

Passenger Mirror Motor Down Control

K

0.35 PU/WH

889

Passenger Mirror Motor Down Control

X600 Passenger Door Harness to the I/P Body Harness


Object Number: 655811  Size: CH

Object Number: 655813  Size: CH

Connector Part Information

  • OEM: 15326084
  • Service: 15306348
  • Description: 16-Way F GT 150 280 Series Sealed 4.0 5.8 (BK)

Connector Part Information

  • OEM: 15326085
  • Service: 15306122
  • Description: 16-Way M GT 150 280 Series Sealed 4.0 5.8 (BK)

Terminal Part Information

  • Pins: B, C, D, E, F, G, K, L, N, P
  • Terminal/Tray: 12191819/8
  • Core/Insulation Crimp: Pins: B, C : 2/A
  • Core/Insulation Crimp: Pins: D, E, F, G, K, L, N, P : E/A
  • Release Tool/Test Probe: 15315247/J-35616-2A (GY)
  • Pins: A, J, S
  • Terminal/Tray: 15304720/19
  • Core/Insulation Crimp: 4/5
  • Release Tool/Test Probe: 15315247/J-35616-4A (PU)

Terminal Part Information

  • Pins: A, J, S
  • Terminal/Tray: 15304732/8
  • Core/Insulation Crimp: A/5
  • Release Tool/Test Probe: 15315247/J-35616-5 (PU)
  • Pins: B, C, D, E, F, G, K, L, N, P
  • Terminal/Tray: 15326269/19
  • Core/Insulation Crimp: Pins: B, C : E/1
  • Core/Insulation Crimp: Pins: D, E, F, G, K, L, N, P : E/4
  • Release Tool/Test Probe: 15315247/J-35616-3 (GY)

X600 Passenger Door Harness to the I/P Body Harness

Pin

Wire Color

Circuit No.

Function

Pin

Wire Color

Circuit No.

Function

A

3.0 L-BU

166

Power Window Master Switch Right Front Up Signal

A

3.0 L-BU

166

Power Window Master Switch Right Front Up Signal

B

0.8 D-GN

117

Right Front Speaker Output (-)

B

0.8 D-GN

117

Right Front Speaker Output (-)

C

0.8 L-GN

200

Right Front Speaker Output (+)

C

0.8 L-GN

200

Right Front Speaker Output (+)

D

0.5 TN

294

Door Lock Actuator Unlock Control

D

0.5 TN

294

Door Lock Actuator Unlock Control

E

0.5 GY

295

Door Lock Actuator Lock Control

E

0.5 GY

295

Door Lock Actuator Lock Control

F

0.35 GY

8

Instrument Panel Lamp Supply Voltage

F

0.35 GY

8

Instrument Panel Lamp Supply Voltage

G

0.35 GY

90

Passenger Mirror Motor Left Control

G

0.35 GY

90

Passenger Mirror Motor Left Control

H

--

--

Not Used

H

--

--

Not Used

J

3.0 D-GN

801

Retained Accessory Power Fuse Supply Voltage

J

3.0 D-GN

801

Retained Accessory Power Fuse Supply Voltage

K

0.35 BN/WH

1498

Passenger Mirror Motor Left/Down Control

K

0.35 BN/WH

1498

Passenger Mirror Motor Left/Down Control

L

0.35 TN/WH

330

Passenger Mirror Motor Supply Voltage

L

0.35 TN/WH

330

Passenger Mirror Motor Supply Voltage

M

0.5 WH

682

Door Lock Lock/Unlock Signal

M

0.5 WH

682

Door Lock Lock/Unlock Signal

N

0.35 TN/WH

746

Right Front Door Ajar Switch Signal

N

0.35 TN/WH

746

Right Front Door Ajar Switch Signal

P

0.35 BK

550

Ground

P

0.35 BK

550

Ground

R

--

--

Not Used

R

--

--

Not Used

S

3.0 TN

167

Power Window Master Switch Right Front Down Signal

S

3.0 TN

167

Power Window Master Switch Right Front Down Signal