GM Service Manual Online
For 1990-2009 cars only
Connector 1: Electronic Brake Control Module (EBCM) (LE5)
Connector 2: Electronic Brake Control Module (EBCM) (LNF)
Connector 3: Steering Angle Sensor (JL4)
Connector 4: Traction Control Switch (JL4)
Connector 5: Wheel Speed Sensor (WSS) - Left Front
Connector 6: Wheel Speed Sensor (WSS) - Left Rear
Connector 7: Wheel Speed Sensor (WSS) - Right Front
Connector 8: Wheel Speed Sensor (WSS) - Right Rear
Connector 9: Yaw and Lateral Acceleration Sensor (JL4)

Electronic Brake Control Module (EBCM) (LE5)


Object Number: 1591670  Size: CH

Connector Part Information

  • OEM: 1452643-1
  • Service: 88988362
  • Description: 26-Way F (GY)

Terminal Part Information

  • Pins: 2, 3, 5, 6, 8, 9, 11, 12, 20, 21, 22, 23, 24
  • Terminal/Tray: 964274-2/16
  • Core/Insulation Crimp: E/1
  • Release Tool/Test Probe: J-38125-560/J-35616-33 (YE)
  • Pins: 1, 13
  • Terminal/Tray: 2-927835-2/7
  • Core/Insulation Crimp: A/3
  • Release Tool/Test Probe: 12093647/J-35616-40 (BU)
  • Pins: 14, 26
  • Terminal/Tray: 2-968037-4/7
  • Core/Insulation Crimp: See Terminal Repair Kit
  • Release Tool/Test Probe: 12093647/J-35616-40 (BU)

Electronic Brake Control Module (EBCM) (LE5)

Pin

Wire Color

Circuit No.

Function

1

RD/WH

540

Battery Positive Voltage

2

OG

885

Left Rear Wheel Speed Sensor Low Reference

3

TN

884

Left Rear Wheel Speed Sensor Signal

4

--

--

Not Used

5

D-GN

872

Right Front Wheel Speed Sensor Signal

6

TN

833

Right Front Wheel Speed Sensor Low Reference

7

--

--

Not Used

8

YE

873

Left Front Wheel Speed Sensor Low Reference

9

L-BU

830

Left Front Wheel Speed Sensor Signal

10

--

--

Not Used

11

BN

882

Right Rear Wheel Speed Sensor Signal

12

WH

883

Right Rear Wheel Speed Sensor Low Reference

13

BK

0000

Not Used

14

RD/BK

542

Battery Positive Voltage

15-19

--

--

Not Used

20

PK

1439

Ignition 1 Voltage

21

TN

2501

High Speed GMLAN Serial Data Bus (-)

22

TN

2501

High Speed GMLAN Serial Data Bus (-)

23

TN/BK

2500

High Speed GMLAN Serial Data Bus (+)

24

TN/BK

2500

High Speed GMLAN Serial Data Bus (+)

26

BK

350

Ground

Electronic Brake Control Module (EBCM) (LNF)


Object Number: 1830966  Size: CH

Connector Part Information

  • OEM: 1355628-2
  • Service: 19115598
  • Description: 47-Way F MK25 Series (BK)

Terminal Part Information

  • Pins: 1, 16
  • Terminal/Tray: 7114-4142-02/10
  • Core/Insulation Crimp: A/3
  • Release Tool/Test Probe: 12094430/J35616-43 (RD)
  • Pins: 32
  • Terminal/Tray: See Terminal Repair Kit
  • Core/Insulation Crimp:See Terminal Repair Kit
  • Release Tool/Test Probe: See Terminal Repair Kit
  • Pins: 2-15, 17-31, 33-47
  • Terminal/Tray: See Terminal Repair Kit
  • Core/Insulation Crimp:See Terminal Repair Kit
  • Release Tool/Test Probe: See Terminal Repair Kit

Electronic Brake Control Module (EBCM) (LNF)

Pin

Wire Color

Circuit No.

Function

1

RD/BK

542

Low Reference

2-7

BK

--

Not Used

8

PK

1439

Ignition 1 Voltage

9-10

BK

--

Not Used

11

TN/BK

2500

High Speed Serial Data Bus (+)

12

TN/BK

2500

High Speed Serial Data Bus (+)

13

TN

2501

High Speed Serial Data Bus (-)

14

TN

2501

High Speed Serial Data Bus (-)

15

BK

--

Not Used

16

BK

350

Ground

17

BK

--

Not Used

18

PK/BK

6434

Can Bus High Serial Data

19

GY/BK

6435

Can Bus Low Serial Data

20-21

BK

--

Not Used

22

D-GN

2087

12-Volt Reference

23-28

BK

--

Not Used

29

L-BU

2088

Low Reference

30-31

BK

--

Not Used

32

RD/WH

540

Battery Positive Voltage

33

TN

833

Right Front Wheel Speed Sensor Low Reference

34

D-GN

872

Right Front Wheel Speed Sensor Signal

35

BK

--

Not Used

36

TN

884

Left Rear Wheel Speed Sensor Signal

37

OR

885

Left Rear Wheel Speed Sensor Low Reference

38-41

BK

--

Not Used

42

WH

883

Right Rear Wheel Speed Sensor Low Reference

43

BN

882

Right Rear Wheel Speed Sensor Signal

44

BK

--

Not Used

45

L-BU

830

Left Front Wheel Speed Sensor Signal

46

YE

873

Left Front Wheel Speed Sensor Low Reference

47

--

--

Not Used

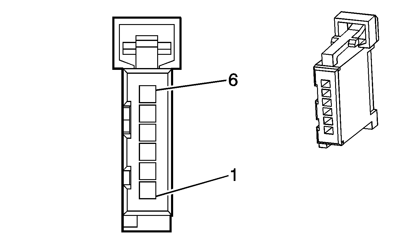
Steering Angle Sensor (JL4)


Object Number: 1835137  Size: CH

Connector Part Information

  • OEM: 1488752-1
  • Service: 88988374
  • Description: 6-Way F 064 GET Series (BK)

Terminal Part Information

  • Terminal/Tray: See Terminal Repair Kit
  • Core/Insulation Crimp: See Terminal Repair Kit
  • Release Tool/Test Probe: See Terminal Repair Kit

Steering Angle Sensor (JL4)

Pin

Wire Color

Circuit No.

Function

1

D-GN

2087

12-Volt Reference

2

PK/BK

6434

Can Bus High Serial Data

3

PK/BK

6434

Can Bus High Serial Data

4

GY/BK

6435

Can Bus Low Serial Data

5

GY/BK

6435

Can Bus Low Serial Data

6

L-BU

2088

Low Reference

Traction Control Switch (JL4)


Object Number: 39660  Size: CH

Connector Part Information

  • OEM: 12047785
  • Service: 12102900
  • Description: 4-Way F Metri-Pack 150 Series (BK)

Terminal Part Information

  • Terminal/Tray: See Terminal Repair Kit
  • Core/Insulation Crimp: See Terminal Repair Kit
  • Release Tool/Test Probe: See Terminal Repair Kit

Traction Control Switch (JL4)

Pin

Wire Color

Circuit No.

Function

A

BK

550

Ground

B

--

--

Not Used

C

L-BU

1788

Traction Control Switch Signal

D

GY

8

Instrument Panel Lamp Supply

Wheel Speed Sensor (WSS) - Left Front


Object Number: 1592617  Size: CH

Connector Part Information

  • OEM: 1-928-403-698
  • Service: 19115595
  • Description: 2-Way F (BK)

Terminal Part Information

  • Terminal/Tray: See Terminal Repair Kit
  • Core/Insulation Crimp: See Terminal Repair Kit
  • Release Tool/Test Probe: See Terminal Repair Kit

Wheel Speed Sensor (WSS) - Left Front

Pin

Wire Color

Circuit No.

Function

1

L-BU

830

Left Front Wheel Speed Sensor Signal

2

YE

873

Left Front Wheel Speed Sensor Low Reference

Wheel Speed Sensor (WSS) - Left Rear


Object Number: 1592617  Size: CH

Connector Part Information

  • OEM: 1-928-403-698
  • Service: 19115595
  • Description: 2-Way F (BK)

Terminal Part Information

  • Terminal/Tray: See Terminal Repair Kit
  • Core/Insulation Crimp: See Terminal Repair Kit
  • Release Tool/Test Probe: See Terminal Repair Kit

Wheel Speed Sensor (WSS) - Left Rear

Pin

Wire Color

Circuit No.

Function

1

TN

884

Left Rear Wheel Speed Sensor Signal

2

OG

885

Left Rear Wheel Speed Sensor Low Reference

Wheel Speed Sensor (WSS) - Right Front


Object Number: 1592617  Size: CH

Connector Part Information

  • OEM: 1-928-403-698
  • Service: 19115595
  • Description: 2-Way F (BK)

Terminal Part Information

  • Terminal/Tray: See Terminal Repair Kit
  • Core/Insulation Crimp: See Terminal Repair Kit
  • Release Tool/Test Probe: See Terminal Repair Kit

Wheel Speed Sensor (WSS) - Right Front

Pin

Wire Color

Circuit No.

Function

1

D-GN

872

Right Front Wheel Speed Sensor Signal (JL9)

2

TN

833

Right Front Wheel Speed Sensor Low Reference (JL9)

Wheel Speed Sensor (WSS) - Right Rear


Object Number: 1592617  Size: CH

Connector Part Information

  • OEM: 1-928-403-698
  • Service: 19115595
  • Description: 2-Way F (BK)

Terminal Part Information

  • Terminal/Tray: See Terminal Repair Kit
  • Core/Insulation Crimp: See Terminal Repair Kit
  • Release Tool/Test Probe: See Terminal Repair Kit

Wheel Speed Sensor (WSS) - Right Rear

Pin

Wire Color

Circuit No.

Function

1

BN

882

Right Rear Wheel Speed Sensor Signal (JL9)

2

WH

883

Right Rear Wheel Speed Sensor Low Reference (JL9)

Yaw and Lateral Acceleration Sensor (JL4)


Object Number: 831393  Size: CH

Connector Part Information

  • OEM: 2-967616-1
  • Service: 88953345
  • Description: 6-Way F MQS Socket Housing Sealed (BK)

Terminal Part Information

  • Terminal/Tray: See Terminal Repair Kit
  • Core/Insulation Crimp: See Terminal Repair Kit
  • Release Tool/Test Probe: See Terminal Repair Kit

Yaw and Lateral Acceleration Sensor (JL4)

Pin

Wire Color

Circuit No.

Function

1

GY/BK

6435

Can Bus Low Serial Data

2

PK/BK

6434

Can Bus High Serial Data

3

D-GN

2087

12-Volt Reference

4

--

--

Unavailable

5

L-BU

2088

Low Reference

6

--

--

Unavailable

Connector 1: Electronic Brake Control Module (EBCM)
Connector 2: Steering Angle Sensor
Connector 3: Traction Control Switch
Connector 4: Wheel Speed Sensor (WSS) - Left Front
Connector 5: Wheel Speed Sensor (WSS) - Left Rear
Connector 6: Wheel Speed Sensor (WSS) - Right Front
Connector 7: Wheel Speed Sensor (WSS) - Right Rear
Connector 8: Yaw and Lateral Accelerometer Sensor

Electronic Brake Control Module (EBCM)


Object Number: 1830966  Size: CH

Connector Part Information

  • OEM: 1355628-2
  • Service: 19115598
  • Description: 47-Way F MK25/60 Series (BK)

Terminal Part Information

  • Pins: 1, 16
  • Terminal/Tray: 7114-4142-02/10
  • Core/Insulation Crimp: A/3
  • Release Tool/Test Probe: 12094430/J-35616-43 (RD)
  • Pins: 2-15, 17-31, 33-47
  • Terminal/Tray: 638551-3
  • Core/Insulation Crimp: See Terminal Repair
  • Release Tool/Test Probe: See Terminal Repair Kit
  • Pins: 32
  • Terminal/Tray: 7114-4141-02
  • Core/Insulation Crimp: See Terminal Repair
  • Release Tool/Test Probe: See Terminal Repair Kit

Electronic Brake Control Module (EBCM)

Pin

Wire Color

Circuit No.

Function

1

3.0 RD/BK

542

Low Reference

2-7

--

--

Not Used

8

0.5 PK

1439

Ignition 1 Voltage

9-10

--

--

Not Used

11

0.5 TN/BK

2500

High Speed Serial Data Bus (+)

12

0.5 TN/BK

2500

High Speed Serial Data Bus (+)

13

0.5 TN

2501

High Speed Serial Data Bus (-)

14

0.5 TN

2501

High Speed Serial Data Bus (-)

15

--

--

Not Used

16

3.0 BK

350

Ground

17

--

--

Not Used

18

0.5 PK/BK

6434

Can Bus High Serial Data

19

0.5 GY/BK

6435

Can Bus Low Serial Data

20-21

--

--

Not Used

22

0.5 D-GN

2087

5-Volt Reference

23-28

--

--

Not Used

29

0.5 L-BU

2088

Low Reference

30-31

--

--

Not Used

32

2.0 RD/WH

540

Battery Positive Voltage

33

0.5 TN

833

Right Front Wheel Speed Sensor Low Reference

34

0.5 D-GN

872

Right Front Wheel Speed Sensor Signal

35

--

--

Not Used

36

0.5 TN

884

Left Rear Wheel Speed Sensor Signal

37

0.5 OG

885

Left Rear Wheel Speed Sensor Low Reference

38-41

--

--

Not Used

42

0.5 WH

883

Right Rear Wheel Speed Sensor Low Reference

43

0.5 BN

882

Right Rear Wheel Speed Sensor Signal

44

--

--

Not Used

45

0.5 L-BU

830

Left Front Wheel Speed Sensor Signal

46

0.5 YE

873

Left Front Wheel Speed Sensor Low Reference

47

--

--

Not Used

Steering Angle Sensor


Object Number: 1835137  Size: CH

Connector Part Information

  • OEM: 1488752-1
  • Service: See Catalog
  • Description: 6-Way F 064 GET Series (BK)

Terminal Part Information

  • Terminal/Tray: See Terminal Repair Kit
  • Core/Insulation Crimp: See Terminal Repair Kit
  • Release Tool/Test Probe: See Terminal Repair Kit

Steering Angle Sensor

Pin

Wire Color

Circuit No.

Function

1

0.5 D-GN

2087

5-Volt Reference

2

0.5 PK/BK

6434

Can Bus High Serial Data

3

0.5 PK/BK

6434

Can Bus High Serial Data

4

0.5 GY/BK

6435

Can Bus Low Serial Data

5

0.5 GY/BK

6435

Can Bus Low Serial Data

6

0.5 L-BU

2088

Low Reference

Traction Control Switch


Object Number: 39660  Size: CH

Connector Part Information

  • OEM: 12047785
  • Service: See Catalog
  • Description: 4-Way F Metri-Pack 150 Series (BK)

Terminal Part Information

  • Terminal/Tray: See Terminal Repair Kit
  • Core/Insulation Crimp: See Terminal Repair Kit
  • Release Tool/Test Probe: See Terminal Repair Kit

Traction Control Switch

Pin

Wire Color

Circuit No.

Function

A

0.35 BK

550

Ground

B

--

--

Not Used

C

0.35 L-BU

1788

Traction Control Switch Signal

D

0.35 GY

8

Instrument Panel Lamp Supply

Wheel Speed Sensor (WSS) - Left Front


Object Number: 1592617  Size: CH

Connector Part Information

  • OEM: 1-928-403-698
  • Service: See Catalog
  • Description: 2-Way F (BK)

Terminal Part Information

  • Terminal/Tray: See Terminal Repair Kit
  • Core/Insulation Crimp: See Terminal Repair Kit
  • Release Tool/Test Probe: See Terminal Repair Kit

Wheel Speed Sensor (WSS) - Left Front

Pin

Wire Color

Circuit No.

Function

1

0.8 L-BU

830

Left Front Wheel Speed Sensor Signal

2

0.8 YE

873

Left Front Wheel Speed Sensor Low Reference

Wheel Speed Sensor (WSS) - Left Rear


Object Number: 1592617  Size: CH

Connector Part Information

  • OEM: 1-928-403-698
  • Service: See Catalog
  • Description: 2-Way F (BK)

Terminal Part Information

  • Terminal/Tray: See Terminal Repair Kit
  • Core/Insulation Crimp: See Terminal Repair Kit
  • Release Tool/Test Probe: See Terminal Repair Kit

Wheel Speed Sensor (WSS) - Left Rear

Pin

Wire Color

Circuit No.

Function

1

0.8 TN

884

Left Rear Wheel Speed Sensor Signal

2

0.8 OG

885

Left Rear Wheel Speed Sensor Low Reference

Wheel Speed Sensor (WSS) - Right Front


Object Number: 1592617  Size: CH

Connector Part Information

  • OEM: 1-928-403-698
  • Service: See Catalog
  • Description: 2-Way F (BK)

Terminal Part Information

  • Terminal/Tray: See Terminal Repair Kit
  • Core/Insulation Crimp: See Terminal Repair Kit
  • Release Tool/Test Probe: See Terminal Repair Kit

Wheel Speed Sensor (WSS) - Right Front

Pin

Wire Color

Circuit No.

Function

1

0.8 D-GN

872

Right Front Wheel Speed Sensor Signal

2

0.8 TN

833

Right Front Wheel Speed Sensor Low Reference

Wheel Speed Sensor (WSS) - Right Rear


Object Number: 1592617  Size: CH

Connector Part Information

  • OEM: 1-928-403-698
  • Service: See Catalog
  • Description: 2-Way F (BK)

Terminal Part Information

  • Terminal/Tray: See Terminal Repair Kit
  • Core/Insulation Crimp: See Terminal Repair Kit
  • Release Tool/Test Probe: See Terminal Repair Kit

Wheel Speed Sensor (WSS) - Right Rear

Pin

Wire Color

Circuit No.

Function

1

0.8 BN

882

Right Rear Wheel Speed Sensor Signal

2

0.8 WH

883

Right Rear Wheel Speed Sensor Low Reference

Yaw and Lateral Accelerometer Sensor


Object Number: 831393  Size: CH

Connector Part Information

  • OEM: 2-967616-1
  • Service: See Catalog
  • Description: 6-Way F MQS Socket Series, Sealed (BK)

Terminal Part Information

  • Terminal/Tray: See Terminal Repair Kit
  • Core/Insulation Crimp: See Terminal Repair Kit
  • Release Tool/Test Probe: See Terminal Repair Kit

Yaw and Lateral Accelerometer Sensor

Pin

Wire Color

Circuit No.

Function

1

0.5 GY/BK

6435

Can Bus Low Serial Data

2

0.5 PK/BK

6434

Can Bus High Serial Data

3

0.5 D-GN

2087

5-Volt Reference

4

--

--

Unavailable

5

0.5 L-BU

2088

Low Reference

6

--

--

Unavailable