GM Service Manual Online
For 1990-2009 cars only
Connector 1: 1-2 Shift Solenoid (SS) Valve, Wiring Harness Side
Connector 2: 2-3 Shift Solenoid (SS) Valve, Wiring Harness Side
Connector 3: 4-5 Shift Solenoid (SS) Valve, Wiring Harness Side
Connector 4: Input Speed Sensor, Wiring Harness Side
Connector 5: Output Speed Sensor, Wiring Harness Side
Connector 6: Pressure Control (PC) Solenoid Valve, Wiring Harness Side
Connector 7: Torque Converter Clutch Pulse Width Modulated (TCC PWM) Solenoid Valve, Wiring Harness Side
Connector 8: Transmission Manual Shift Shaft Switch Assembly, Wiring Harness Side

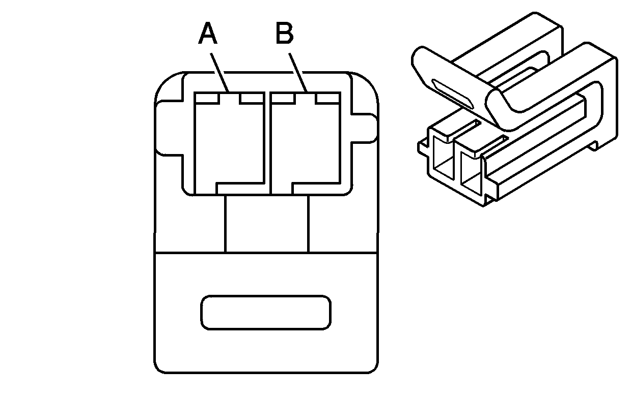
1-2 Shift Solenoid (SS) Valve, Wiring Harness Side


Object Number: 799985  Size: CH

Connector Part Information

  • OEM: 12146094
  • Service: See Catalog
  • Description: 2-Way F Metri-Pack 150.2 Series P2S (GY)

Terminal Part Information

  • Terminal/Tray: Non-Serviceable
  • Core/Insulation Crimp: Non-Serviceable
  • Release Tool/Test Probe: Non-Serviceable

1-2 Shift Solenoid (SS) Valve, Wiring Harness Side

Pin

Wire Color

Circuit No.

Function

A

BK

1222

1-2 SS Control

B

WH

1525

Solenoid Power Supply

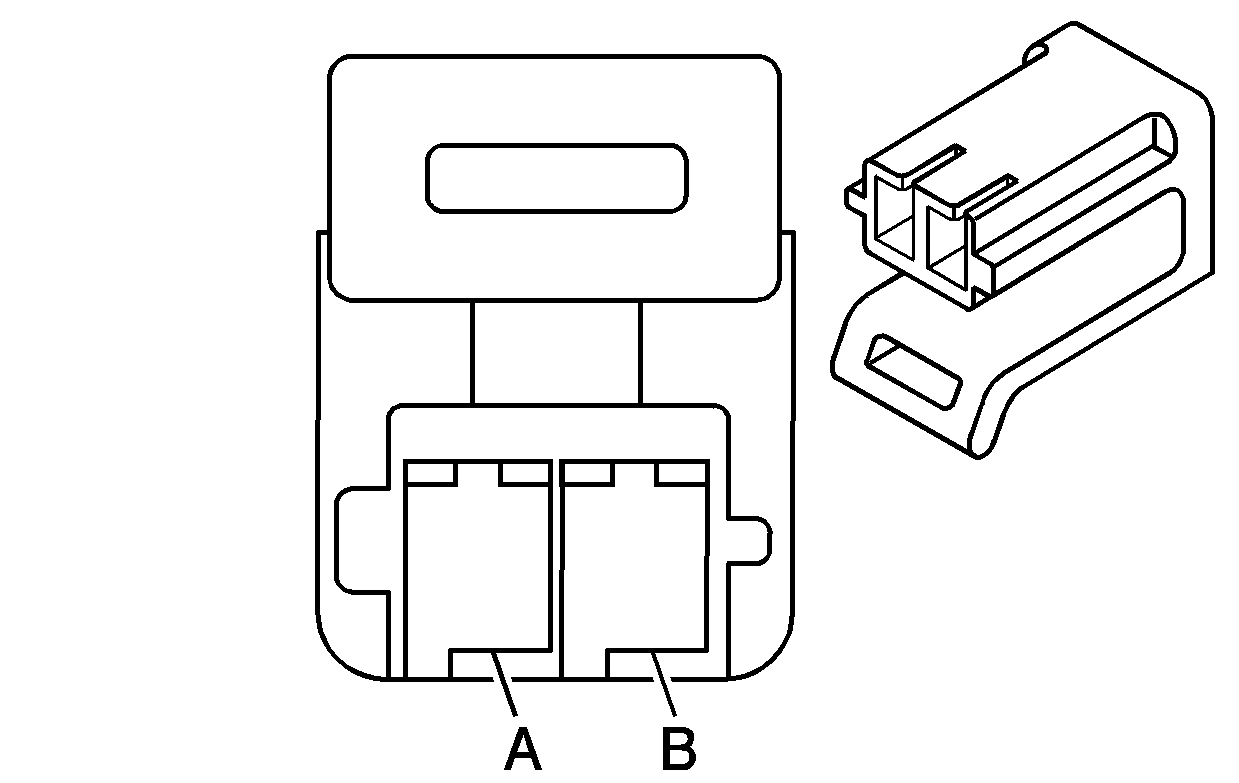
2-3 Shift Solenoid (SS) Valve, Wiring Harness Side


Object Number: 799985  Size: CH

Connector Part Information

  • OEM: 12146094
  • Service: See Catalog
  • Description: 2-Way F Metri-Pack 150.2 Series P2S (GY)

Terminal Part Information

  • Terminal/Tray: Non-Serviceable
  • Core/Insulation Crimp: Non-Serviceable
  • Release Tool/Test Probe: Non-Serviceable

2-3 Shift Solenoid (SS) Valve, Wiring Harness Side

Pin

Wire Color

Circuit No.

Function

A

BU

1223

2-3 SS Control

B

WH

1525

Solenoid Power Supply

4-5 Shift Solenoid (SS) Valve, Wiring Harness Side


Object Number: 799985  Size: CH

Connector Part Information

  • OEM: 12146094
  • Service: See Catalog
  • Description: 2-Way F Metri-Pack 150.2 Series P2S (GY)

Terminal Part Information

  • Terminal/Tray: Non-Serviceable
  • Core/Insulation Crimp: Non-Serviceable
  • Release Tool/Test Probe: Non-Serviceable

4-5 Shift Solenoid (SS) Valve, Wiring Harness Side

Pin

Wire Color

Circuit No.

Function

A

GY

898

4-5 SS Control

B

WH

1525

Solenoid Power Supply

Input Speed Sensor, Wiring Harness Side


Object Number: 800008  Size: CH

Connector Part Information

  • OEM: 12162201
  • Service: See Catalog
  • Description: 2-Way F Metri-Pack 150.2 Series P2S (NA)

Terminal Part Information

  • Terminal/Tray: Non-Serviceable
  • Core/Insulation Crimp: Non-Serviceable
  • Release Tool/Test Probe: Non-Serviceable

Input Speed Sensor, Wiring Harness Side

Pin

Wire Color

Circuit No.

Function

A

YE

1230

Input Speed Sensor (ISS) High Signal

B

WH

1231

ISS Low Signal

Output Speed Sensor, Wiring Harness Side


Object Number: 800008  Size: CH

Connector Part Information

  • OEM: 12162201
  • Service: See Catalog
  • Description: 2-Way F Metri-Pack 150.2 Series P2S (NA)

Terminal Part Information

  • Terminal/Tray: Non-Serviceable
  • Core/Insulation Crimp: Non-Serviceable
  • Release Tool/Test Probe: Non-Serviceable

Output Speed Sensor, Wiring Harness Side

Pin

Wire Color

Circuit No.

Function

A

OG

400

Output Speed Sensor (OSS) High Signal

B

WH

401

OSS Low Signal

Pressure Control (PC) Solenoid Valve, Wiring Harness Side


Object Number: 799985  Size: CH

Connector Part Information

  • OEM: 12146094
  • Service: See Catalog
  • Description: 2-Way F Metri-Pack 150.2 Series P2S (GY)

Terminal Part Information

  • Terminal/Tray: Non-Serviceable
  • Core/Insulation Crimp: Non-Serviceable
  • Release Tool/Test Probe: Non-Serviceable

Pressure Control (PC) Solenoid Valve, Wiring Harness Side

Pin

Wire Color

Circuit No.

Function

A

GN

1228

Pressure Control (PC) Solenoid Valve High Control

B

WH

1229

PC Solenoid Valve Low Control

Torque Converter Clutch Pulse Width Modulated (TCC PWM) Solenoid Valve, Wiring Harness Side


Object Number: 800000  Size: CH

Connector Part Information

  • OEM: 12162202
  • Service: See Catalog
  • Description: 2-Way F Metri-Pack 150.2 Series P2S (BU)

Terminal Part Information

  • Terminal/Tray: Non-Serviceable
  • Core/Insulation Crimp: Non-Serviceable
  • Release Tool/Test Probe: Non-Serviceable

Torque Converter Clutch Pulse Width Modulated (TCC PWM) Solenoid Valve, Wiring Harness Side

Pin

Wire Color

Circuit No.

Function

A

YE

418

TCC PWM Solenoid Valve Control

B

WH

1525

Solenoid Power Supply

Transmission Manual Shift Shaft Switch Assembly, Wiring Harness Side


Object Number: 799960  Size: CH

Connector Part Information

  • OEM: 12146095
  • Service: See Catalog
  • Description: 6-Way F Metri-Pack 150.2 Series P2S (NA)

Terminal Part Information

  • Terminal/Tray: Non-Serviceable
  • Core/Insulation Crimp: Non-Serviceable
  • Release Tool/Test Probe: Non-Serviceable

Transmission Manual Shift Shaft Switch Assembly, Wiring Harness Side

Pin

Wire Color

Circuit No.

Function

A

BN

1786

Park/Neutral Signal

B

GY

776

Transmission Range Signal P

C

BK

772

Transmission Range Signal B

D

RD

771

Transmission Range Signal A

E

BU

773

Transmission Range Signal C

F

GN

1551

Ground