GM Service Manual Online
For 1990-2009 cars only

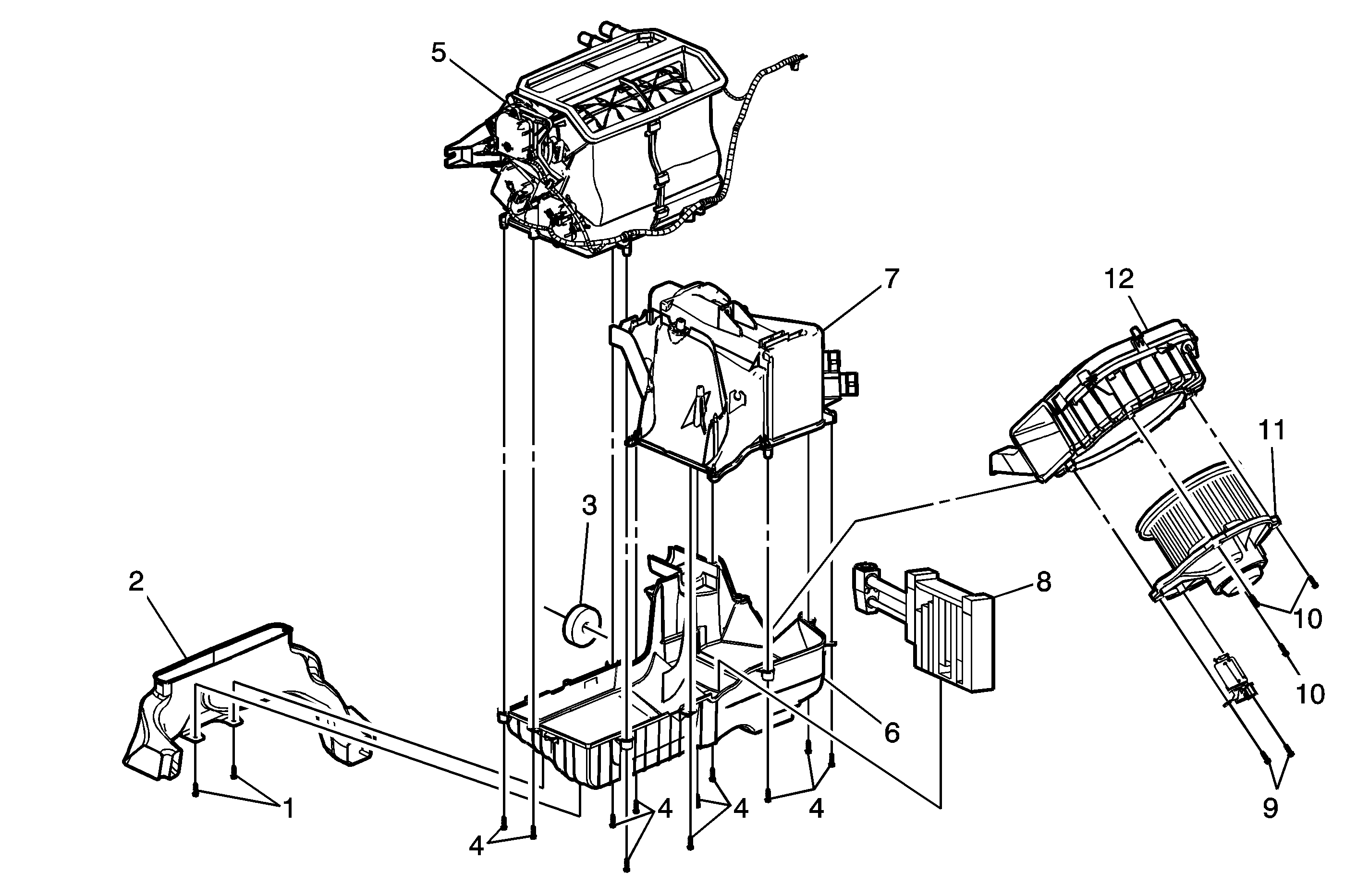
Object Number: 1597563  Size: MF

Callout

Component Name

Preliminary Procedure

  1. Remove the HVAC module assembly. Refer to HVAC Module Assembly Replacement .
  2. Remove the heater core cover. Refer to Heater Core Cover Replacement .
  3. Remove the air inlet assembly. Refer to Air Inlet Assembly Replacement .
  4. Note routing of electrical wiring to ensure proper installation.
  5. Disconnect the 5 electrical connectors .

1

Rear Air Outlet Duct Screw (Qty: 2)

Notice: Refer to Fastener Notice in the Preface section.

Tighten
1.5 N·m (13 lb in)

2

Rear Air Outlet Duct

3

Drain Tube, Evaporator Case Seal

4

Evaporator Case Assembly Screw (Qty: 10)

Tighten
1.5 N·m (13 lb in)

5

Air Distributor

6

Evaporator Case - Lower

7

Evaporator Case - Upper

8

Air Conditioning Evaporator

9

Blower Motor Resistor Screw (Qty: 2)

Tighten
1.5 N·m (13 lb in)

10

Blower Motor Screw (Qty: 2)

Tighten
1.5 N·m (13 lb in)

11

Blower Motor Assembly

12

Air Inlet Housing Baffle


Object Number: 1597563  Size: MF

Callout

Component Name

Preliminary Procedure

  1. Remove the HVAC module assembly. Refer to HVAC Module Assembly Replacement .
  2. Remove the heater core cover. Refer to Heater Core Cover Replacement .
  3. Remove the air inlet assembly. Refer to Air Inlet Assembly Replacement .
  4. Note routing of electrical wiring to ensure proper installation.
  5. Disconnect electrical connectors.

1

Rear Air Outlet Duct Screw (Qty: 2)

Notice: Refer to Fastener Notice in the Preface section.

Tighten
1.5 N·m (13 lb in)

2

Rear Air Outlet Duct

3

Evaporator Case Drain Tube Seal

4

Evaporator Case Assembly Screw (Qty: 10)

Tighten
1.5 N·m (13 lb in)

5

Air Distributor

6

Evaporator Case - Lower

7

Evaporator Case - Upper

8

Evaporator Core

9

Blower Motor Resistor Screw (Qty: 2)

Tighten
1.5 N·m (13 lb in)

10

Blower Motor Screw (Qty: 2)

Tighten
1.5 N·m (13 lb in)

11

Blower Motor Assembly

12

Air Inlet Housing Baffle