GM Service Manual Online
For 1990-2009 cars only
Connector 1: Clutch Pedal Position (CPP) Switch
Connector 2: Vehicle Speed Sensor (VSS)

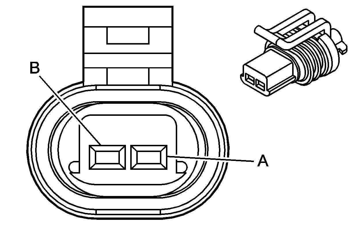
Clutch Pedal Position (CPP) Switch


Object Number: 1463174  Size: CH

Connector Part Information

  • OEM: 15479480
  • Service: 88988317
  • Description: 2-Way F Micro-Pack 280 Series Delphi Packard (L-GY)

Terminal Part Information

  • Terminal/Tray: Non-serviceable
  • Core/Insulation Crimp: Non-serviceable
  • Release Tool/Test Probe: Non-serviceable

Clutch Pedal Position (CPP) Switch

Pin

Wire Color

Circuit No.

Function

1

BN/WH

379

CPP Switch Signal

2

PK/BK

5291

Ignition 1 Voltage

Vehicle Speed Sensor (VSS)


Object Number: 1544944  Size: CH

Connector Part Information

  • OEM: 15449024
  • Service: 88987993
  • Description: 2-Way F GT 150 Series Sealed (BK)

Terminal Part Information

  • Terminal/Tray: 15326266
  • Core/Insulation Crimp: C
  • Release Tool/Test Probe: See terminal repair kit

Vehicle Speed Sensor (VSS)

Pin

Wire Color

Circuit No.

Function

A

PU

401

VSS Low Signal

B

YE

400

VSS High Signal