GM Service Manual Online
For 1990-2009 cars only
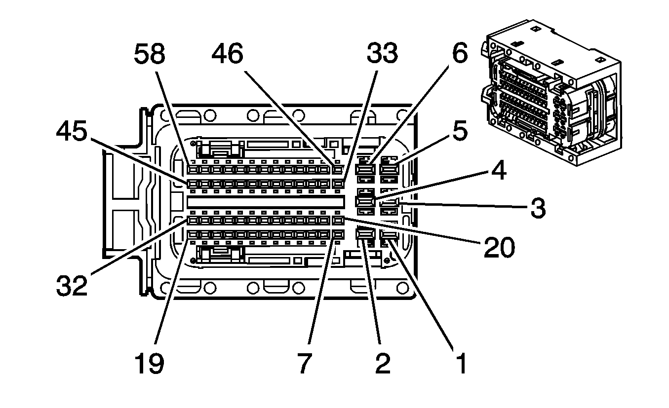
Connector 1: Engine Control Module (ECM) C1
Connector 2: Engine Control Module (ECM) C2

Engine Control Module (ECM) C1


Object Number: 1826274  Size: CH

Connector Part Information

  • OEM: 1928404781
  • Service: 19149311
  • Description: 96-Way F 120 MAT, 280 BDK Series, Sealed (BK)

Terminal Part Information

  • Terminal/Tray: 1928498135/19
  • Core/Insulation Crimp: Pins: 1-2,6-7,15-18,24,34,36-39,41-42,44,48,59-60,64,66-68,82-84,86,88,89-92,95-96 - J/J
  • Core/Insulation Crimp: Pins: 5,26-29, 51-53,73,75 - K/K
  • Core/Insulation Crimp: Pins: 10,13,30,35,45-46,54-56,78-80 - P/P
  • Release Tool/Test Probe: J-38125-213/J-35616-16 (L-GN)

Engine Control Module (ECM) C1

Pin

Wire Color

Circuit No.

Function

1

L-GN

5282

Camshaft Phaser Exhaust Solenoid Control

2

PU

5284

Camshaft Phaser Intake Soleniod Control

3-4

--

--

Not Used

5

YE

7301

High Pressure Fuel Pump Actuator High Control

6

D-GN/WH

428

EVAP Canister Purge Solenoid Control

7

OG

5275

Camshaft Position Intake Sensor Signal

8-9

--

--

Not Used

10

OG

225

Generator Turn On Signal

11-12

--

--

Not Used

13

BN/WH

2130

Low Reference

14

--

--

Not Used

15

GY

705

5-Volt Reference 2

16

D-GN

6391

Turbo Bypass Valve Control

17

TN/BK

231

Oil Pressure Switch Signal

18

YE

258

Wastegate Solenoid Control

19-23

--

--

Not Used

24

YE

581

TAC Motor Control - 1

25

--

--

Not Used

26

L-BU

4804

Direct Fuel Injector (DFI) High Voltage Control Cylinder 4

27

L-BU/WH

4904

Direct Fuel Injector (DFI) High Voltage Supply Cylinder 4

28

D-BU

4802

Direct Fuel Injector (DFI) High Voltage Control Cylinder 2

29

D-BU/WH

4902

Direct Fuel Injector (DFI) High Voltage Supply Cylinder 2

30

GY

23

Generator Field Duty Cycle Signal

31-33

--

--

Not Used

34

D-GN

5273

Camshaft Position Exhaust Sensor Signal

35

YE

573

CKP Sensor Signal

36

YE

2918

FRP Sensor Signal

37

L-GN

432

MAP Sensor Signal

38

GY

598

5-Volt Reference 1

39

GY

2701

5-Volt Reference 3

40

--

--

Not Used

41

TN

552

Low Reference

42

TN

808

Low Reference

43

--

--

Not Used

44

TN

2761

Low Reference

45

GY

605

5-Volt Reference 3

46

TN

452

Low Reference

47

--

--

Not Used

48

BN

582

TAC Motor Control - 2

49-50

--

--

Not Used

51

BN

4801

Direct Fuel Injector (DFI) High Voltage Control Cylinder 1

52

D-GN

4803

Direct Fuel Injector (DFI) High Voltage Control Cylinder 3

53

D-GN/WH

4903

Direct Fuel Injector (DFI) High Voltage Supply Cylinder 3

54

BN/WH

419

MIL Control

55

PU

2121

IC 1 Control

56

D-GN/WH

2124

IC 4 Control

57-58

--

--

Not Used

59

D-BU

496

KS 1 Signal

60

GY

2303

KS 2 Signal

61-63

--

--

Not Used

64

TN

407

Low Reference

65

--

--

Not Used

66

PU

7330

Pre-Throttle Air Temp and Press (TMAP) Air Pressure Signal

67

TN/WH

3111

Heated Oxygen Sensor Low Signal Sensor 1

68

WH

5279

Heated Oxygen Sensor Pump Current Sensor 1

69-72

--

--

Not Used

73

PU

7300

High Pressure Fuel Pump Actuator Low Control

74

--

--

Not Used

75

BN/WH

4901

Direct Fuel Injector (DFI) High Voltage Supply Cylinder 1

76-77

--

--

Not Used

78

BN

2129

Low Reference

79

L-BU

2123

IC 3 Control

80

OG/WH

2122

IC 2 Control

81

--

--

Not Used

82

YE

410

ECT Sensor Signal

83

GY

1716

KS 1 Signal

84

L-BU

1876

KS 2 Signal

85

--

--

Not Used

86

L-BU

7329

Pre-Throttle Air Temp and Press (TMAP) Temperature Signal

87

--

--

Not Used

88

TN

2752

Low Reference

89

PU

486

TP Sensor 2 Signal

90

D-GN

485

TP Sensor 1 Signal

91

L-GN

5278

Heated Oxygen Sensor Input Pump Current Sensor 1

92

PU/WH

3110

Heated Oxygen Sensor High Signal Sensor 1

93-94

--

--

Not Used

95

GY

597

5-Volt Reference 1

96

GY/WH

3113

Heated Oxygen Sensor Heater Low Control Sensor 1

Engine Control Module (ECM) C2


Object Number: 1360604  Size: CH

Connector Part Information

  • OEM: 1928404916
  • Service: 19115599
  • Description: 58-Way F 280 Series, Sealed (BK)

Terminal Part Information

  • Pins: 1-2,4
  • Terminal/Tray: 1928498059/24
  • Pins: 3, 5-6
  • Terminal/Tray: 1928498058/8
  • Core/Insulation Crimp: 2/5
  • Release Tool/Test Probe: J-38125-561/J-35616-35 (VT)
  • Pins:7,9-11,12-19,22-23,25,27,31, 34-36,38-39,41-42,44,46-50,52,54-56,58
  • Terminal/Tray: 1928498135/19
  • Core/Insulation Crimp: Pins: 7,9-10,12-14,16, 18-19,22,27,31, 36,38,42,50,54-56 - J/J
  • Core/Insulation Crimp: Pins: 11,15,17,23,25,34-35,39,41,44,46-49,52,58 - P/P
  • Release Tool/Test Probe: J-38125-213/J-35616-16 (L-GN)

Engine Control Module (ECM) C2

Pin

Wire Color

Circuit No.

Function

1

BK/WH

451

Ground

2

BK/WH

451

Ground

3

PK/BK

5290

Ignition 1 Voltage

4

BK/WH

451

Ground

5

PK/BK

5290

Ignition 1 Voltage

6

PK/BK

5290

Ignition 1 Voltage

7

GY/WH

3122

Heated Oxygen Sensor Heater Low Control Sensor 2

8

--

--

Not Used

9

TN

2759

Low Reference

10

D-GN/WH

465

Fuel Pump Relay Control

11

TN

5514

A/C Refrigerant Pressure Sensor Low Reference (C60)

12

YE

447

Starter Relay Coil Control

13

YE

492

MAF Sensor Signal

14

GY

2709

5-Volt Reference 1

15

D-BU

1161

APP Sensor 1 Signal

16

BN/WH

379

CPP Switch Signal (MA5)

17

OG/BK

1786

Transmission Park/Neutral Signal (M82)

18

L-GN

24

Backup Lamp Supply Voltage (M82)

19

WH

1310

EVAP Canister Vent Solenoid Control

20

BN

7448

Vacuum Assist Pump Relay Coil Control

21

--

--

Not Used

22

TN

2760

Low Reference

23

TN/WH

3121

Heated Oxygen Sensor Low Signal Sensor 2

24

--

--

Not Used

25

L-BU

1162

APP Sensor 2 Signal

26

--

--

Not Used

27

D-GN

890

Fuel Tank Pressure Sensor Signal

28

--

--

Not Used

29

D-BU

1809

Brake Booster Vacuum Sensor Signal

30

--

--

Not Used

31

D-BU

6306

Clutch Start Neutral Start Signal (MA5)

32-33

--

--

Not Used

34

BN

1271

Low Reference

35

GY

2700

5-Volt Reference 3 (C60)

36

PU

1589

Fuel Level Sensor Signal

37

--

--

Not Used

38

PU

3120

Heated Oxygen Sensor High Signal Sensor 2

39

OG/BK

380

A/C Refrigerant Pressure Sensor Signal (C60)

40

PU

401

OSS Low Signal (MA5)

41

BN

4

Accessory Voltage

42

TN/BK

2500

High Speed GMLAN Serial Data Bus (+)

43

--

--

Not Used

44

D-GN/WH

459

A/C Compressor Clutch Relay Control (C60)

45

--

--

Not Used

46

WH

2368

Cooling Fan Speed Control

47

PU

1272

Low Reference

48

TN

1274

5-Volt Reference 3

49

WH/BK

1164

5-Volt Reference 2

50

L-BU

6289

Induction Air Temperature Sensor Signal

51

--

--

Not Used

52

L-BU

20

Stop Lamp Supply Voltage (M82)

53

YE

400

OSS High Signal (MA5)

54

PK

1039

Ignition 1 Voltage

55

TN

2501

High Speed GMLAN Serial Data BUS (-)

56

RD/WH

840

Battery Positive Voltage

57

--

--

Not Used

58

YE

5991

Powertrain Relay Coil Control

Connector 1: Engine Control Module (ECM) C1
Connector 2: Engine Control Module (ECM) C2

Engine Control Module (ECM) C1


Object Number: 1826274  Size: CH

Connector Part Information

  • OEM:1 928 404 781
  • Service: 88988373
  • Description: 96-Way

Terminal Part Information

  • Terminal/Tray: See Terminal Repair Kit
  • Core/Insulation Crimp: See Terminal Repair Kit
  • Release Tool/Test Probe: See Terminal Repair Kit

Engine Control Module (ECM) C1

Pin

Wire Color

Circuit No.

Function

1

0.5 L-GN

5282

Camshaft Phaser Exhaust Solenoid Control

2

0.5 PU

5284

Camshaft Phaser Intake Soleniod Control

3-4

--

--

Not Used

5

1.0 YE

7301

High Pressure Fuel Pump Actuator High Control

6

0.5 D-GN/WH

428

EVAP Canister Purge Solenoid Control

7

0.5 OG

5275

Camshaft Position Intake Sensor Signal

8-9

--

--

Not Used

10

0.35 OG

225

Generator Turn On Signal

11-12

--

--

Not Used

13

0.35 BN/WH

2130

Low Reference

14

--

--

Not Used

15

0.5 GY

705

5-Volt Reference 2

16

0.5 D-GN

6391

Turbo Bypass Valve Control

17

0.5 TN/BK

231

Oil Pressure Switch Signal

18

0.5 YE

258

Wastegate Solenoid Control

19-23

--

--

Not Used

24

0.8 YE

581

TAC Motor Control - 1

25

--

--

Not Used

26

1.0 L-BU

4804

Direct Fuel Injector (DFI) High Voltage Control Cylinder 4

27

1.0 L-BU/WH

4904

Direct Fuel Injector (DFI) High Voltage Supply Cylinder 4

28

1.0 D-BU

4802

Direct Fuel Injector (DFI) High Voltage Control Cylinder 2

29

1.0 D-BU/WH

4902

Direct Fuel Injector (DFI) High Voltage Supply Cylinder 2

30

0.35 GY

23

Generator Field Duty Cycle Signal

31-33

--

--

Not Used

34

0.5 OG

5273

Camshaft Position Exhaust Sensor Signal

35

0.35 YE

573

CKP Sensor Signal

36

0.5 YE

2918

FRP Sensor Signal

37

0.5 L-GN

432

MAP Sensor Signal

38

0.5 GY

598

5-Volt Reference 1

39

0.5 GY

2701

5-Volt Reference 3

40

--

--

Not Used

41

0.5 TN

552

Low Reference

42

0.5 TN

808

Low Reference

43

--

--

Not Used

44

0.5 TN

2761

Low Reference

45

0.5 GY

605

5-Volt Reference 3

46

0.35 TN

452

Low Reference

47

--

--

Not Used

48

0.8 BN

582

TAC Motor Control - 2

49-50

--

--

Not Used

51

1.0 BN

4801

Direct Fuel Injector (DFI) High Voltage Control Cylinder 1

52

1.0 D-GN

4803

Direct Fuel Injector (DFI) High Voltage Control Cylinder 3

53

1.0 D-GN/WH

4903

Direct Fuel Injector (DFI) High Voltage Supply Cylinder 3

54

0.35 BN/WH

419

MIL Control

55

0.35 PU

2121

IC 1 Control

56

0.35 D-GN/WH

2124

IC 4 Control

57-58

--

--

Not Used

59

0.5 D-BU

496

KS 1 Signal

60

0.5 GY

2303

KS 2 Signal

61-63

--

--

Not Used

64

0.5 TN

407

Low Reference

65

--

--

Not Used

66

0.5 PU

7330

Pre-Throttle Air Temp and Press (TMAP) Air Pressure Signal

67

0.5 TN/WH

3111

Heated Oxygen Sensor Low Signal Sensor 1

68

0.5 WH

5279

Heated Oxygen Sensor Pump Current Sensor 1

69-72

--

--

Not Used

73

1.0 PU

7300

High Pressure Fuel Pump Actuator Low Control

74

--

--

Not Used

75

1.0 BN/WH

4901

Direct Fuel Injector (DFI) High Voltage Supply Cylinder 1

76-77

--

--

Not Used

78

0.35 BN

2129

Low Reference

79

0.35 L-BU

2123

IC 3 Control

80

0.35 OG/WH

2122

IC 2 Control

81

--

--

Not Used

82

0.5 YE

410

ECT Sensor Signal

83

0.5 GY

1716

KS 1 Signal

84

0.5 L-BU

1876

KS 2 Signal

85

--

--

Not Used

86

0.5 L-BU

7329

Pre-Throttle Air Temp and Press (TMAP) Temperature Signal

87

--

--

Not Used

88

0.5 TN

2752

Low Reference

89

0.5 PU

486

TP Sensor 2 Signal

90

0.5 D-GN

485

TP Sensor 1 Signal

91

0.5 L-GN

5278

Heated Oxygen Sensor Input Pump Current Sensor 1

92

0.5 PU/WH

3110

Heated Oxygen Sensor High Signal Sensor 1

93-94

--

--

Not Used

95

0.5 GY

597

5-Volt Reference 1

96

0.5 GY/WH

3113

Heated Oxygen Sensor Heater Low Control Sensor 1

Engine Control Module (ECM) C2


Object Number: 1360604  Size: CH

Connector Part Information

  • OEM: 1 928 404 916
  • Service: See Catalog
  • Description: 58-Way

Terminal Part Information

  • Terminal/Tray: See Terminal Repair Kit
  • Core/Insulation Crimp: See Terminal Repair Kit
  • Release Tool/Test Probe: See Terminal Repair Kit

Engine Control Module (ECM) C2

Pin

Wire Color

Circuit No.

Function

1

2.0 BK/WH

451

Ground

2

2.0 BK/WH

451

Ground

3

0.8 PK/BK

5290

Ignition 1 Voltage

4

1.0 BK/WH

451

Ground

5

0.8 PK/BK

5290

Ignition 1 Voltage

6

0.8 PK/BK

5290

Ignition 1 Voltage

7

0.5 GY/WH

3122

Heated Oxygen Sensor Heater Low Control Sensor 2

8

--

--

Not Used

9

0.5 TN

2759

Low Reference

10

0.5 D-GN/WH

465

Fuel Pump Relay Control

11

0.35 TN

5514

A/C Refrigerant Pressure Sensor Low Reference (C60)

12

0.35 YE

447

Starter Relay Coil Control

13

0.35 YE

492

MAF Sensor Signal

14

0.5 GY

2709

5-Volt Reference 1

15

0.35 D-BU

1161

APP Sensor 1 Signal

16

--

--

Not Used

17

0.5 OG/BK

1786

Transmission Park/Neutral Signal (M82)

18

0.5 L-GN

24

Backup Lamp Supply Voltage (M82)

19

0.5 WH

1310

EVAP Canister Vent Solenoid Control

20

0.35 BN

7448

Vacuum Assist Pump Relay Coil Control

21

--

--

Not Used

22

0.35 TN

2760

Low Reference

23

0.5 TN/WH

3121

Heated Oxygen Sensor Low Signal Sensor 2

24

--

--

Not Used

25

0.35 L-BU

1162

APP Sensor 2 Signal

26

--

--

Not Used

27

0.5 D-GN

890

Fuel Tank Pressure Sensor Signal

28

--

--

Not Used

29

0.5 D-BU

1809

Brake Booster Vacuum Sensor Signal

30

--

--

Not Used

31

--

--

Not Used

32-33

--

--

Not Used

34

0.35 BN

1271

Low Reference

35

0.35 GY

2700

5-Volt Reference 3

36

0.5 PU

1589

Fuel Level Sensor Signal

37

--

--

Not Used

38

0.5 PU

3120

Heated Oxygen Sensor High Signal Sensor 2

39

0.5 OG/BK

380

A/C Refrigerant Pressure Sensor Signal

40

--

--

41

0.35 BN

4

Accessory Voltage

42

0.5 TN/BK

2500

High Speed GMLAN Serial Data Bus (+)

43

--

--

Not Used

44

0.35 D-GN/WH

459

A/C Compressor Clutch Relay Control

45

--

--

Not Used

46

0.35 WH

2368

Cooling Fan Speed Control

47

0.35 PU

1272

Low Reference

48

0.35 TN

1274

5-Volt Reference 3

49

0.35 WH/BK

1164

5-Volt Reference 2

50

0.35 L-BU

6289

Induction Air Temperature Sensor Signal

51

--

--

Not Used

52

0.35 L-BU

20

Stop Lamp Supply Voltage (M82)

53

--

--

Not Used

54

0.5 PK

1039

Ignition 1 Voltage

55

0.5 TN

2501

High Speed GMLAN Serial Data BUS (-)

56

0.5 RD/WH

840

Battery Positive Voltage

57

--

--

Not Used

58

0.35 YE

5991

Powertrain Relay Coil Control