GM Service Manual Online
For 1990-2009 cars only
Figure 1:

Forward Lamp


Object Number: 1579801  Size: LF
(1)X111 (SKY)
(2)G102
(3)J115
(4)Wheel Speed Sensor (WSS) - Right Front
(5)X102
(6)J115
(7)J105
(8)J129
(9)Fuse Block - Underhood
(10)X120
(11)J103
(12)X103
(13)J130
(14)J131
(15)J109
(16)Electronic Brake Control Module (EBCM)
(17)J101
(18)Wheel Speed Sensor (WSS) - Left Front
(19)G101
(20)G105
(21)X110 (SKY)
Figure 2:

Engine Harness - Left Side (LE5)


Object Number: 1583583  Size: LF
(1)X160
(2)J104
(3)J108
(4)Engine Control Module (ECM)
(5)Transmission Control Module (TCM) (M82)
(6)Starter Motor
Figure 3:

Engine Harness Routing Views - Left (LNF)


Object Number: 1749129  Size: LF
(1)Fuse Block-Underhood
(2)X162
(3)Transmission Control Module (TCM) (M82)
(4)Engine Control Module (ECM) Bracket
(5)J137
(6)J142
(8)J120
(9)Engine Harness
Figure 4:

Engine Harness - Right Side (LE5)


Object Number: 1583619  Size: LF
(1)J107
(2)J106
(3)J108
(4)Fuse Block - Underhood Bracket
(5)X100
(6)Fuse Block - Underhood
(7)Engine Coolant Temperature (ECT) Sensor
(8)Camshaft Position (CMP) Actuator Solenoid - Exhaust
(9)G103
(10)Evaporative Emission (EVAP) Canister Purge Solenoid Valve
Figure 5:

X100, X120 and X122


Object Number: 1845295  Size: LF
(1)Fuse Block - Underhood
(2)X500
(3)X100
(4)X120
(5)X122 (SKY)
(6)X600
Figure 6:

Instrument Panel Body Harness Splices - Rear Compartment Area


Object Number: 1851951  Size: LF
(1)J415
(2)J403
(3)J300
(4)J311
(5)J318
(6)X316
(7)J303 (JL9)
(8)J304 (JL9)
Figure 7:

Lower Right Side of Instrument Panel


Object Number: 1631787  Size: LF
(1)Air Temperature Actuator - Right
(2)Air Temperature Actuator - Left
(3)Mode Actuator
(4)Ambient Light Sensor
(5)Air Vent Grille
(6)HVAC Control Module
(7)X216
(8)X218
(9)Blower Motor
(10)Blower Motor Connector
(11)Blower Motor High Speed Relay
(12)Blower Motor Resistor Assembly
(13)X208
Figure 8:

Instrument Panel Harness - Behind the Driver and Passenger Seat Area


Object Number: 1583494  Size: LF
(1)J300
(2)J226
(3)G303
(4)J400
(5)G301
(6)G304
(7)J205
(8)G300
(9)X317
(10)X316
(11)J303 (JL9)
(12)J304 (JL9)
(13)G302
Figure 9:

Underneath Floor Shifter (M82)


Object Number: 1848352  Size: LF
(1)X207
(2)Floor Shifter
Figure 10:

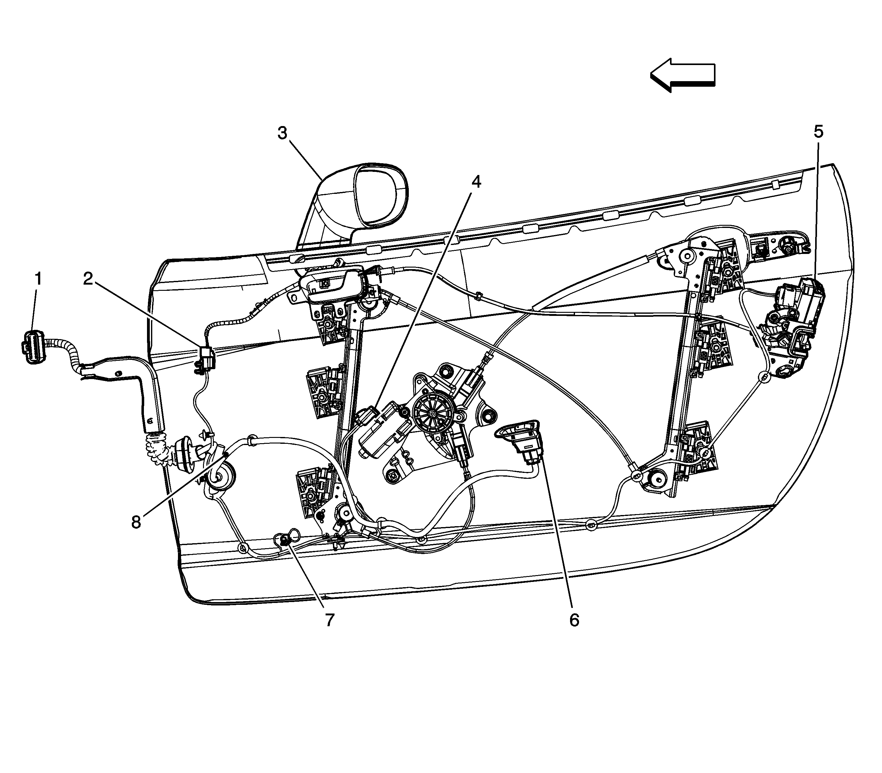
Driver Door


Object Number: 1583482  Size: LF
(1)Outside Rearview Mirror Switch
(2)Outside Rearview Mirror - Driver
(3)Outside Rearview Mirror Connector - Driver
(4)X501
(5)X500
(6)J501
(7)Speaker Connector - Left Front
(8)J500
(9)Window Motor - Driver
(10)Window Switch - Driver
(11)Door Lock Actuator - Driver
Figure 11:

Passenger Door


Object Number: 1583492  Size: LF
(1)X600
(2)Outside Rearview Mirror Connector - Passenger
(3)Outside Rearview Mirror - Passenger
(4)Window Motor - Passenger
(5)Door Lock Actuator - Passenger
(6)Window Switch - Passenger
(7)Speaker Connector - Right Front
(8)J600
Figure 12:

Rear Fascia Harness Routing (SKY)


Object Number: 1845378  Size: LF
(1)X405
(2)X410
(3)X408
(4)X406
(5)X400
(6)X407
Figure 13:

Rear Fascia Harness (Solstice)


Object Number: 1583560  Size: LF
(1)X400
(2)J401
(3)Backup Lamp - Right
(4)J402
(5)Center High Mounted Stop Lamp (CHMSL)
(6)License Lamp
Figure 14:

Entertainment Components


Object Number: 1631579  Size: LF
(1)Speaker - Left Tweeter
(2)Cellular Telephone Microphone (UE1)
(3)Steering Wheel Control Switch - Right (UK3)
(4)Radio
(5)Speaker - Right Tweeter
(6)Windshield Side Molding Garnish - Right
(7)Speaker - Right Front
(8)Antenna
(9)Speaker - Right Rear
(10)Instrument Panel Body Harness
(11)Speaker - Subwoofer (UQ3)
(12)X401 (U2K)
(13)Digital Radio Receiver (U2K)
(14)Cellular and Navigational Antenna (UE1/U2K)
(15)Audio Amplifier (UQ3)
(16)Speaker - Left Rear
(17)Speaker - Left Front
(18)Steering Wheel Control Switch - Left (K34)
(19)Windshield Side Molding Garnish - Left
(20)Horn Switch