GM Service Manual Online
For 1990-2009 cars only
    • J 8059 Snap Ring Pliers
    • J 42572 Drive Axle Boot Clamp Pliers

Note: The inner Constant Velocity Joint is not serviced separately. If the CV joint is found to have excessive wear or damaged, replace the wheel drive shaft as an assembly.

Disassemble Procedure

  1. Remove the wheel drive shaft. Refer to Wheel Drive Shaft Replacement.
  2. Remove the outer CV joint and boot. Refer to Wheel Drive Shaft Outer Joint and Boot Replacement.

  3. Object Number: 2093277  Size: SH

    Caution: Do not cut through the wheel drive shaft inboard or outboard boot during service. Cutting through the boot may damage the sealing surface of the housing and the tripot or the constant velocity joint bushing. Damage to the sealing surface may lead to water and dirt intrusion and premature wear of the constant velocity joint.

  4. Using the appropriate tool, remove and discard the outer boot clamp (3) and the inner boot clamp (2) from the CV joint (4).
  5. Note: If the boot is damaged and either the lubricant is gone, water or other foreign material are found in the CV joint, replace the wheel drive shaft as an assembly.


    Object Number: 2093303  Size: SH
  6. Remove the CV joint boot (2) from the CV joint (3) and the wheel drive shaft (1).
  7. Using the appropriate cleaner, remove the lubricant from the CV joint and the wheel drive shaft.

Assemble Procedure


    Object Number: 1393549  Size: SH
  1. Install the CV joint boot and clamp (1) on the wheel drive shaft and CV joint housing (2).

  2. Object Number: 2008321  Size: SH
  3. Ensure that the CV joint boot (1) is properly seated in the groove (2) in the wheel drive shaft (3).

  4. Object Number: 2087929  Size: SH
  5. Using the J 42572 pliers , breaker bar, torque wrench and or ratchet (1), close the clamp (2) until the gap (3) measures 1.00 mm (0.039 in).

  6. Object Number: 2093980  Size: SH
  7. Place approximately half of the lubricant (1)  in the CV joint boot (2)  and the other half in the CV joint (3).
  8. Install the CV joint boot and clamp (2) CV joint housing (1).

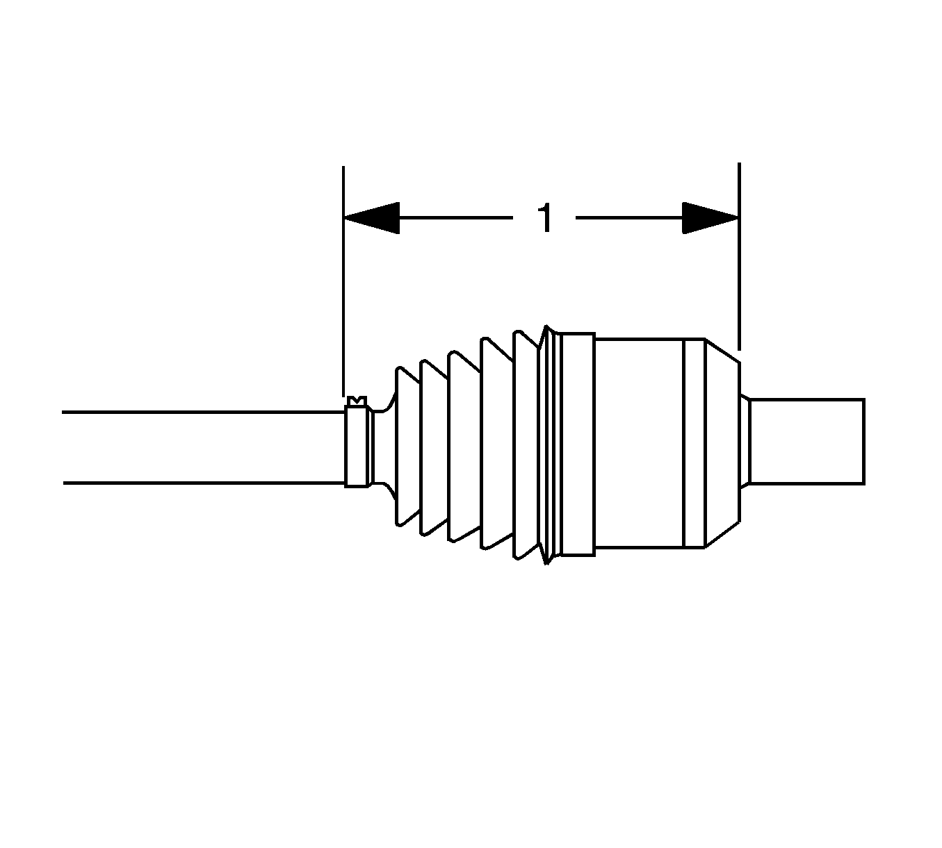
  9. Object Number: 1231640  Size: SH
  10. The measured distance (1) between the boot edges should be 88.6 mm (3.50 in)..

  11. Object Number: 2058269  Size: SH
  12. Using the J 42572 pliers  (3), breaker bar (5) and a torque or racket wrench (4), close the clamp until the gap measures  1.0 mm (0.039 in).
  13. Move the CV joint in a circular motion to distribute the lubricant inside the cv joint housing.
  14. Clean any remaining lubricant from the outside of the CV joint.
  15. Install the outer CV joint and boot. Refer to Wheel Drive Shaft Outer Joint and Boot Replacement.
  16. Install the wheel drive shaft. Refer to Wheel Drive Shaft Replacement.