THIS CAMPAIGN CANCELS AND SUPERSEDES PREVIOUS CAMPAIGN 2D08 RELEASED APRIL 1992. IT HAS BEEN DETERMINED THAT SOME THROTTLE CABLES INSTALLED IN -THE PREVIOUS CAMPAIGN 2D08 MAY NOT HAVE BEEN THE NEWEST DESIGN AND MAY NOT BE EFFECTIVE IN PREVENTING WATER INTRUSION INTO THE CABLE HOUSING.
VEHICLES SERVICED UNDER THE PREVIOUS RECALL CAMPAIGN ARE TO BE INSPECTED FOR THE PRESENCE OF THE NEWEST STYLE THROTTLE CABLE PER INSTRUCTIONS IN STEP TWO (2) OF THE SERVICE PROCEDURE IN THIS BULLETIN.
VEHICLES NOT INCLUDED IN, OR SERVICED UNDER THE PREVIOUS CAMPAIGN 2D08 ARE TO HAVE A NEW THROTTLE CABLE INSTALLED AS PER THE SERVICE PROCEDURE IN THIS BULLETIN.
General Motors of Canada Limited has determined that a defect which relates to motor vehicle safety exists in certain 1992-93 Pontiac Sunbird Models. The accelerator control cable on some vehicles may develop a high effort and/or binding condition in very cold weather.
Under certain conditions, water may enter the cable conduit. In very cold weather the water may freeze in the cable conduit, resulting in high accelerator pedal effort or binding of the accelerator control cable. If the accelerator control cable requires high effort or binds, loss of normal throttle control may result, or the throttle may not retun to idle when the accelerator pedal is released. If this were to occur while the vehicle was in motion, a vehicle crash could occur without prior warning.
To prevent this condition from occurring, dealers are to replace the accelerator control cable assembly.
Involved are certain 1992-93 Pontiac Sunbird model vehicles built within the following VIN breakpoints:
Plant Year Model Plant Code From Through --------------------------------------------------------------------------- 1992 J-Car Lordstown "7" N7500002 N7600508 1993 J-Car Lordstown "7" P7500001 P7570124 1993 J-Car Ramos Arizpe "S" PS800001 PS834784
All affected vehicles have been identified by the VIN listing provided to involved dealers with this bulletin. Any dealer not receiving a listing was not shipped any of the affected vehicles.
All unsold new vehicles in dealer's possession and subject to this campaign must be held and inspected/repaired per the Service Procedure of this Campaign Bulletin before owners take possession of these vehicles.
Dealers are to perform this campaign on all involved vehicles at no charge to owners, regardless of kilometers traveled, age of vehicle, or ownership, from this time forward.
Owners of vehicles recently sold from your new vehicle inventory with no owner information indicated on the dealer listing, are to be contacted by the dealer, and arrangements made to make the required correction according to instructions contained in this bulletin. This could be done by mailing to such owners a copy of the owner letter accompanying this bulletin. Campaign follow- up cards should not be used for this purpose, since the owner may not as yet have received the notification letter.
In summary, whenever a vehicle subject to this campaign is taken into your new or used vehicle inventory, or is in your dealership for service in the future, please take the steps necessary to be sure the campaign correction has been made before selling or releasing the vehicle.
Refer to Section 4 of the Service Policies and Procedures Manual for the detailed procedure on handling Product Campaigns. Dealers are requested to complete the campaign on all transfers as soon as possible.
All owners of record at the time of campaign release are shown on the attached computer listing and have been notified by first class mail from General Motors (see copy of owner letter included with this bulletin). The listings provided are for campaign activity only and should not be used for any other purpose.
Parts required to complete this campaign should be ordered through regular channels, as follows:
Part Number Description Quantity/Vehicle ---------------------------------------------------------------------------- 22593226 Cable Assembly - Accelerator Control 1 Except Cruise Control 22593227 Cable Assembly - Accelerator Control 1 With Cruise Control (RPO K34)
Credit for the campaign work performed will be paid upon receipt of a properly completed campaign claim card or DCS transmission in accordance with the following:
1A Inspect For Newest Style Cable Only .3 2A Replace Accelerator Cable Without Cruise Control .5 3A Replace Accelerator Cable With Cruise Control .6
Time allowance includes 0.1 hour for dealer administrative detail associated with this campaign.
Parts credit will be based on dealer net plus 30% to cover parts handling.
1. Open hood and support using hood support rod.
2. Check for presence of newest style accelerator control cable as follows:
A. Inspect the vertical portion of the cable just below the throttle body.
B. The old-style cable can be identified by a black slug that is crimped onto the throttle cable above the umbrella, or water deflector. This slug is black, and the top of die slug has a slight depression in it.
C. The new-style cable can be identified by a silver colored zinc die-cast slug that has been cast-in-place on the throttle cable above the umbrella, or water deflector. This slug is silver colored and cone-shaped (the top of the slug is pointed).
If the vehicle is found to be equipped with the newest style throttle cable (cast-in-place, silver colored, cone-shaped slug), proceed to step twenty-six (26) of the service procedure, and install the campaign identification label.
If the vehicle is found to be equipped with the older style throttle cable (crimped on, black color, depression at top), proceed to step three (3) of the service procedure.
3. Remove two screws and two nuts from the left side lower sound insulator panel. Disconnect the courtesy lamp connector and remove the sound insulator panel. See figure 1.
4. Release the accelerator cable retainer from the accelerator pedal lever assembly. See figure 2.
5. Depress the accelerator cable locking tabs and carefully push the cable housing forward through the cowl toward the engine compartment.
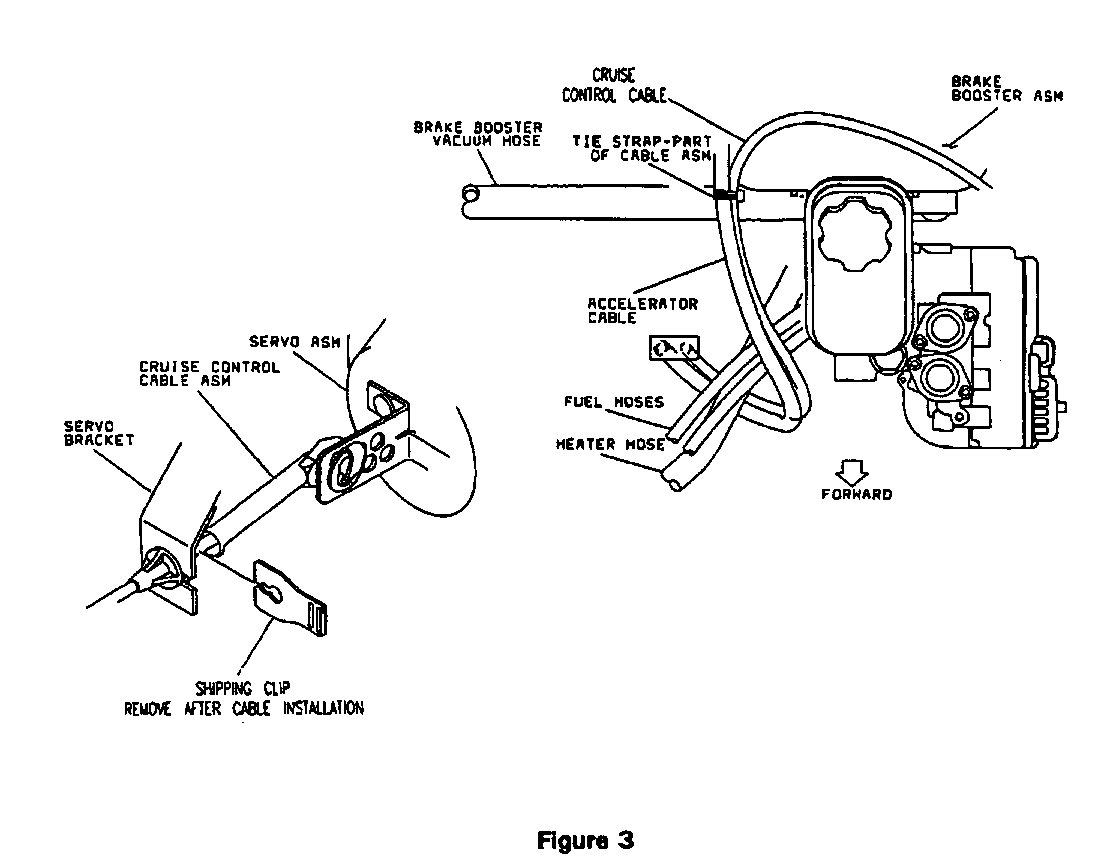
6. On vehicles equipped with cruise control, observe the routing of the cruise control cable from the accelerator control bracket to the cruise control servo bracket.
On 1992 vehicles with cruise control, the cruise control cable is routed through a retainer on the brake booster assembly and then routed to the cruise control servo bracket.
On 1993 vehicles equipped with cruise control, the cruise control cable is retained to the accelerator control cable with a tie strap, and routed directly over the brake booster assembly to the cruise control servo bracket. There is no retainer on the brake booster assembly.
Both 1992 and 1993 vehicles equipped with cruise control will be serviced using the 1993 routing. The new (replacement) cruise control cable should not be routed through the retainer on the brake booster assembly.
7. On 1992 vehicles equipped with cruise control, disengage the cruise control servo cable from the retaining clip mounted on the inboard side of the brake vacuum booster assembly. Some 1992 vehicles may also have the accelerator cable retained in the booster-mounted clip. Disengage the accelerator cable from the retaining clip if it is routed through the clip.
8. Disengage the accelerator control cable cross slug from the throttle body pulley/cam. On vehicles equipped with cruise control, disengage the cruise control servo cable from the throttle body lever by removing the cable retaining clip.
9. Depress the accelerator/cruise control cable locking tabs and disengage the cable assembly from the engine accelerator control cable bracket.
10. On vehicles equipped with cruise control, disengage the cruise control servo cable from the servo by removing the cable retaining clip. Depress the cruise control cable locking tabs and disengage the cruise control cable from the cruise control servo bracket.
11. Remove the old cable assembly from the vehicle.
12. Position the new accelerator control cable assembly to the engine accelerator control cable bracket, partially routing the accelerator cable under the fuel feed and return pipes and the heater hose. See figures 3 and 4.
13. Attach the accelerator control cable assembly to the accelerator control cable bracket by pushing the cable fitting into the bracket until the locking tabs are fully engaged in the bracket.
14. Slide the accelerator control cable cross slug into the throttle body pulley/cam, and properly position the cable in the pulley/cam channel.
15. On vehicles equipped with cruise control, position the fitting end of the cruise control servo cable to the throttle body lever stud and secure by installing the cable retaining clip.
16. From the accelerator control cable bracket, route the accelerator control cable under the fuel feed and return pipes/hoses and the heater hose, inboard of the brake master cylinder and brake booster assembly, and through the accelerator cable opening in the cowl. See figures 3 and 4. On vehicles equipped with automatic transmission, the accelerator cable should be routed between the brake master cylinder and the transaxle fluid fill tube.
17. Make sure that the cable housing is not kinked, twisted, or damaged in any way. Secure the accelerator control cable assembly to the cowl by pushing the cable fitting into the cowl opening until the locking tabs are fully engaged.
18. Position the accelerator control cable in the slot in the accelerator pedal lever assembly, and install the plastic cable retainer to the accelerator pedal lever. Make sure the cable retainer is fully seated in the accelerator pedal lever.
19. Check for proper, unrestricted operation of the throttle linkage. The linkage must operate freely between idle and full wide open throttle.
20. On vehicles equipped with cruise control, route the cruise control cable inboard of and over the top of the brake vacuum booster to the cruise control servo bracket.
21. Attach the cruise control cable to the cruise control servo bracket by pushing the cable fitting into the bracket until the locking tabs are fully engaged in the bracket. Make sure that the cruise control cable is not twisted, kinked, or damaged in any way.
22. Adjust the cruise control cable, and secure the cable to the servo assembly using the following procedure:
A. Both ends of the cable must be completely engaged in their brackets, and the cruise control cable must be attached to the throttle body lever stud with the retainer installed.
B. Pull the servo end of the cruise control cable toward the servo without moving the throttle body lever.
C. If one of the six (6) holes in the servo assembly tab lines up with the cable pin, connect the pin to the tab and secure by installing the cable retaining -clip.
D. If a tab hole does not line up with the cable pin, move the cable away from the servo. assembly until the next closest tab hole lines up with the cable pin. Connect the pin to the tab and secure by installing the cable retaining clip. See figure 3.
23. After the cruise control cable is completely installed, remove the shipping clip from the end of the cable near the servo. See figure 3.
24. Check for proper operation of the throttle and cruise control linkages. The linkages must operate freely between the idle and full wide open throttle positions.
25. Reconnect the courtesy lamp and reinstall the left side sound insulator panel.
26. Install Campaign Identification Label.
Clean surface of radiator upper mounting panel and apply a Campaign Identification Label. Make sure the correct campaign number is inserted on the label. This will indicate that the campaign has been completed.
Dear General Motors Customer
General Motors of Canada Limited has determined that a defect which relates to motor vehicle safety exists in certain 1992-93 Pontiac Sunbird Models. The accelerator control cable on some vehicles may develop a high effort and/or binding condition in very cold weather.
EVEN IF YOUR, VEHICLE HAS RECENTLY HAD THE THROTTLE CABLE REPLACED UNDER A PREVIOUS CAMPAIGN, DO NOT DISREGARD THIS SAFETY NOTICE,
IT HAS BEEN DETERMINED THAT THE NEW THROTTLE CABLE INSTALLED IN THE PREVIOUS CAMPAIGN (ON 1992 MODELS ONLY) MAY NOT BE EFFECTIVE IN PREVENTING WATER INTRUSION INTO THE CABLE HOUSING.
EVEN IF YOU HAVE ALREADY HAD A NEW THROTTLE CABLE INSTALLED UNDER THE PREVIOUS CAMPAIGN, IT IS IMPORTANT THAT YOU CONTACT YOUR DEALER AS SOON AS POSSIBLE REGARDING THIS NOTICE.
Under certain conditions, water may enter the cable conduit. In very cold weather the water may freeze in the cable conduit, resulting in high accelerator pedal effort or binding of the accelerator control cable. If the accelerator control cable requires high effort or binds, loss of normal throttle control may result, or the throttle may not return to idle when the accelerator pedal is released. If this were to occur while the vehicle was in motion, a vehicle crash could occur without prior warning.
To prevent this condition from occurring, we will replace the accelerator control cable assembly. This service will be provided for you at no charge.
Please contact your GM dealer as soon as possible to arrange a service date.
If parts are required, ask your dealer for details regarding their availability. If parts are not in stock, they can be ordered before scheduling your service date.
This letter identifies your vehicle. Presentation of this letter to your dealer will assist their Service personnel in completing the necessary correction to your vehicle in the shortest possible time.
We are sorry to cause you this inconvenience; however, we have taken this action in the interest of your continued satisfaction with our products.
Customer Support Department General Motors of Canada Limited
General Motors bulletins are intended for use by professional technicians, not a "do-it-yourselfer". They are written to inform those technicians of conditions that may occur on some vehicles, or to provide information that could assist in the proper service of a vehicle. Properly trained technicians have the equipment, tools, safety instructions and know-how to do a job properly and safely. If a condition is described, do not assume that the bulletin applies to your vehicle, or that your vehicle will have that condition. See a General Motors dealer servicing your brand of General Motors vehicle for information on whether your vehicle may benefit from the information.