GM Service Manual Online
For 1990-2009 cars only

SMU-SECTION 8A-122 POWER SUNROOF - NEW WIRING

SUBJECT: SERVICE MANUAL UPDATE - SECTION 8A-122 - POWER SUNROOF - NEW WIRING GRAPHIC AND LEGEND FOR SUNROOF MOTOR ASSEMBLY LIMIT SWITCHES

MODELS: 1996 CHEVROLET CAVALIER 1996 PONTIAC SUNFIRE 1996 TOYOTA CAVALIER

THIS BULLETIN IS BEING ISSUED TO ADD A WIRING GRAPHIC AND LEGEND TO SECTION 8A-122 (POWER SUNROOF) OF THE SERVICE MANUAL.

THE LEGEND WILL ASSIST THE TECHNICIAN IN PROPER WIRE REPLACEMENT AND THE SOLDERING OF WIRES TO THE VENT LIMIT SWITCH AND THE SOFT STOP LIMIT SWITCH FOUND ON THE SUNROOF MOTOR ASSEMBLY.

PLEASE ADD THE FOLLOWING GRAPHIC AND LEGEND TO THE APPROPRIATE SERVICE MANUAL.

FIGURES: 01 ATTACHMENTS: 00

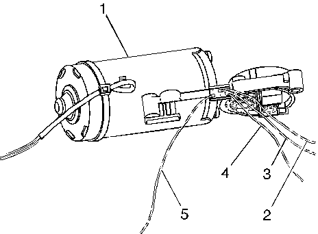
FIGURE 1 - SUNROOF MOTOR ASSEMBLY AND WIRE PLACEMENT GUIDE 1. SUNROOF MOTOR ASSEMBLY 2. BLUE WIRE COMING FROM SUNROOF CONTROL MODULE CONNECTOR C1, TERMINAL 1 3. RED WIRE COMING FROM SUNROOF CONTROL MODULE CONNECTOR C1, TERMINAL 8 4. BLUE WIRE COMING FROM SUNROOF CONTROL MODULE CONNECTOR C1, TERMINAL 1 5. YELLOW WIRE COMING FROM SUNROOF CONTROL MODULE CONNECTOR C1, TERMINAL 2


Object Number: 169516  Size: SH

GENERAL MOTORS BULLETINS ARE INTENDED FOR USE BY PROFESSIONAL TECHNICIANS, NOT A "DO-IT-YOURSELFER". THEY ARE WRITTEN TO INFORM THOSE TECHNICIANS OF CONDITIONS THAT MAY OCCUR ON SOME VEHICLES, OR TO PROVIDE INFORMATION THAT COULD ASSIST IN THE PROPER SERVICE OF A VEHICLE. PROPERLY TRAINED TECHNICIANS HAVE THE EQUIPMENT, TOOLS, SAFETY INSTRUCTIONS AND KNOW-HOW TO DO A JOB PROPERLY AND SAFELY. IF A CONDITION IS DESCRIBED, DO NOT ASSUME THAT THE BULLETIN APPLIES TO YOUR VEHICLE, OR THAT YOUR VEHICLE WILL HAVE THAT CONDITION. SEE A GENERAL MOTORS DEALER SERVICING YOUR BRAND OF GENERAL MOTORS VEHICLE FOR INFORMATION ON WHETHER YOUR VEHICLE MAY BENEFIT FROM THE INFORMATION.

COPYRIGHT 1997 GENERAL MOTORS CORPORATION. ALL RIGHTS RESERVED.