GM Service Manual Online
For 1990-2009 cars only

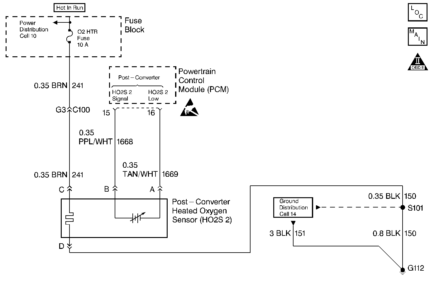
Object Number: 25478  Size: MF
Engine Controls Components
Oxygen Sensors
OBD II Symbol Description Notice
Handling ESD Sensitive Parts Notice

Circuit Description

In order to control emissions, a catalytic converter converts any harmful exhaust emissions into harmless water vapor and carbon dioxide.

The Powertrain Control Module (PCM) has the capability to monitor this process by using a rear heated oxygen sensor (HO2S 2). The HO2S 2 , located in the exhaust stream past the catalytic converter, produces an output signal which indicates the storage capacity of the catalyst. This in turn indicates the catalyst's ability to convert the exhaust emissions effectively. If the catalyst is functioning properly, the HO2S 2 signal will be far less active than the signal produced by the front oxygen sensor (O2S 1).

Replace the entire HO2S 2 assembly. Do not attempt to repair the HO2S 2 if the following conditions exist:

    • Damaged wiring
    • Damaged electrical connectors
    • Damaged terminals

Obstruction of the air reference and degraded HO2S 2 performance could result from any attempt to repair the above conditions.

The HO2S 2 must have a clean air reference in order for the HO2S 2 to function properly. This clean air reference is obtained by way of the HO2S 2 wires.

Conditions for Setting the DTC

    • DTC's P0106, P0107, P0112, P0113, P0117, P0118, P0121, P0122, P0123, P0200, P0300, P0301, P0302, P0303, P0304, P0506, P0507, P1406, P1441 not set.
    • Engine run time is greater than 25 seconds.
    • Engine Coolant Temperature (ECT) is greater than 40° C (104° F).
    • Air/fuel ratio is between 14.5:1 and 14.7:1.
    • Throttle Position (TP) angle is between 8 % and 50 % (manual trans.).
        Or
    • Throttle Position (TP) angle is between 5 % and 50 % (auto trans.).
    • Engine has met the above conditions for 140 seconds.
    • O2S 1 voltage is greater than 1042 mV for 50 to 75 seconds.

Action Taken When the DTC Sets

    • The malfunction indicator lamp (MIL) will illuminate after two consecutive ignition cycles in which the diagnostic runs with the malfunction present.
    • The PCM will record the operating conditions at the time that the diagnostic fails. This information will store in the Freeze Frame and Failure Records buffers.
    • A history DTC stores.
    • The coolant fan turns ON.

Conditions for Clearing the MIL/DTC

    • The MIL will turn OFF after three consecutive ignition cycles in which the diagnostic runs without a fault.
    • A history DTC will clear after 40 consecutive warm-up cycles without a fault.
    • The MIL/DTCs can be cleared by using the scan tool.

Diagnostic Aids

Check for the following conditions:

    • A rich exhaust--An overly rich exhaust may load the catalyst, causing high HO2S 2 signal voltages.
    • Silicone contamination--Silicone contamination of HO2S 2 could cause a false rich condition . A powdery white deposit on the sensor will indicate this condition.
    • A malfunctioning HO2S 2--If there is an internal short in the HO2S 2, the HO2S 2 voltage displayed on a scan tool will be more than 1.0 volt. Disconnect the HO2S 2 and connecting a jumper wire between the HO2S 2 low circuit to engine ground. Replace the HO2S 2 if the displayed voltage goes from more than 1000 mV to approximately 450 mV .
    • An intermittent test--Observe the HO2S 2 on the scan tool while moving the related electrical connectors and the wiring harness with the ignition switch turned ON. If the malfunction is induced, the HO2S 2 display will change. This should help isolate the location of the malfunction.
    • Damaged harness--Inspect PCM harness for a short to voltage in the HO2S 2 signal circuit.

An intermittent could be the result of the following conditions:

    • A poor electrical connection
    • Rubbed-- through wire insulation
    • A broken wire inside of the insulation

Replace the entire HO2S 2 assembly. Do not attempt to repair the HO2S 2 if the following conditions exist:

    • Damaged wiring
    • Damaged electrical connectors
    • Damaged terminals

Obstruction of the air reference and degraded HO2S 2 performance could result from any attempt to repair the above conditions.

The HO2S 2 must have a clean air reference in order for the HO2S 2 to function properly. This clean air reference is obtained by way of the HO2S 2 wires.

Test Description

Number(s) below refer to the step number(s) on the Diagnostic Table.

  1. The Powertrain OBD System Check prompts the technician to complete some basic checks and store the freeze frame and failure records data on the scan tool if applicable. This creates an electronic copy of the data taken when the fault occurred. The information is then stored on the scan tool for later reference.

  2. This step determines if DTC P0138 is the result of a hard failure or an intermittent condition.

  3. Disconnecting HO2S 2 and jumpering CKT's 1668 and 1669 to ground should cause the scan tool to display HO2S 2 voltage below 100 mV (0.1V). If the signal voltage is still high, the PCM is faulty.

  4. Replacement PCM's must be reprogrammed. Refer to the latest Techline information for programming procedures.

DTC P0138-Heated Oxygen Sensor (HO2S) Circuit High Voltage (Sensor 2)

Step

Action

Value(s)

Yes

No

1

Was the Powertrain On-Board Diagnostic (OBD) System Check performed?

--

Go to Step 2

Go to

Powertrain On Board Diagnostic (OBD) System Check 2.4L

Powertrain On Board Diagnostic (OBD) System Check 2.2L

2

  1. Turn the ignition switch ON, with the engine OFF.
  2. Install a scan tool.

Is the HO2S 2 sensor voltage above the specified value?

1042 mV (1.042V)

Go to Step 4

Go to Step 3

3

  1. Turn the ignition switch ON, with the engine OFF.
  2. Review the Freeze Frame data and note the parameters.
  3. Operate the vehicle within the Freeze Frame conditions and Conditions For Setting The DTC as noted.

Is the HO2S 2 sensor voltage above the specified value?

1042 mV (1.042V)

Go to Step 4

Go to Step 9

4

  1. Turn the ignition switch OFF.
  2. Disconnect the HO2S 2 electrical connector.
  3. Disconnect the PCM electrical connector.
  4. With a DVM connected to ground, probe the HO2S 2 sensor high signal circuit.

Does the DVM indicate a voltage of the specified value?

0V ( 0.5)

Go to Step 5

Go to Step 6

5

  1. Reconnect the PCM electrical connectors.
  2. Turn the ignition switch ON, with the engine OFF.
  3. Jumper the high and low circuits at the HO2S 2 electrical connector (PCM side) to ground.

Does the scan tool indicate the HO2S 2 sensor voltage below the specified value?

100 mV (0.10V)

Go to Step 7

Go to Step 8

6

Repair the short to voltage in the HO2S 2 sensor high circuit.

Is the action complete?

--

Go to Step 9

--

7

Replace the HO2S 2 sensor.

Is the action complete?

--

Go to Step 9

--

8

Replace the PCM.

Is the action complete?

--

Go to Step 9

--

9

  1. Using the scan tool, clear the DTC's.
  2. Start the engine and idle at normal operating temperature.
  3. Operate the vehicle within the conditions for setting this DTC as specified in the supporting text.

Does the scan tool indicate that this diagnostic ran and passed?

--

Go to Step 10

Go to Step 2

10

Check if any additional DTC's are set.

Are any DTC's displayed that have not been diagnosed?

--

Go to applicable DTC table

System OK