GM Service Manual Online
For 1990-2009 cars only

Object Number: 27264  Size: MF
Engine Controls Components
Ignition Controls
OBD II Symbol Description Notice
Handling ESD Sensitive Parts Notice

Circuit Description

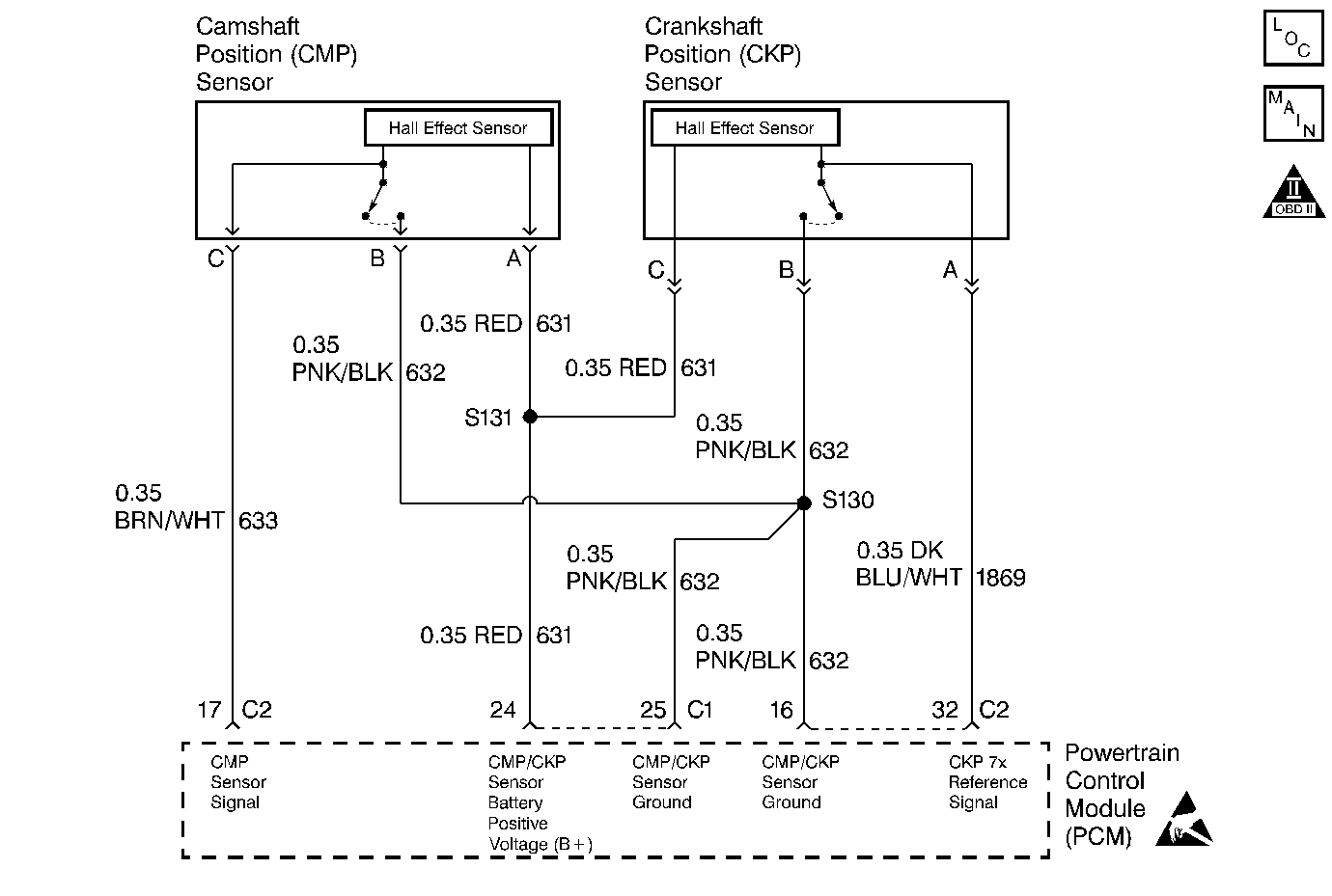
The camshaft position (CMP) sensor correlates the crankshaft to camshaft position so that the Powertrain Control Module (PCM) can determine which cylinder is ready to be fueled by the injector. The CMP sensor also determines which cylinder is misfiring when a misfire is present. If the PCM receives an intermittent signal from the CMP, then the CMP Resync Counter will increment. When the PCM cannot use the information from the CMP sensor, a DTC is set and the PCM will fuel the engine by using the alternating synchronous double fire (ASDF) method.

Conditions for Setting the DTC

    • The engine is running.
    • The PCM sees more than 15 CMP sensor resyncs in 256 seconds (4 min, 16 sec).

Action Taken When the DTC Sets

    • The malfunction indicator lamp (MIL) illuminates.
    • The PCM records the operating conditions at the time when the diagnostic fails. This information stores in the Freeze Frame and Failure Records buffers.
    • A history DTC stores.
    • The coolant fan turns ON.

Conditions for Clearing the MIL/DTC

    • The MIL will turn OFF after three consecutive ignition cycles in which the diagnostic runs without a fault.
    • A history DTC will clear after 40 consecutive warm-up cycles without a fault.
    • The MIL/DTCs can be cleared by using the scan tool.

Diagnostic Aids

    • An Intermittent problem may be caused by the following conditions:
       - A poor electrical connection
       - Rubbed-through wire insulation
       - A broken wire inside the insulation
    • Check any suspected circuitry for the following conditions:
       - Backed-out terminals
       - Improper mating
       - Broken locks
       - Improperly formed or damaged terminals
       - Poor terminal-to-wiring connections
       - Physical damage to the wiring harness.
    • If the PCM sees less than 15 resyncs in 256 seconds, the counter is reset to 0. Anytime a poor electrical connection is present, the CMP Reference Activity counter will stop incrementing and the CMP Resync Counter will increment.

Test Description

Number(s) below refer to the step number(s) on the Diagnostic Table.

  1. The Powertrain OBD System Check prompts the technician to complete some basic checks and store the freeze frame and failure records data on the scan tool if applicable. This creates an electronic copy of the data taken when the fault occurred. The information is then stored on the scan tool for later reference.

  2. This step determines if DTC P0341 is the result of a hard failure or an intermittent condition.

  3. The counter should stop incrementing with the sensor electrical connector disconnected and set a DTC P0342 after two ignition cycles with the sensor disconnected. If it stills increments the PCM is faulty.

  4. By moving the CMP sensor electrical connector, the connections at the sensor are checked. Make sure electrical connector remains securely fastened.

  5. A poor connection in any of the circuits at the CMP sensor will cause the CMP Resync Counter to increment. Anytime a poor connection is present, the CMP Reference Activity counter will stop incrementing and the CMP Resync Counter will increment.

DTC P0341 - Camshaft Position (CMP) Sensor Circuit Performance

Step

Action

Value(s)

Yes

No

1

Was the Powertrain On-Board Diagnostic (OBD) System Check performed?

--

Go to Step 2

Go to

Powertrain On Board Diagnostic (OBD) System Check 2.4L

Powertrain On Board Diagnostic (OBD) System Check 2.2L

2

  1. With the engine idling.
  2. Install a scan tool.

Is the CMP Resync Counter incrementing?

--

Go to Step 3

Go to Step 4

3

Disconnect the Camshaft Position (CMP) sensor electrical connector.

Did the CMP Resync Counter stop incrementing?

--

Go to Step 5

Go to Step 6

4

With the engine still running, wiggle the CMP sensor electrical connector by hand.

Did the CMP Resync Counter start to increment?

--

Go to Step 5

Go to Step 8

5

Check for a poor connections at the CMP sensor electrical connector and repair as necessary.

Was a repair necessary?

--

Go to Step 9

Go to Step 7

6

Replace the PCM.

Is the action complete?

--

Go to Step 9

--

7

Replace the Camshaft Position (CMP) sensor.

Is the action complete?

--

Go to Step 9

--

8

  1. Turn the ignition switch ON, with the engine OFF.
  2. Review the Freeze Frame data and note the parameters.
  3. Operate the vehicle within the Freeze Frame conditions and Conditions For Setting The DTC as noted.

Is the CMP Resync Counter incrementing?

--

Go to Step 3

Go to Step 9

9

  1. Using the scan tool, clear the DTC's.
  2. Start the engine and idle at normal operating temperature.
  3. Operate the vehicle within the conditions for setting this DTC as specified in the supporting text.

Does the scan tool indicate that this diagnostic has ran and passed?

--

Go to Step 10

Go to Step 2

10

Check if any additional DTC's are set.

Are any DTC's displayed that have not been diagnosed?

--

Go to applicable DTC table

System OK