GM Service Manual Online
For 1990-2009 cars only
Table 1: Trans Range Scan Tool Data
Table 2: DTC P0705-Transaxle Range Switch Circuit

Object Number: 27325  Size: LF
Engine Controls Components
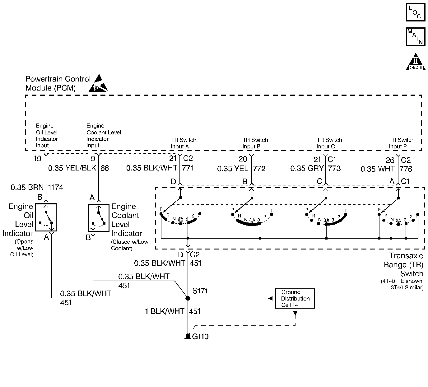
IAC Valve, Generator, TR, Oil, and Coolant Switches
OBD II Symbol Description Notice
Handling ESD Sensitive Parts Notice

Circuit Description

The transmission range (TR) switch, which is part of the park/neutral position (PNP), is a multi-signal switch which sends a signal to the PCM to indicate gear selection. The transmission range switch uses 4 discrete circuits to pull 4 PCM voltages low in various combinations to indicate each gear range. The voltage level of the circuits is represented as LO = grounded, HI = open circuit. The 4 states displayed represents the encoder P, A, B, and C inputs in sequence.

Conditions for Setting the DTC

    • The PCM recognizes an invalid PRNDL parameter.
    • The vehicle speed is greater than 5 mph (8 km/h).
    • The above conditions met for a period longer than 5 seconds.

Action Taken When the DTC Sets

    • The PCM will record operating conditions at the time during which the diagnostic fails. This information will store in the Failure Records buffer.
    • A history DTC stores.

Conditions for Clearing the MIL/DTC

    • A history DTC will clear after 40 consecutive warm up cycles without a fault.
    • A scan tool can clear the MIL/DTCs.

Diagnostic Aids

    • Monitor a scan tool while moving the related connectors and the wiring harness. If a malfunction is induced, the scan data will change states from either LO to HI, or from HI to LO. Move the gear selector slowly through each gear while monitoring the scan tool in order to help isolate the problem.
    • Thoroughly check any suspected circuitry for the following conditions:
      • Improper mating
      • Broken locks
      • Improperly formed or damaged terminals
      • Poor terminal to wiring connections
      • Physical damage to the wiring harness
    • When a DTC P0705 sets, the PCM defaults to the 3rd gear until the PCM receives a correct combination. Therefore, some of the selected gear positions may not be possible until you repair the malfunction.
    • If the trans range switch on the scan tool and the PRNDL on the IPC display a normal reading only in the following gear selections:
       - Park, Low, and 2nd gear--check for an open in the TR switch input B circuit.
       - Reverse, Neutral, Overdrive and 3rd gear--check for a grounded TR switch input B circuit.
       - Low, 2nd, 3rd and Overdrive gear--check for a grounded in the TR switch input C circuit.
       - Park, Reverse, and Neutral--check for an open in the TR switch input C circuit.
       - Park, Reverse, 2nd and 3rd gear--check for a grounded in the TR switch input A circuit.
       - Neutral, Overdrive and Low gear--check for an open in the TR switch input A circuit.
       - Park, Neutral, 3rd and Low gear--check for a grounded in the TR switch input P circuit.
       - Reverse 2nd and Overdrive gear--check for an open in the TR switch input P circuit.

Trans Range Scan Tool Data

Gear Selector Position

Scan Tool Trans Range PABC Display

 
 

4 Spd

3 Spd

P

A

B

C

Park

P

P

LO

LO

HI

HI

Reverse

R

R

HI

LO

LO

HI

Neutral

N

N

LO

HI

LO

HI

Drive

OD

D

HI

HI

LO

LO

Drive

3

2

LO

LO

LO

LO

Drive

2

1

HI

LO

HI

LO

Drive

1

--

LO

HI

HI

LO

Test Description

Number(s) below refer to the step number(s) on the Diagnostic Table.

  1. The Powertrain OBD System Check prompts the technician to complete some basic checks and store the freeze frame and failure records data on the scan tool if applicable. This creates an electronic copy of the data taken when the fault occurred. The information is then stored on the scan tool for later reference.

  2. Any circuitry, that is suspected as causing the intermittent complaint, should be thoroughly checked for backed out terminals, improper mating, broken locks, improperly formed or damaged terminals, poor terminal to wiring connections or physical damage to the wiring harness.

  3. An invalid circuit will cause the PRNDL display to go out. Jumpering each circuit to ground simulates the trans range switch operation and checks the circuitry and PCM. While the trans range switch is disconnected and the circuits are not jumpered to ground, the scan tool should indicate a HI value. A value that is indicated as LO with no jumper to ground indicates a grounded circuit or faulty PCM.

  4. Replacement PCM's must be reprogrammed. Refer to the latest Techline information for programming procedures.

  5. If no faults have been found at this point and no additional DTC's were set, refer to Diagnostic Aids for additional checks and information.

DTC P0705-Transaxle Range Switch Circuit

Step

Action

Value(s)

Yes

No

1

Was the Powertrain On-Board Diagnostic (OBD) System Check performed?

--

Go to Step 2

Go to

Powertrain On Board Diagnostic (OBD) System Check 2.4L

Powertrain On Board Diagnostic (OBD) System Check 2.2L

2

  1. Turn the ignition switch ON, with the engine OFF.
  2. Install a scan tool.
  3. Move the gear selector through all it's ranges.

Does the scan tool indicate an Invalid in any of the ranges?

--

Go to Step 3

Go to Step 10

3

Compare the scan tool values with the Transaxle Range Switch Valid Input Combinations table.

Are all the circuits indicated as HI?

--

Go to Step 4

Go to Step 5

4

Check the trans range switch ground circuit for an open or poor connection and repair as necessary.

--

Go to Step 10

Go to Step 5

5

  1. Move the gear selector through all of it's ranges and note which circuits did not correspond with the Transaxle Range Switch Valid Input Combinations table.
  2. Disconnect the trans range switch electrical connector.
  3. Jumper the circuit with the incorrect value to ground.

Does the jumpered circuit go from a HI value to a LO value?

--

Go to Step 8

Go to Step 6

6

Check the affected circuit for and open or a short to round and repair as necessary.

Was a repair necessary?

--

Go to Step 10

Go to Step 7

7

Check for a poor connection at the PCM connector and repair as necessary.

Was a repair necessary?

--

Go to Step 10

Go to Step 9

8

Replace the transaxle range switch.

Is the action complete?

--

Go to Step 10

--

9

Replace the PCM.

Is the action complete?

--

Go to Step 10

--

10

  1. Using the scan tool, clear the DTC's.
  2. Start the engine and idle at normal operating temperature.
  3. Operate the vehicle within the conditions for setting this DTC as specified in the supporting text.

Does the scan tool indicate that this diagnostic has ran and passed?

--

Go to Step 11

Go to Step 2

11

Check if any DTC's are set.

Are any DTC's displayed that have not been diagnosed?

--

Go to applicable DTC table

System OK