GM Service Manual Online
For 1990-2009 cars only
Figure 1:

Lower Engine Components


Object Number: 63510  Size: LF
(1)Piston Rings
(2)Piston Pin Retainer
(3)Piston
(4)Piston Pin
(5)Connecting Rod
(6)Connecting Rod Bearing
(7)Oil Flow Check Valve
(8)Cylinder Block
(9)Cylinder Block Oil Galley Plug
(10)Timing Chain Housing To Block Gasket
(11)Transaxle to the Cylinder Block Pin
(12)Engine Front Cover Location Dowel Pin
(13)Oil Filter Bypass Valve
(14)Oil Filter
(15)Oil Filter to Block Connector
(16)Tensioner to Bracket Nut
(17)Bracket to Block Bolts
(18)Bracket to Block Bolt
(19)Generator Compressor and Tensioner Bracket Assembly
(20)Serpentine Drive Belt Tensioner
(21)Flywheel Retainer (Automatic Transmission Only)
(22)Flywheel
(23)Flywheel to Crankshaft Bolt
(24)Rear Crankshaft Seal
(25)Rear Crankshaft Seal Housing to Block Bolt
(26)Rear Crankshaft Seal Housing to Block Gasket
(27)Rear Crankshaft Seal Housing to Block Dowel Pin
(28)Driven Sprocket Bolt
(29)Balance Shaft Driven Sprocket
(30)Balance Shaft Chain Drive Sprocket
(31)Balance Shaft Drive Chain
(32)Rear Crankshaft Seal Housing
(33)Timing Chain Housing
(34)Chain Housing to Block Bolt
(35)Crankshaft Sprocket Key
(36)Crankshaft Sprocket
(37)Timing Chain Tensioner and Shoe Assembly
(38)Timing Chain
(39)Crankshaft Front Seal
(40)Engine Front Cover
(41)Front Cover Bolt
(42)Crankshaft Balancer Assembly
(43)Washer
(44)Bolt
(45)Front Cover Nut
(46)Front Cover Outer Gasket
(47)Front Cover Inner Gasket
(48)Timing chain Guide -LH
(49)Timing Chain Guide-RH
(50)Timing Chain Guide Upper
(51)Camshaft Sprocket Bolt
(52)Washer
(53)Intake Camshaft Sprocket
(54)Exhaust Camshaft Sprocket
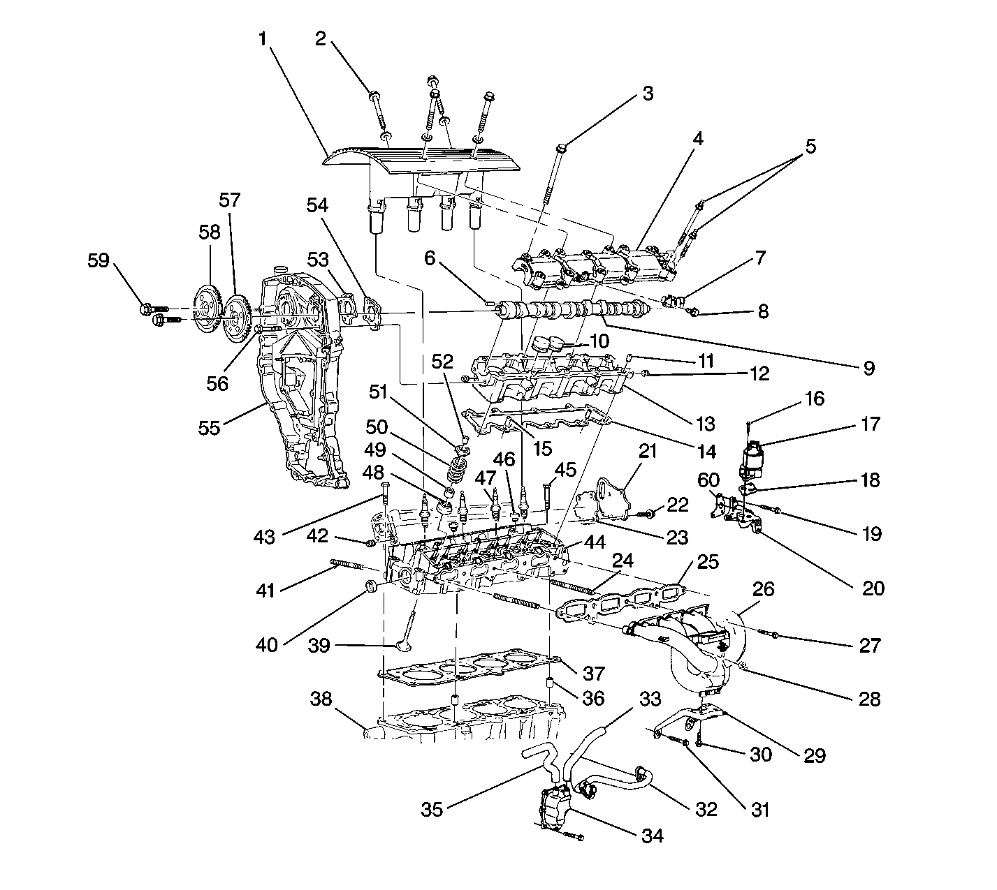
Figure 2:

Upper Engine Components


Object Number: 63511  Size: LF
(1)Ignition Coil and Module Assembly
(2)Ignition Coil and Module Bolts
(3)Camshaft Housing to Cylinder Head Bolt
(4)Camshaft Housing Cover to Camshaft Housing Bolt
(5)Camshaft Housing Cover
(6)Camshaft Dowel Pin
(7)Camshaft Position Sensor
(8)Camshaft Position Sensor Bolt
(9)Camshaft
(10)Valve Lifters
(11)Camshaft Housing Cover Locating Dowel Pin
(12)Camshaft Housing Oil Galley Plug
(13)Housing Camshaft
(14)Camshaft Housing to Cylinder Head
(15)Camshaft Housing to Cylinder Head
(16)EGR Valve Bolt
(17)EGR Valve
(18)EGR Valve to Adapter Gasket
(19)EGR Valve Adapter Bolt
(20)EGR Valve Adapter
(21)Exhaust Camshaft Cover
(22)Exhaust Camshaft Cover Bolt
(23)Exhaust Camshaft Cover Gasket
(24)Intake Manifold to Cylinder Head Stud
(25)Intake Manifold to Cylinder Head Gasket
(26)Intake Manifold
(27)Intake Manifold to Cylinder Head Bolt
(28)Intake Manifold to Cylinder Head Nut
(29)Intake Manifold Bracket
(30)Intake Manifold Bracket Bolt
(31)Intake Manifold Bracket to Engine Block
(32)EGR Pipe
(33)Oil/Air Separator to Intake Plenum
(34)Oil/Air Separator
(35)Oil/Air Separator to Timing Chain Housing Hose
(36)Cylinder Head Locating Pin
(37)Cylinder Head to Block Gasket
(38)Engine Block
(39)Intake Valve
(40)Cylinder Head Plug
(41)Exhaust Manifold to Cylinder Head Stud
(42)Cylinder Head to Block Bolt
(43)Insert
(44)Cylinder Head
(45)Cylinder Head to Block Bolt
(46)Cylinder Head Plug
(47)Spark Plug
(48)Rotator Assembly
(49)Valve Stem Seal
(50)Spring
(51)Retainer
(52)Key
(53)Timing Chain Housing to Exhaust Camshaft Housing Gasket
(54)Timing Chain Housing to Intake Camshaft Housing Gasket
(55)Engine Front Cover
(56)Engine Front Cover Bolt
(57)Camshaft Sprocket
(58)Camshaft Sprocket
(59)Camshaft Sprocket Bolt
(60)EGR Valve Adapter Gasket
Figure 3:

Balance Shaft and Components


Object Number: 63512  Size: LF
(1)Balance Shaft Chain Cover Bolt
(2)Balance Shaft Chain Cover
(3)Balance Shaft Guide Adjuster Nut
(4)Balance Shaft Chain Guide Adjuster Bolt
(5)Balance Shaft Chain Adjuster Guide
(6)Stud
(7)Balance Shaft Upper Housing
(8)Balance Shaft Thrust Plate Retainer Bolt
(9)Balance Shaft Bearings
(10)Balance Shaft Thrust Plate Retainer
(11)Balance Shaft Drive
(12)Balance Shaft Driven
(13)Balance Shaft Drive Chain
(14)Driven Sprocket Bolt-Note: Left Hand Thread
(15)Balance Shaft Driven Sprocket
(16)Balance Shaft Lower Housing
(17)Balance Shaft Housing Bolt
(18)Balance Shaft Housing to Block Bolt
(19)Balance Shaft Housing to Block Bolt
(20)Balance Shaft Housing to Block Bolt
(21)Balance Shaft Housing Bolt
(22)Oil Pan Bolt
(23)Oil Pan
(24)Oil Pan Gasket
(25)Dowel Pin
(26)Oil Pump Body
(27)Gerotor
(28)Oil Pump Cover
(29)Oil Pump Cover to Body Bolt
(30)Relief Valve Pin
(31)Relief Valve Spring Guide
(32)Relief Valve Spring
(33)Relief Valve
(34)Pickup Screen