GM Service Manual Online
For 1990-2009 cars only

Checking the Coolant

Caution: Do not remove the surge tank cap in order to check the engine coolant level. Check the coolant visually at the surge tank. Add coolant to the surge tank only when the system cools.

Caution: With a pressurized cooling system, the coolant temperature in the radiator can be considerably higher than the boiling point of the solution at atmospheric pressure. Removal of the surge tank cap, while the cooling system is hot and under high pressure, causes the solution to boil instantaneously with explosive force. This will cause the solution to spew out over the engine, the fenders, and the person removing the cap. Serious bodily injury may result.

Notice: When adding coolant, use DEX-COOL® coolant. If silicated coolant is added to the system, premature engine, heater core or radiator corrosion may result. In addition, the engine coolant will require change sooner-at 50 000 km (30,000 mi) or 24 months.

Notice: Do not add cold water to the cooling system with the engine at or above operating temperature. Adding cold water causes rapid cooling, resulting in possible engine damage.

Check the side of the surge tank to determine the level of the coolant. If you cannot check the level visually, remove the surge tank cap to check the coolant level. Check the coolant in the surge tank each time the hood is up and the engine coolant is cold. The coolant level should be near the appropriate mark when the system is cold. At normal operating temperature, the coolant rises. Add coolant only to the surge tank to raise the level to the appropriate mark.

If the pressure in the cooling system is too low, or if the coolant does not contain enough ethylene glycol antifreeze, the coolant will boil without the TEMP indicator lamp coming on. Pure water could boil at 119°C (247°F) and the TEMP indicator lamp would not come on, even with a 103 kPa (15 psi) cooling system. Pure water lacks the necessary rust inhibitors and coolant pump lubrication. Unless work is being performed on the cooling system, do not operate the engine without the pressure cap, or with a loose cap. This will cause the coolant to boil before the TEMP indicator lamp comes on.

In order to check the coolant for the proper freeze protection, refer to Coolant Concentration Testing .

Coolant Level Inspection Procedure-With the Engine Cool

  1. Remove the surge tank pressure cap. Refer to Radiator Assembly .

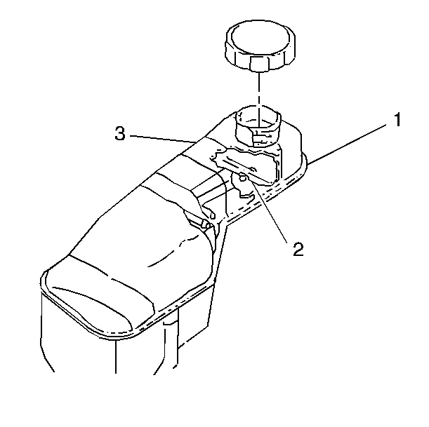
  2. Object Number: 26289  Size: SH
  3. The coolant should cover the small cylinder (2) at the base of the tank (3) opening.
  4. If the coolant level is low, do the following procedure:
  5. 3.1. Fill the surge tank with the proper mix of coolant to just above the small cylinder at the base of the tank opening, or until the level reaches the split line (1) formed by the black and tan parts of the tank.

    Caution: Keep hands, tools, and clothing away from the electric engine coolant fans in order to help prevent personal injury. These fans are electric and can turn on whether or not the engine is running. The fans can start automatically with the ignition in the ON position.

    3.2. With the pressure cap removed, start the engine. Let the engine warm up until the upper radiator hose starts to get hot.
    3.3. If the coolant level is below the small cylinder, add coolant to the surge tank until the level reaches the split line.
  6. Install the surge tank pressure cap with hand tight pressure.

Coolant Level Inspection Procedure-With the Engine Hot

  1. Check the coolant level in the surge tank. If the coolant is visible through the bottom half of the tank, make sure the level is at or near the split line on the surge tank.
  2. If the surge tank needs filling, allow the engine to cool. Follow the With the Engine Cool procedures.

Hoses and Clamps Inspection Procedure

    • Inspect the condition of all hoses and clamps. Hoses should be flexible and show no signs of bulging.
    • Inspect the hoses for cracks, kinks, and areas of possible leaks.
    • Inspect the hose brackets, supports, ties and clamps.
    • TIghten and adjust the components as needed. (The spring clamps are not adjustable.)

Radiator Cleaning

Notice: Do not spray cold water on a hot radiator.

Notice: The heat exchanger fins are necessary for good heat transfer. Do not brush the fins. This may cause damage to the fins, reducing heat transfer.

At least once a year, clean the front face of the radiator. On vehicles with air conditioning, clean the front face of the condenser. Remove any bugs, leaves, and other material by blowing compressed air from the rear of the radiator towards the front of the vehicle. If compressed air is not available, use a water hose to force water through the radiator from the rear toward the front of the vehicle. Use water only with the engine off and cool.

The radiator fins are necessary for good heat transfer. They should not be brushed, because brushing damages the fins and reduces heat transfer.