GM Service Manual Online
For 1990-2009 cars only

SMU - SECTION 8A - 201 - REVISED COMPONENT LOCATIONS

SUBJECT: SERVICE MANUAL UPDATE - SECTION 8A-201 - REVISED COMPONENT LOCATIONS

MODELS: 1996-97 CHEVROLET CAVALIER 1996-97 PONTIAC SUNFIRE 1996-97 TOYOTA CAVALIER

THIS BULLETIN IS BEING ISSUED TO REVISE THE FOLLOWING COMPONENT LOCATIONS IN SECTION 8A-201 OF THE SERVICE MANUAL.

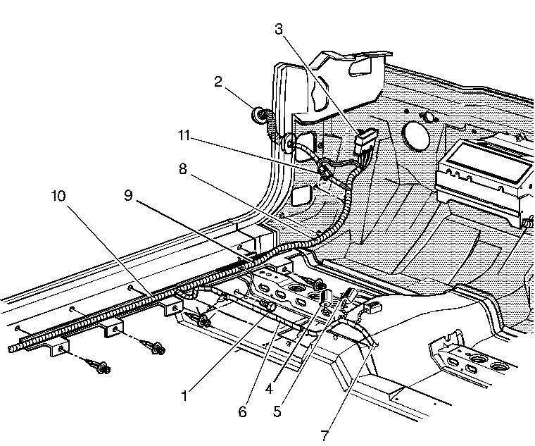
THE ILLUSTRATION ON PAGE 8A-201-9 (FIGURE 17) IS INCORRECT FOR THE 1996 SERVICE MANUAL. CONNECTOR C220 IS NOT SHOWN. PLEASE USE THE ATTACHED ILLUSTRATION TO UPDATE THE 1996 SERVICE MANUAL. THE ART (FIGURE 17) FOR THE 1997 SERVICE MANUAL IS CORRECT.

FOR BOTH THE 1996 AND 1997 SERVICE MANUALS, ALL COMPONENT LOCATION TABLES REFERENCING THE RH FRONT CORNER OF PASSENGER COMPARTMENT, PAGE 8A-201-8, FIGURE 17 SHOULD READ LH FRONT CORNER OF PASSENGER COMPARTMENT, PAGE 8A-201-9, FIGURE 17. THE FOLLOWING TABLE SHOWS THE AFFECTED 8A COMPONENTS:

1996 1997 SEAT BELT SWITCH SEAT BELT SWITCH ================ ================

C200 C200 C220 C220 G304 G304 S227 S227 S300 S300 S301 S301 S304 S304 S305 S305 S306 S306 S307 S307 S308 S308 S309 S309 S332

ALSO, FOR BOTH THE 1996 AND 1997 SERVICE MANUALS, THE COMPONENT LOCATION TABLE ON PAGE 8A-110-4 READS: S331 - RH FRONT OF PASSENGER COMPARTMENT, PAGE 201-5, FIG. 10. IT SHOULD READ: S331 - RH FRONT OF PASSENGER COMPARTMENT, PAGE 201-8, FIGURE 16.

FIGURES: 01 ATTACHMENTS: 00

FIGURE 1 - LH FRONT PASSENGER COMPARTMENT 1. GROUND, G304 2. P500 3. CONNECTOR, C200 4. SEAT BELT SWITCH 5. PARK BRAKE SWITCH 6. S300, S301, S304, S305 7. S306 8. S307, S308, S309 9. S227 10. S332 11. C220


Object Number: 96415  Size: MF

GENERAL MOTORS BULLETINS ARE INTENDED FOR USE BY PROFESSIONAL TECHNICIANS, NOT A "DO-IT-YOURSELFER". THEY ARE WRITTEN TO INFORM THOSE TECHNICIANS OF CONDITIONS THAT MAY OCCUR ON SOME VEHICLES, OR TO PROVIDE INFORMATION THAT COULD ASSIST IN THE PROPER SERVICE OF A VEHICLE. PROPERLY TRAINED TECHNICIANS HAVE THE EQUIPMENT, TOOLS, SAFETY INSTRUCTIONS AND KNOW-HOW TO DO A JOB PROPERLY AND SAFELY. IF A CONDITION IS DESCRIBED, DO NOT ASSUME THAT THE BULLETIN APPLIES TO YOUR VEHICLE, OR THAT YOUR VEHICLE WILL HAVE THAT CONDITION. SEE A GENERAL MOTORS DEALER SERVICING YOUR BRAND OF GENERAL MOTORS VEHICLE FOR INFORMATION ON WHETHER YOUR VEHICLE MAY BENEFIT FROM THE INFORMATION.

COPYRIGHT 1996 GENERAL MOTORS CORPORATION. ALL RIGHTS RESERVED.