GM Service Manual Online
For 1990-2009 cars only

DOOR RATTLE WHEN DOOR WINDOW GLASS IS LOWERED

REVISION: 09/17/98 DIVS INVL 1 2 7

THIS BULLETIN IS BEING REVISED TO CHANGE THE VERBAGE IN STEP 31. PLEASE DISCARD CORPORATE BULLETIN #73-10-69 (SECTION 10 - BODY) ______________________________________________________________________

SUBJECT: DOOR RATTLE WHEN DOOR WINDOW GLASS IS LOWERED (REPLACE DOOR GLASS DOWNSTOP AND FRONT GUIDES)

MODELS: 1995-97 CHEVROLET CAVALIER (CONVERTIBLE ONLY) 1995-97 PONTIAC SUNFIRE (CONVERTIBLE ONLY)

CONDITION:

SOME OWNERS MAY COMMENT ON A RATTLE COMING FROM THE DOOR(S) WHEN THE DOOR WINDOW GLASS IS LOWERED.

CAUSE:

CURRENT DESIGN OF THE DOOR GLASS DOWNSTOP AND THE DOOR GLASS FRONT GUIDES MAY NOT ADEQUATELY STABILIZE THE DOOR WINDOW GLASS IN THE DOOR.

CORRECTION:

REPLACE THE DOOR GLASS DOWNSTOP AND DOOR GLASS FRONT GUIDES WITH NEW DESIGN PARTS USING THE FOLLOWING PROCEDURE.

CAUTION:

WHEN IT IS NECESSARY TO OPERATE THE DRIVER'S SIDE WINDOW DURING REPAIRS, THE POWER WINDOW MAY LOCK INTO THE EXPRESS DOWN MODE CAUSING THE WINDOW TO LOWER FULLY WITHOUT STOPPING EVEN THOUGH THE SWITCH HAS BEEN RELEASED. FAILURE TO EXERCISE CAUTION AROUND THE REGULATOR ASSEMBLY WHEN OPERATING THE SWITCH MAY RESULT IN PERSONAL INJURY AND/OR REGULATOR DAMAGE.

1. REMOVE THE DOOR UPPER FRONT PANEL SCREW.

2. REMOVE THE DOOR UPPER FRONT PANEL AND MIRROR PATCH FILLER.

3. REMOVE THE DOOR TRIM PANEL. REFER TO SECTION 10-6 IN THE APPROPRIATE SERVICE MANUAL.

4. REMOVE THE REAR HALF OF THE DOOR WATER DEFLECTOR. REFER TO SECTION 10-6 IN THE APPROPRIATE SERVICE MANUAL.

CAUTION:

EYE PROTECTION MUST BE WORN WHEN DRILLING RIVETS TO REDUCE THE CHANCE OF PERSONAL INJURY.

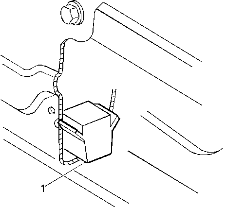
5. REMOVE RIVETS BY PUNCHING OUT CENTER PINS THEN DRILL RIVETS USING A 3/16 INCH DRILL BIT. SEE FIGURE 1.

6. REMOVE THE DOOR GLASS DOWNSTOP. SEE FIGURE 1.

CLEAN:

O RIVET DEBRIS FROM BOTTOM OF DOOR.

INSPECT:

O BOTTOM INSIDE SURFACE OF THE DOOR PANEL DIRECTLY UNDER WHERE THE EXISTING DOOR GLASS DOWNSTOP WAS. THIS AREA MUST BE FREE OF DIRT, DUST, GREASE, RUSTPROOFING, SOUNDPROOFING, ETC.

7. PEEL OFF THE PROTECTIVE BACKING ON THE BOTTOM OF THE NEW DOOR GLASS DOWNSTOP.

IMPORTANT:

THE ADHESIVE ON THE DOOR GLASS DOWNSTOP IS EXTREMELY PRESSURE SENSITIVE AND CAN NOT BE REPOSITIONED ONCE IT CONTACTS A SURFACE.

8. POSITION AND ALIGN THE DOOR GLASS DOWNSTOP DIRECTLY BELOW THE EXISTING HOLES FROM THE OLD DOOR GLASS DOWNSTOP AND PRESS FIRMLY IN PLACE. SEE FIGURES 2 AND 3.

9. TOUCH-UP THE DOOR GLASS DOWNSTOP HOLES WITH A ZINC-CHROMATE PRIMER.

10. INSTALL THE REAR HALF OF THE DOOR WATER DEFLECTOR. REFER TO SECTION 10-6 IN THE APPROPRIATE SERVICE MANUAL.

11. DISCONNECT THE FRONT DOOR SPEAKER ELECTRICAL CONNECTOR.

12. REMOVE THE FRONT DOOR SPEAKER BOLTS.

13. REMOVE THE FRONT DOOR SPEAKER.

14. DISCONNECT THE METAL CLIP SECURING THE DOOR REAR VIEW MIRROR WIRE HARNESS TO THE DOOR.

15. DISCONNECT THE PLASTIC CLIP SECURING THE WIRE HARNESS TO THE DOOR.

16. POWER THE DOOR WINDOW GLASS UP UNTIL THE TOP EDGE IS APPROXIMATELY 100 MM (4 IN.) ABOVE THE DOOR BELT MOLDING.

17. REMOVE THE FRONT HALF OF THE DOOR WATER DEFLECTOR. REFER TO SECTION 10-6 IN THE APPROPRIATE SERVICE MANUAL.

18. MATCH-MARK THE GLASS FRONT CHANNEL AND SEAL ASSEMBLY ATTACHING NUTS TO THE DOOR BRACKET.

19. REMOVE THE NUTS FROM THE DOOR BRACKET STUDS. SEE FIGURE 4.

20. REMOVE THE NUTWASHER. SEE FIGURE 5.

21. PUSH THE ADJUSTMENT STUD BACK THROUGH THE HOLE IN THE DOOR. LIFT THE GLASS FRONT CHANNEL AND SEAL ASSEMBLY BY LIFTING IT UP, OFF AND PLACE FORWARD OF THE DOOR BRACKET STUDS.

22. REMOVE AND DISCARD THE DOOR GLASS FRONT GUIDES. SEE FIGURE 6.

23. INSTALL THE NEW DOOR GLASS FRONT GUIDES. NOTE THAT THE "WING" PORTION ON EACH DOOR GLASS FRONT GUIDE MUST FACE OUTWARD. SEE FIGURE 7.

24. USING A SWAB OR SMALL BRUSH, LIBERALLY APPLY SUITABLE, WHITE LITHIUM GREASE TO BOTH DOOR GLASS FRONT GUIDES.

25. LIFT THE GLASS FRONT CHANNEL AND SEAL ASSEMBLY UP AND OVER THE DOOR BRACKET STUDS.

26. ENGAGE THE FRONT CHANNEL TO THE DOOR GLASS FRONT GUIDES.

27. PLACE THE ADJUSTMENT STUD THROUGH THE DOOR INNER PANEL HOLE.

28. INSTALL THE NUTWASHER. DO NOT TIGHTEN AT THIS TIME.

29. INSTALL THE NUTS TO THE DOOR BRACKET STUDS, OBSERVING THE MATCH-MARKS.

TIGHTEN:

O NUT TO 6 N.M (53 LB IN) O NUTWASHER TO 10 N.M (88 LB IN)

30. OPERATE THE DOOR WINDOW GLASS SEVERAL TIMES TO ENSURE IT IS WORKING PROPERLY. ADJUST AS REQUIRED.

31. WITH THE DOOR WINDOW GLASS IN THE UP POSITION, USING A SWAB OR SMALL BRUSH, LIBERALLY APPLY SUITABLE, WHITE LITHIUM GREASE TO THE FRONT AND REAR GLASS UPSTOPS. THIS WILL AID IN PREVENTING SQUEAKS AND WEAR.

INSPECT:

O FRONT DOOR GLASS STABILIZER. IT SHOULD HAVE SLIGHT CONTACT TO THE DOOR WINDOW GLASS IN THE FULL DOWN POSITION. ADJUST AS NECESSARY. SEE FIGURE 8.

O REAR DOOR GLASS STABILIZER. IT SHOULD HAVE SLIGHT CONTACT TO THE DOOR WINDOW GLASS IN THE FULL UP POSITION. ADJUST AS NECESSARY. SEE FIGURE 9.

32. CONNECT THE PLASTIC CLIP SECURING THE WIRE HARNESS TO THE DOOR.

33. CONNECT THE METAL CLIP SECURING THE DOOR REAR VIEW MIRROR WIRE HARNESS TO THE DOOR.

34. INSTALL THE FRONT DOOR SPEAKER.

35. INSTALL THE FRONT DOOR SPEAKER BOLTS.

36. CONNECT THE FRONT DOOR SPEAKER ELECTRICAL CONNECTOR.

37. INSTALL THE FRONT HALF OF THE DOOR WATER DEFLECTOR. SEE SECTION 10-6 IN THE APPROPRIATE SERVICE MANUAL.

38. INSTALL THE DOOR TRIM PANEL. REFER TO SECTION 10-6 IN THE APPROPRIATE SERVICE MANUAL.

39. INSTALL THE MIRROR PATCH FILLER AND DOOR UPPER FRONT PANEL.

40. INSTALL THE DOOR UPPER FRONT PANEL SCREW.

PARTS INFORMATION:

P/N DESCRIPTION --- -----------

12368118 DOOR GLASS DOWNSTOP 12368119 DOOR GLASS FRONT GUIDE

PARTS ARE CURRENTLY AVAILABLE FROM GMSPO.

WARRANTY INFORMATION:

FOR VEHICLES REPAIRED UNDER WARRANTY, USE:

LABOR OPERATION NUMBER: C0100, C0101 USE PUBLISHED LABOR OPERATION TIME.

FIGURES: 09

ATTACHMENTS: 00

FIGURE 1 - REMOVING EXISTING DOWN STOP RIVETS WITH A DRILL

FIGURE 2 - CUT-AWAY OF DRIVER'S DOOR SHOWING NEW DOWN STOP INSTALLED 1. DOWN STOP

FIGURE 3 - SIDE VIEW OF DRIVER'S DOOR SHOWING NEW DOWN STOP INSTALLED

1. REARWARD MOST MOUNTING HOLD OF OLD DOWN STOP 2. DOWN STOP

FIGURE 4 - REMOVAL OF DOOR GLASS FRONT CHANNEL - UPPER END 1. NUT 2. FRONT CHANNEL

FIGURE 5 - REMOVAL OF GLASS FRONT CHANNEL - LOWER END 1. NUTWASHER 2. ADJUSTMENT STUD

FIGURE 6 - EXISTING DOOR GLASS GUIDES 1. DOOR GLASS 2. GUIDE (EXISTING)

FIGURE 7 - NEW DOOR GLASS GUIDES 1. DOOR GLASS 2. GUIDE (NEW) 3. WING PORTION OF GUIDE

FIGURE 8 - FRONT GLASS STABILIZER 1. FRONT GLASS STABILIZER

FIGURE 9 - REAR DOOR GLASS STABILIZER 1. REAR DOOR GLASS STABILIZER


Object Number: 336368  Size: SH


Object Number: 336370  Size: SH


Object Number: 336372  Size: SF


Object Number: 336374  Size: SH


Object Number: 336376  Size: SH


Object Number: 336378  Size: SH


Object Number: 336380  Size: SH


Object Number: 336382  Size: SH


Object Number: 336384  Size: SH

GENERAL MOTORS BULLETINS ARE INTENDED FOR USE BY PROFESSIONAL TECHNICIANS, NOT A "DO-IT-YOURSELFER". THEY ARE WRITTEN TO INFORM THOSE TECHNICIANS OF CONDITIONS THAT MAY OCCUR ON SOME VEHICLES, OR TO PROVIDE INFORMATION THAT COULD ASSIST IN THE PROPER SERVICE OF A VEHICLE. PROPERLY TRAINED TECHNICIANS HAVE THE EQUIPMENT, TOOLS, SAFETY INSTRUCTIONS AND KNOW-HOW TO DO A JOB PROPERLY AND SAFELY. IF A CONDITION IS DESCRIBED, DO NOT ASSUME THAT THE BULLETIN APPLIES TO YOUR VEHICLE, OR THAT YOUR VEHICLE WILL HAVE THAT CONDITION. SEE A GENERAL MOTORS DEALER SERVICING YOUR BRAND OF GENERAL MOTORS VEHICLE FOR INFORMATION ON WHETHER YOUR VEHICLE MAY BENEFIT FROM THE INFORMATION.

COPYRIGHT 1998 GENERAL MOTORS CORPORATION. ALL RIGHTS RESERVED.