GM Service Manual Online
For 1990-2009 cars only

Technical - Water Leak at Front Header (Measure/Remove Material, Install Shims)

Subject:Water Leak at Front Header (Measure/Remove Material, Install Shims)

Models:1995-99 Chevrolet Cavalier (Convertible Only)
1995-99 Pontiac Sunfire (Convertible Only)



Condition

Some customers may comment that there is a water leak at the outboard corners of the convertible top interior.

Correction

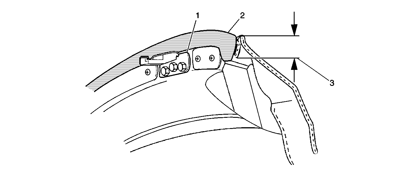
Figure 1


Object Number: 611697  Size: SF
(1)Distance from header to convertible top
(2)Convertible top must have full contact
    • Strikers are adjusted rearward to allow the front leading edge of bow to contact the seal in plan view (distance from header to convertible top should be 10-13 mm (25/64 - ½ in). The front edge of the convertible top (or #1 bow) must contact the seal. No visible gaps allowed (see Figure 1).

Figure 2


Object Number: 611709  Size: SF
(1)Shim location
(2)Shaded area must be free from wrinkles
(3)Trim material/binding
    • Check under the striker for shim. One shim is required under #1 bow strikers (see Figure 2). Add shim if necessary.

       Important: The new top cover single seam design built after June, 1998 requires one shim per striker. Two piece top cover single seam (see Figure 2).

Figure 3


Object Number: 611712  Size: SF
(1)Welt
    • Tops built prior to June, 1998 with the header welt, P/N 12365667 were built with two shims per striker. Three piece top cover (see Figure 3).

       Important: This procedure requires the use of an upholstery type or automotive trim stapler by a technician knowledgeable in replacement of the convertible top cover material. If you intend to sublet vehicles requiring this repair to an independent automotive trim shop, please supply them with this Service Bulletin.

    • The top cover installation over the front leading edge of the #1 bow, must be free of wrinkles for good seal to the header. See highlighted area in Figure 2.
    • The outboard edge binding must be trimmed 12.7 - 19.05 mm (½ - ¾ in) long and stapled at the edges with stainless steel staples (see Figure 2).

Warranty Information

For vehicles repaired under warranty, use:

Labor Operation

Description

Labor Time

B3120

Seal, Front Rail (Front Roof Rail Weathership) - Replace

0.3 hr

Policy: S - Additonal 0.3 hr if the vehicle is delivered to and from repair location.