GM Service Manual Online
For 1990-2009 cars only

Product Emission 99090 - PCM Corrosion/Moisture Intrusion

Subject:99090 -- PCM Corrosion/Moisture Intrusion (Install Protective PCM Shield/Cover Assembly)

Models:Certain 1997, 1998 and 1999 Chevrolet Cavaliers and Pontiac Sunfires Located in Fifteen U.S. High Road Salt Corrosion States (CT, IL, IN, MA, ME, MI, MN, NH, NJ, NY, OH, PA, RI, VT and WI) and in Ontario, Quebec and Atlantic Provinces; and Certain 1995, 1996, 1997, 1998 and 1999 Chevrolet Cavaliers and Pontiac Sunfires located in Manitoba, Saskatchewan, Alberta, British Columbia, the Yukon and Northwest Territories



Condition

General Motors has decided to conduct a Voluntary Emission Campaign involving certain 1997, 1998 and 1999 Chevrolet Cavalier and Pontiac Sunfire model vehicles located in fifteen U.S. high salt corrosion states and in Ontario, Quebec and Atlantic provinces; and certain 1995, 1996, 1997, 1998 and 1999 Chevrolet Cavalier and Pontiac Sunfire model vehicles located in Manitoba, Saskatchewan, Alberta, British Columbia, the Yukon and Northwest Territories. These vehicles have the potential to experience moisture entering the Powertrain Control Module (PCM), as a result of corrosion after extended exposure to road salt. Moisture entering the PCM can lead to symptoms including illumination of the Check Engine light or the engine running rough. If these symptoms are ignored, the engine may stall and may not be able to be restarted.

Correction

Dealers are to seal the Powertrain Control Module (PCM) in a protective shield/cover assembly.

Vehicles Involved

Involved are certain 1997, 1998 and 1999 Chevrolet Cavalier and Pontiac Sunfire model vehicles located in fifteen U.S. high salt corrosion states and in Ontario, Quebec and Atlantic provinces; and certain 1995, 1996, 1997, 1998 and 1999 Chevrolet Cavalier and Pontiac Sunfire model vehicles located in Manitoba, Saskatchewan, Alberta, British Columbia, the Yukon and Northwest Territories, built within the following VIN breakpoints:

Year

Division

Model

Plant

From

Through

1995

Chevrolet

Cavalier

Ramos

SS800044

SS887817

1995

Chevrolet

Cavalier

Lordstown

S7100376

S7105101

1995

Chevrolet

Cavalier

Genasys

SB100072

SB100899

1995

Pontiac

Sunfire

Ramos

SS800124

SS887880

1995

Pontiac

Sunfire

Lordstown

S7500359

S7500865

1995

Pontiac

Sunfire

Genasys

SB200064

SB200304

1996

Chevrolet

Cavalier

Ramos

TS800021

TS912845

1996

Chevrolet

Cavalier

Lordstown

T7119960

T7298583

1996

Chevrolet

Cavalier

Genasys

TB100226

TB107274

1996

Pontiac

Sunfire

Ramos

TS800034

TS912797

1996

Pontiac

Sunfire

Lordstown

T7506489

T7586752

1996

Pontiac

Sunfire

Genasys

TB200102

TB205592

1997

Chevrolet

Cavalier

Ramos

VS800001

VS882360

1997

Chevrolet

Cavalier

Lordstown

V7100001

V7344843

1997

Chevrolet

Cavalier

Lansing

VM100002

VM168269

1997

Chevrolet

Cavalier

Genasys

VB100002

VB109222

1997

Pontiac

Sunfire

Ramos

VS800002

VS882353

1997

Pontiac

Sunfire

Lordstown

V7500001

V7614924

1997

Pontiac

Sunfire

Genasys

VB200001

VB207927

1998

Chevrolet

Cavalier

Ramos

WS800002

WS872028

1998

Chevrolet

Cavalier

Lordstown

W7100006

W7338853

1998

Chevrolet

Cavalier

Lansing

WM100011

WM125954

1998

Chevrolet

Cavalier

Genasys

WB900003

WB907093

1998

Pontiac

Sunfire

Ramos

WS800001

WS71999

1998

Pontiac

Sunfire

Lordstown

W7500002

W7603242

1998

Pontiac

Sunfire

Genasys

WB200002

WB206759

1999

Chevrolet

Cavalier

Ramos

XS800006

XS836737

1999

Chevrolet

Cavalier

Lordstown

X7100004

X7230758

1999

Chevrolet

Cavalier

Genasys

XB900002

XB904347

1999

Pontiac

Sunfire

Ramos

XS800005

XS836765

1999

Pontiac

Sunfire

Lordstown

X7500004

X7548778

1999

Pontiac

Sunfire

Genasys

XB200005

XB203205

Important: Dealers should confirm vehicle eligibility through GMVIS (GM Vehicle Inquiry System) or GM Access Screen (Canada only) prior to beginning campaign repairs. [Not all vehicles within the above breakpoints may be involved.]

Involved vehicles have been identified by Vehicle Identification Number. Computer listings containing the complete Vehicle Identification Number, customer name and address data have been prepared, and are being furnished to involved dealers with the campaign bulletin. The customer name and address data furnished will enable dealers to follow-up with customers involved in this campaign. Any dealer not receiving a computer listing with the campaign bulletin has no involved vehicles currently assigned.

These dealer listings may contain customer names and addresses obtained from Motor Vehicle Registration Records. The use of such motor vehicle registration data for any other purpose is a violation of law in several states/provinces/countries. Accordingly, you are urged to limit the use of this listing to the follow-up necessary to complete this campaign.

Parts Information

Important: An initial supply of covers and shields required to complete this campaign will be pre-shipped to involved dealers of record. This pre-shipment will occur the week of May 8, 2000. Pre-shipped parts will be charged to dealer's open parts account.

Parts required to complete this campaign are to be obtained from General Motors Service Parts Operations (GMSPO). Please refer to your "involved vehicles listing" prior to ordering requirements. Normal orders should be placed on a DRO = Daily Replenishment Order. An emergency requirement should be ordered on a CSO = Customer Special Order.

Part Number

Description

Qty/ Vehicle

22623903

Cover, PCM

1

22623904

Shield, PCM

1

10121502

Retainer, PCM (push-in) (20/pkg)

1

22581725

Clip, Fuel Evap Tube

1 if required

12040984

Clip, Horn Wiring Harness (10/pkg)

1 if required

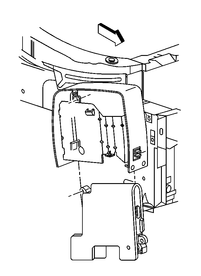
Service Procedure

  1. Disconnect the negative battery cable.
  2. Remove the right-hand engine splash shield (in front of the right front tire assembly).
  3. Remove the horn attachment bolt. Disconnect the wire and remove the horn.
  4. Remove the PCM retainer attachment bolts (2). Slide the PCM and the retainer from the PCM bracket.

  5. Object Number: 693011  Size: MH
  6. Install the PCM cover, P/N 22623903, over the PCM with the "F" facing outward.
  7. Install the PCM into the vehicle bracket.

  8. Object Number: 693013  Size: MH
  9. Install the PCM shield assembly, P/N 22623904, to the vehicle. Drape the shield over the PCM bracket. Remove the evap hose clip fastener and reinstall through the shield. Push the square cut over the PCM attachment nut. Remove the horn wiring attachment clip and reinstall through the shield.
  10. Install the push-in retainer, P/N 10121502, through the lower front hole of the PCM shield and then through the side hole of the PCM cover.

  11. Object Number: 693014  Size: SH
  12. Install the Campaign Identification Label.

Campaign Identification Label

For US

Place a Campaign Identification Label on each vehicle corrected in accordance with the instructions outlined in this Product Campaign Bulletin. Each label provides a space to include the campaign number and the five (5) digit dealer code of the dealer performing the campaign service. This information may be inserted with a typewriter or a ball point pen.

Put the Campaign Identification Label on a clean and dry surface of the radiator core support in an area that will be visible to people servicing the vehicle. When installing the Campaign Identification Label, be sure to pull the tab to allow the adhesion of the clear protective covering. Additional Campaign Identification Labels for US dealers can be obtained from Dealer Support Materials by calling 1-888-549-6152 (Monday-Friday, 8:00 am to 5:00 pm EST). Ask for Item Number S-1015 when ordering.

Campaign Identification Label

For CANADA

Place a Campaign Identification Label on each vehicle corrected in accordance with the instructions outlined in this Product Campaign Bulletin. Each label provides a space to include the campaign number and the five (5) digit dealer code of the dealer performing the campaign service. This information may be inserted with a typewriter or a ball point pen.

Put the Campaign Label on a clean and dry surface of the radiator core support in an area that will be visible to people servicing the vehicle. Additional Campaign Identification Labels for Canadian dealers can be obtained from DGN by calling 1-800-668-5539 (Monday-Friday, 8:00 am to 5:00 pm EST). Ask for Item Number GMP 91 when ordering.

Claim Information

Submit a Product Campaign Claim with the information indicated below.

Repair Performed

Part Count

Part No.

Parts Allow

CC-FC

Labor Op

Labor Hours*

Install cover, shield and retainer pin

--

--

**

MA-96

V0442

0.9 hr*

* -- For Campaign Administrative Allowance, add 0.1 hours to the "Labor Hours".

** -- The "Parts Allowance" should be the sum total of the current GMSPO Dealer Net price plus applicable Mark-Up for parts needed to complete the repair.

Refer to the General Motors WINS Claims Processing Manual for details on Product Campaign Claim Submission.

Customer Notification

For US and CANADA

Customers will be notified of this campaign on their vehicles by General Motors (see copy of customer letter included with this bulletin).

In order to ensure full protection under the emission warranty, and the right to participate in future recalls, the customer notification letter recommends that customers have their vehicles serviced as soon as possible. It also advises that failure to do so could legally be determined to be lack of proper maintenance. The vehicle may fail a state or local emission inspection test if the recall work is not completed.

Dealer Campaign Responsibility

For US and Canada

All unsold new vehicles in dealers' possession and subject to this campaign MUST be held and inspected/repaired per the service procedure of this campaign bulletin BEFORE customers take possession of these vehicles.

Dealers are to service all vehicles subject to this campaign at no charge to customers, regardless of mileage, age of vehicle, or ownership, from this time forward.

Customers who have recently purchased vehicles sold from your vehicle inventory, and for which there is no customer information indicated on the dealer listing, are to be contacted by the dealer. Arrangements are to be made to make the required correction according to the instructions contained in this bulletin. This could be done by mailing to such customers a copy of the customer letter accompanying this bulletin. Campaign follow-up cards should not be used for this purpose, since the customer may not as yet have received the notification letter.

In summary, whenever a vehicle subject to this campaign enters your vehicle inventory, or is in your dealership for service in the future, please take the steps necessary to be sure the campaign correction has been made before selling or releasing the vehicle.

May, 2000

Dear <Division(s)> Customer:

This notice is sent to inform you that General Motors is conducting a voluntary emission recall campaign that includes your vehicle.

Reason For This Recall

General Motors has decided that certain 1997, 1998 and 1999 Chevrolet Cavalier and Pontiac Sunfire model vehicles, located in fifteen U.S. high salt corrosion states and in Ontario, Quebec and Atlantic provinces; and certain 1995, 1996, 1997, 1998 and 1999 Chevrolet Cavalier and Pontiac Sunfire model vehicles, located in Manitoba, Saskatchewan, Alberta, British Columbia, the Yukon and Northwest Territories, have the potential to experience moisture entering the Powertrain Control Module (PCM), as a result of corrosion after extended exposure to road salt. Moisture entering the PCM can lead to symptoms including illumination of the Check Engine light or the engine running rough. If these symptoms are ignored, the engine may stall and may not be able to be restarted.

What Will Be Done

To prevent this condition from occurring, your GM dealer will seal the Powertrain Control Module (PCM) in a protective shield/cover assembly. This service will be performed for you at no charge .

Contacting Your Dealer

Please contact your dealer as soon as possible to arrange a service date and to assure parts availability. Instructions for making this correction have been sent to your dealer. Please ask your dealer if you wish to know how much time will be needed to schedule, process and repair your vehicle.

Should your dealer be unable to schedule a service date within a reasonable time, you should contact the appropriate Customer Assistance/Relations Center at the number listed below:

Division

Number

Deaf, Hearing Impaired, or Speech Impaired*

Chevrolet

1-800-222-1020

1-800-833-2438

Pontiac

1-800-762-2737

1-800-833-7668

* Utilizes Telecommunication Devices for the Deaf/Text Telephones (TDD/TTY)

Customer Reply Card

The attached customer reply card identifies your vehicle. Presentation of this card to your dealer will assist in making the necessary correction in the shortest possible time. If you no longer own this vehicle, please let us know by completing the reply card and returning it to us in the postage pad envelope.

Courtesy Transportation

Your dealer may provide you with shuttle service or some other form of courtesy transportation while your vehicle is at the dealership for this repair. Please refer to your Owner's Manual and your dealer for details on Courtesy Transportation.

Emission Law Information

In order to ensure your full protection under the emission warranty made applicable to your vehicle by State or Federal Law, and your right to participate in future recalls, it is recommended that you have your vehicle serviced as soon as possible. Failure to do so could legally be determined to be lack of proper maintenance of your vehicle. Also, your vehicle may fail a state or local emission inspection if this recall is not accomplished.

We are sorry to cause you this inconvenience; however, we have taken this action in the interest of your continued satisfaction with our products.

(Chevrolet, Pontiac-GMC) Division

General Motors Corporation

Enclosure