GM Service Manual Online
For 1990-2009 cars only

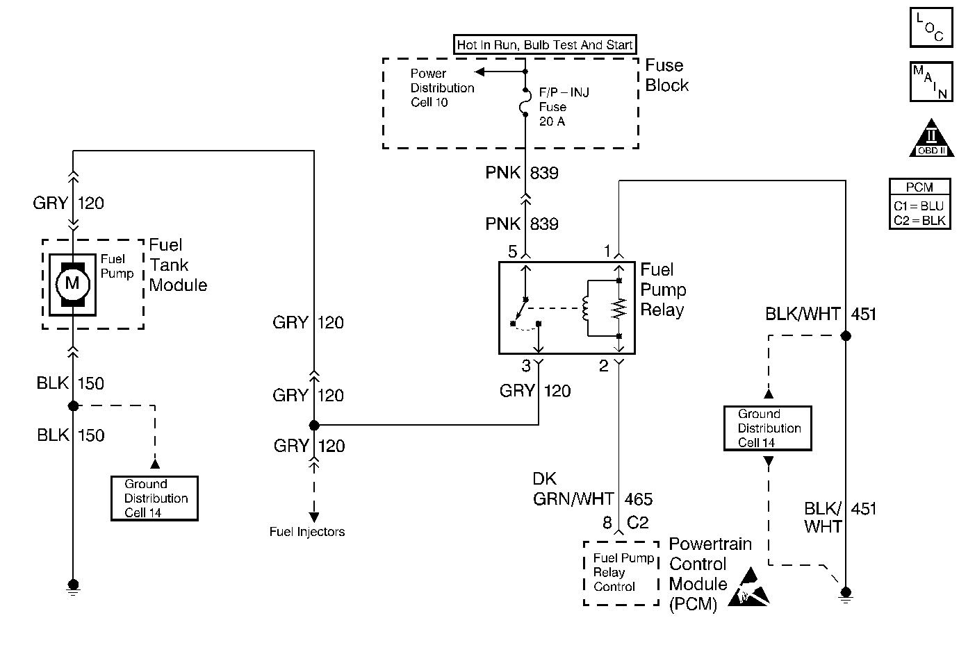
Object Number: 50821  Size: MF
Engine Controls Components
Fuel Controls
OBD II Symbol Description Notice
Powertrain Control Module Connector End Views
Handling ESD Sensitive Parts Notice

Circuit Description

When the ignition switch is turned ON, the Powertrain Control Module (PCM) turns ON the in-tank fuel pump. It will remain ON as long as the PCM is receiving ignition reference pulses from the electronic Ignition Control Module (ICM). If there are no reference pulses, the PCM will shut OFF the fuel pump about 2-3 seconds after the ignition is turned ON, about 10 seconds after the reference pulses stop.

The fuel pump delivers fuel to the fuel rail and fuel injectors, then to the fuel pressure regulator, where the system pressure is controlled to 283-324 kPa (41-47 psi) with no manifold vacuum or 214-303 kPa (31-44 psi) at idle. Excess fuel is then returned to the fuel tank.

Improper fuel system pressure will result in one or all of the following symptoms:

    • Cranks but will not run
    • DTC P0108
    • DTC P0171
    • DTC P0172
    • DTC P0300
    • DTC P1171
    • Cuts out, may feel like an ignition problem
    • Poor fuel economy, loss of power
    • Hesitation

Diagnostic Aids

An intermittent may be caused by a poor connections, rubbed through wire insulation, or a broken wire inside of the inslation.

Any circuitry, that is suspected as causing an intermittent complaint, should be throughly checked for the following conditions:

    • Backed out terminals
    • Improper mating
    • Broken locks
    • Improperly formed or damaged terminals
    • Physical damage to the wiring harness
    • Corrosion

Test Description

The numbers below refer to the step numbers on the Diagnostic Table.

  1. The Powertrain OBD System Check prompts you to complete some of the basic checks and to store the freeze frame and failure records data on the scan tool, if applicable. This creates an electronic copy of the data captured when this DTC set. The scan tool stores this data for later reference.

  2. If the no start condition was due to an open fuse, locate and repair any shorts that may have caused the fuse to open before the replacement.

  3. This step determines if the PCM can control the fuel pump. The PCM should energize the fuel pump relay and turn ON the fuel pump when commanded by the scan tool. If the engine is not cranking or running, the PCM should de-energize the relay and turn OFF the fuel pump after 2-3 seconds.

  4. Connecting a fused jumper wire between the fuel pump feed terminal and the fuel pump relay ignition feed terminal verifies that the following circuits are all OK.

  5. • Fuel pump relay ignition feed circuit
    • Fuel pump feed circuit
    • Fuel pump
    • Fuel ground
  6. This step checks for an open in the fuel pump ground circuit.

  7. Reprogram the replacement PCM and perform the crankshaft position system variation learn procedure. Refer to PCM Replacement/Programming and CKP System Variation Learn Procedure for the Crankshaft Position System Variation Learn Procedure.

  8. This test will determine if a short to ground on the fuel pump feed circuit or the fuel injector feed circuit caused the fuse to open. Be sure to disconnect the fuel pump harness before the test in order to prevent a mis-diagnosis.

Engine Cranks But Will Not Run (Fuel Pump Circuit)

Step

Action

Value(s)

Yes

No

1

Did you perform the Powertrain On-Board Diagnostic (OBD) System Check?

--

Go to Step 2

Go to Powertrain On Board Diagnostic (OBD) System Check for 2.4L or Powertrain On Board Diagnostic (OBD) System Check for 2.2L

2

Inspect the Fuel Pump Relay Ignition Feed fuse.

Is the fuse OK?

--

Go to Step 3

Go to Step 20

3

  1. Turn ON the ignition switch leaving the engine OFF.
  2. Install a scan tool.
  3. Command the fuel pump relay ON with the scan tool.

Does the in-tank fuel pump run when the fuel pump relay is commanded ON?

--

Go to Fuel System Diagnosis for 2.4L or Fuel System Diagnosis for 2.2L

Go to Step 4

4

  1. Remove the fuel pump relay. Refer to Fuel Pump Relay Replacement .
  2. Connect a fused jumper wire between the following circuits:
  3. • Fuel pump feed terminal
    • Fuel pump relay ignition feed terminal

Does the fuel pump run?

--

Go to Step 5

Go to Step 6

5

  1. Connect a test light to ground.
  2. Probe the fuel pump relay control terminal.
  3. Command the fuel pump ON with the scan tool.

Does the test light illuminate?

--

Go to Step 7

Go to Step 8

6

  1. Connect a test light to ground.
  2. Probe the ignition feed terminal to the fuel pump relay.

Is the test light ON?

--

Go to Step 9

Go to Step 10

7

  1. Connect a test light to B+.
  2. Probe the ground terminal to the fuel pump relay.

Is the test light ON?

--

Go to Step 11

Go to Step 12

8

  1. Check the fuel pump control circuit for the following condition(s):
  2. • Open in the circuit
    • Short to ground
  3. Repair the circuit as necessary. Refer to Wiring Repairs in Wiring Systems.

Was a repair necessary?

--

Go to Step 25

Go to Step 13

9

  1. Reinstall the fuel pump relay. Refer to the Fuel Pump Relay Replacement .
  2. Disconnect the fuel pump electrical harness at the rear body electrical connector.
  3. Connect a test light to ground.
  4. Probe the fuel pump feed terminal (body side).
  5. Command the fuel pump ON with the scan tool.

Does the test light illuminate?

--

Go to Step 14

Go to Step 15

10

Repair the open or poor terminal connection at the fuse in the ignition feed circuit for the fuel pump relay. Refer to Connector Repairs in Wiring Systems.

Is the action complete?

--

Go to Step 25

--

11

  1. Check for poor terminal connection at the fuel pump relay.
  2. If the terminal connection is OK, then replace the fuel pump relay. Refer to the Fuel Pump Relay Replacement .

Is the action complete?

--

Go to Step 25

--

12

Repair the open in the ground circuit to the fuel pump relay. Refer to Wiring Repairs in Wiring Systems.

Is the action complete?

--

Go to Step 25

--

13

  1. Check the following condition(s) at the PCM:
  2. • Poor electrical terminal connections
    • Backed out terminals
    • Poor terminal tension
  3. Repair the electrical connection(s) and the terminals as necessary. Refer to Connector Repairs in Wiring Systems.

Was a repair necessary?

--

Go to Step 25

Go to Step 16

14

  1. Connect a test light to B+.
  2. Probe the fuel pump ground circuit (body side).

Does the test light illuminate?

--

Go to Step 17

Go to Step 18

15

Repair the open in the fuel pump feed circuit. Refer to Wiring Repairs in Wiring Systems.

Is the action complete?

--

Go to Step 25

--

16

  1. Turn OFF the ignition switch.
  2. Replace the PCM. Refer to PCM Replacement .

Is the action complete?

--

Go to Step 25

--

17

  1. Check the following circuit(s) in the fuel pump harness for an open:
  2. • Fuel pump feed
    • Poor electrical terminal connection at the fuel pump harness
    • Poor electrical terminal connection at the fuel sender
    • Ground
  3. Repair the circuit(s) as necessary. Refer to Wiring Repairs and Connector Repairs in Wiring Systems.

Was a repair necessary?

--

Go to Step 25

Go to Step 19

18

Repair the open in the fuel pump ground circuit. Refer to Wiring Repairs in Wiring Systems.

Is the action complete?

--

Go to Step 25

--

19

Replace the fuel pump. Refer to the Fuel Sender Assembly Replacement .

Is the action complete?

--

Go to Step 25

--

20

  1. Turn OFF the ignition switch.
  2. Remove the fuel pump relay.
  3. Disconnect the fuel pump electrical harness at the rear body harness electrical connector.
  4. Connect a test light to B+.
  5. Probe the fuel pump feed terminal.

Does the test light illuminate?

--

Go to Step 21

Go to Step 22

21

Repair the short to ground (between the rear body harness and the fuel pump relay) in the following circuits. Refer to Wiring Repairs in Wiring Systems.

    • Fuel pump ignition feed
    • Fuel injector ignition feed

Is the action complete?

--

Go to Step 25

--

22

  1. Connect a test light to B+.
  2. Probe the fuel pump relay ignition feed circuit terminal.

Does the test light illuminate?

--

Go to Step 23

Go to Step 24

23

  1. Repair the short to ground in the fuel pump relay ignition feed circuit. Refer to Wiring Repairs in Wiring Systems.
  2. Replace the open fuse.

Is the action complete?

--

Go to Step 25

--

24

  1. Check for a short to ground in the fuel pump feed circuit (fuel pump harness side).
  2. Repair the fuel pump feed circuit in the fuel pump harness as necessary. Refer to Wiring Repairs in Wiring Systems.

Was a repair necessary?

--

Go to Step 25

Go to Step 19

25

  1. Install the fuel pump relay.
  2. Attempt to start the engine.

Does the engine start and continue to run?

--

Go to Step 26

Go to Step 2

26

  1. Idle the engine until the normal operation temperature is reached.
  2. Check to see if any additional DTCs are set.

Does the scan tool display any DTCs that you have not diagnosed?

--

Go to the applicable DTC table

System OK