GM Service Manual Online
For 1990-2009 cars only

Removal Procedure

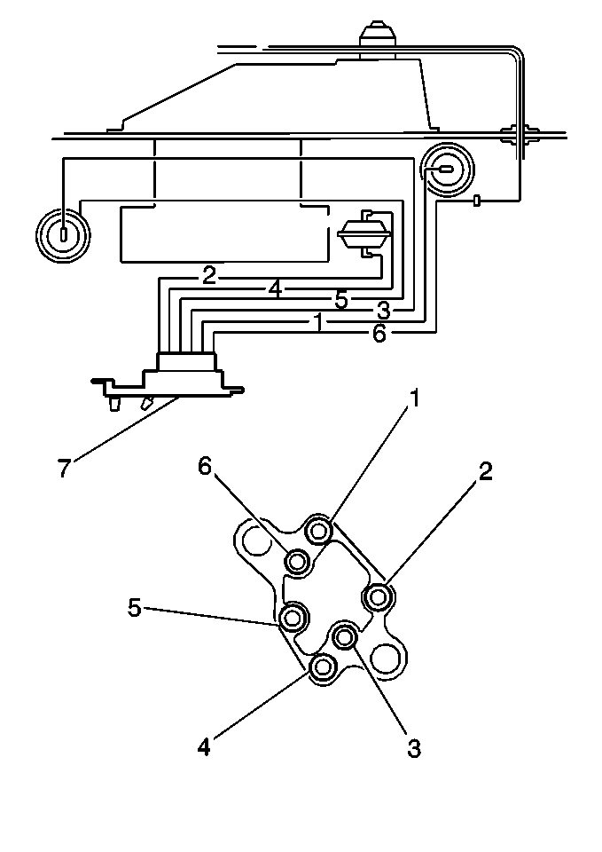
The vacuum hose harness is located under the instrument panel.

    Caution: Unless directed otherwise, the ignition and start switch must be in the OFF or LOCK position, and all electrical loads must be OFF before servicing any electrical component. Disconnect the negative battery cable to prevent an electrical spark should a tool or equipment come in contact with an exposed electrical terminal. Failure to follow these precautions may result in personal injury and/or damage to the vehicle or its components.

  1. Disconnect the negative battery cable.
  2. Remove the instrument panel trim pad. Refer to Instrument Panel Trim Pad Replacement in Instrument Panel, Gauges and Console.
  3. Remove the air distribution duct.

  4. Object Number: 302660  Size: MH
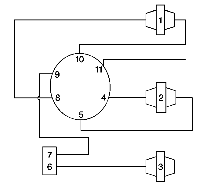
  5. Disconnect the vacuum hoses at the following locations:
  6. • The vacuum actuators
    • The vacuum tank
  7. Disconnect the vacuum harness from the control assembly (7).

Installation Procedure


    Object Number: 292735  Size: SH
  1. Connect the vacuum harness to the vacuum assembly (7).
  2. Connect the vacuum lines to the vacuum actuators.
  3. Install the air distribution duct.
  4. Install the instrument panel trim pad. Refer to Instrument Panel Trim Pad Replacement in Instrument Panel, Gauges and Console.
  5. Notice: Use the correct fastener in the correct location. Replacement fasteners must be the correct part number for that application. Fasteners requiring replacement or fasteners requiring the use of thread locking compound or sealant are identified in the service procedure. Do not use paints, lubricants, or corrosion inhibitors on fasteners or fastener joint surfaces unless specified. These coatings affect fastener torque and joint clamping force and may damage the fastener. Use the correct tightening sequence and specifications when installing fasteners in order to avoid damage to parts and systems.

  6. Connect the negative battery cable.
  7. Tighten
    Tighten the bolt to 16 N·m (12 lb ft).