GM Service Manual Online
For 1990-2009 cars only

Backup Lamp Replacement Chevrolet and Pontiac Coupe

Removal Procedure

  1. Turn the back-up lamp bulb counter-clockwise.
  2. Pull the back-up lamp bulb from the socket.

Installation Procedure

  1. Align the tabs.
  2. Turn the back-up lamp bulb clockwise into the socket.

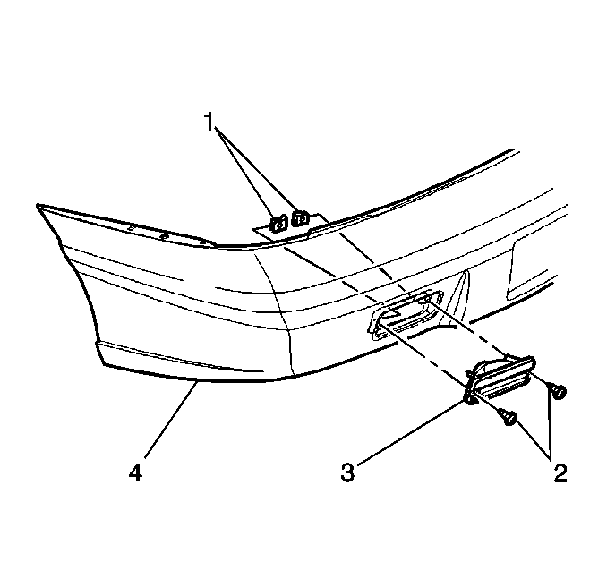
Backup Lamp Replacement Pontiac Sedan

Removal Procedure


    Object Number: 280057  Size: SH
  1. Remove the screws (2) from the back-up lamp assembly (3).
  2. Remove the lamp assembly (3) from the rear fascia (4).
  3. Disconnect the electrical connector.
  4. Turn the back-up lamp bulb 1/4 turn counter-clockwise in order to remove the bulb from the back-up lamp assembly (3).

Installation Procedure


    Object Number: 280057  Size: SH
  1. Turn the back-up lamp bulb 1/4 turn clockwise in order to install the bulb into the back-up lamp assembly (3).
  2. Connect the electrical connector.
  3. Install the back-up lamp assembly (3) to the rear fascia (4).
  4. Notice: Use the correct fastener in the correct location. Replacement fasteners must be the correct part number for that application. Fasteners requiring replacement or fasteners requiring the use of thread locking compound or sealant are identified in the service procedure. Do not use paints, lubricants, or corrosion inhibitors on fasteners or fastener joint surfaces unless specified. These coatings affect fastener torque and joint clamping force and may damage the fastener. Use the correct tightening sequence and specifications when installing fasteners in order to avoid damage to parts and systems.

  5. Install the screws (2) to the back-up lamp assembly (3).
  6. Tighten
    Tighten the screws to 2 N·m (18 lb in).