GM Service Manual Online
For 1990-2009 cars only
Figure 1:

Right Front I/P Compartment


Object Number: 291766  Size: LF
(1)Door Lock Relay
(2)Door Jamb Connector, Front Passenger
(3)HVAC Connector
(4)Antenna Lead
(5)Radio Connector
Figure 2:

Ignition Control Module, Engine Sensors, Backup Lamp


Object Number: 291875  Size: LF
(1)Ignition Control Module
(2)Post-Converter Oxygen Sensor
(3)Pre-Converter Oxygen Sensor
(4)Knock Sensor
(5)Vehicle Speed Sensor (VSS) (Manual Transmission)
(6)Backup Lamp Switch (Manual)
(7)Engine Coolant Temperature (ECT) Sensor
(8)Intake Air Temperature (IAT) Sensor
(9)Engine Oil Pressure Sensor
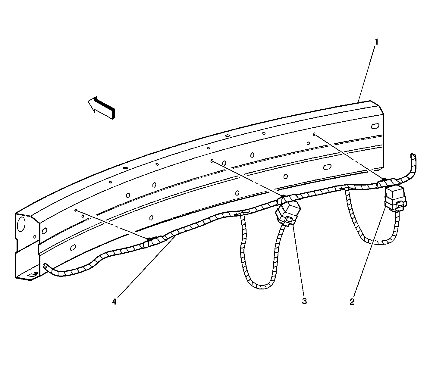
Figure 3:

Fog Lamp Relays


Object Number: 291941  Size: LF
(1)Front Impact Bar
(2)Fog Lamp Cutoff Relay
(3)Fog Lamp Relay
(4)Forward Lamp Harness
Figure 4:

Fog Lamp/Panel Dimmer Switch


Object Number: 292084  Size: LF
(1)Panel Dimmer Switch
(2)Cluster Trimplate (Chevrolet)
(3)Fog Lamp/Panel Dimmer Switch
(4)Panel Dimmer Switch Connector
(5)IP Retainer (Pontiac)
Figure 5:

Luggage Compartment Lamp Assembly Connector


Object Number: 292132  Size: LF
(1)High-Mounted Stoplamp Assembly
(2)Luggage Compartment Lamp Switch
(3)Luggage Compartment Lamp Assembly Connector
(4)Rear Package Shelf
(5)Luggage Compartment Lamp
Figure 6:

Brake Switch and Cruise Control Brake Switch


Object Number: 291812  Size: LF
(1)Brake Switch
(2)Cruise Control Brake Switch
(3)Turn/Hazard Flasher
Figure 7:

Data Link and Lamp Dimmer Module Connectors


Object Number: 291819  Size: LF
(1)Tie Bar
(2)Data Link Connector (DLC)
(3)Lamp Dimmer Module Connector
(4)Radio Lead (Pontiac)
(5)Lamp Dimmer Module
Figure 8:

Left Front Marker Lamp


Object Number: 291931  Size: LF
(1)Front Fender
(2)Marker Lamp, Left Front (Chevrolet)
Figure 9:

Park/Turn Lamp Assembly (Chevrolet)


Object Number: 291929  Size: LF
(1)Front Fascia (Chevrolet)
(2)Park/Turn Lamp Assembly (Chevrolet)
Figure 10:

RH and LH Courtesy Lamp Switch


Object Number: 292122  Size: LF
(1)Courtesy Lamp, Right Side
(2)Courtesy Lamp Switch, Right Side
(3)Courtesy Lamp Switch, Left Side
(4)Courtesy Lamp, Right Side
(5)Dome Lamp
Figure 11:

Right Backup Lamp


Object Number: 291683  Size: LF
(1)License Lamp (Chevrolet)
(2)Backup Lamp, Right Side
(3)License Lamp (Pontiac)
(4)Backup Lamp, Left Side
(5)Rear Impact Bar
(6)Rear Impact Bar
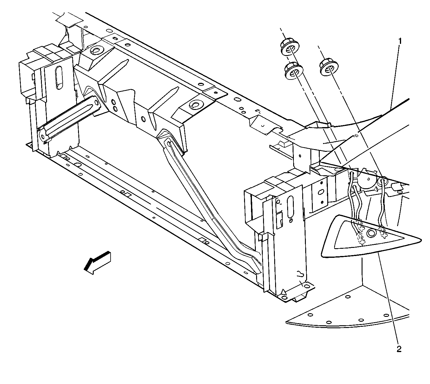
Figure 12:

Fog Lamp Assembly


Object Number: 291945  Size: LF
(1)Front Impact Bar
(2)Fog Lamp Assembly (Left side shown; Right side opposite)
Figure 13:

LH Headlamp Assembly


Object Number: 291949  Size: LF
(1)Front Fender
(1)Front Fender
(2)Forward Lamp Wiring Harness
(2)Forward Lamp Wiring Harness
(3)Headlamp Assembly, Left Side (Pontiac) (Right side is similar)
(4)Headlamp Assembly, Left Side (Chevrolet) (Left side is similar)
Figure 14:

Backup Lamp and Tail/Stoplamp Connectors


Object Number: 292148  Size: LF
(1)Backup Lamp Connectors (Pontiac)
(2)License Lamp Connector (Pontiac)
(3)Backup Lamp Assembly (Pontiac)
(4)Tail/Stoplamp Connector (Chevrolet)
(5)Tail/Stoplamp Assembly (Chevrolet)
(6)Backup Lamp Assembly (Chevrolet)
(7)Backup Lamp Connector (Chevrolet)
(8)Tail/Stoplamp Assembly (Pontiac)
(9)Tail/Stoplamp Connector (Pontiac)
Figure 15:

Left Rear Side Marker


Object Number: 291727  Size: LF
(1)Rear Fascia
(2)Side Marker, Left Rear (Right Rear is similar)
Figure 16:

Rearview Mirror Courtesy Lamps


Object Number: 292089  Size: LF
(1)Rearview Mirror Courtesy Lamps
Figure 17:

Steering Column Component Connectors


Object Number: 291808  Size: LF
(1)Steering Column Assembly
(2)Windshield Wiper Connector
(3)Passlockā„¢ Lock Sensor Connector
(4)Windshield Wiper Switch Assembly
(5)Turn Signal/MultifunctionSwitch
(6)Turn Signal/Mulfunction Connector C1
(7)Turn Signal/MulfunctionConnector C2
(8)Headlamp Connector
Figure 18:

Park, Side Marker and Turn Signal Lamp Assembly (Pontiac)


Object Number: 291953  Size: LF
(1)Marker Lamp, Left Front (J000)
(2)Park, Side Marker and Turn Signal Lamp Assembly (JB00)
(3)Front Fascia (JB00)
(4)Front Fascia (J000)
(5)Park/Turn Lamp (J000)