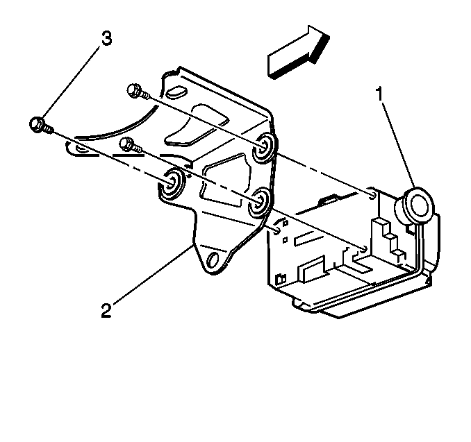
The cruise control module assembly is mounted on the right front strut tower. The module assembly has an electronic controller and an electric stepper motor in order to vary the throttle with each different cruise control mode. The module assembly is not serviceable.
Caution: Unless directed otherwise, the ignition and start switch must be in the OFF or LOCK position, and all electrical loads must be OFF before servicing any electrical component. Disconnect the negative battery cable to prevent an electrical spark should a tool or equipment come in contact with an exposed electrical terminal. Failure to follow these precautions may result in personal injury and/or damage to the vehicle or its components.
Notice: Use the correct fastener in the correct location. Replacement fasteners must be the correct part number for that application. Fasteners requiring replacement or fasteners requiring the use of thread locking compound or sealant are identified in the service procedure. Do not use paints, lubricants, or corrosion inhibitors on fasteners or fastener joint surfaces unless specified. These coatings affect fastener torque and joint clamping force and may damage the fastener. Use the correct tightening sequence and specifications when installing fasteners in order to avoid damage to parts and systems.
Important: Do not pre-tap screws to the module without mounting a bracket in between the module and the screw. The added length of the screw may damage the cruise control module.
Tighten
Tighten the nuts to 12 N·m (106 lb in).
Tighten
Tighten the nuts to 25 N·m (18 lb ft).
The cruise control module assembly is mounted on the right front strut tower. The module assembly has an electronic controller and an electric stepper motor in order to vary the throttle with each different cruise control mode. The module assembly is not serviceable.
Caution: Unless directed otherwise, the ignition and start switch must be in the OFF or LOCK position, and all electrical loads must be OFF before servicing any electrical component. Disconnect the negative battery cable to prevent an electrical spark should a tool or equipment come in contact with an exposed electrical terminal. Failure to follow these precautions may result in personal injury and/or damage to the vehicle or its components.
Notice: Use the correct fastener in the correct location. Replacement fasteners must be the correct part number for that application. Fasteners requiring replacement or fasteners requiring the use of thread locking compound or sealant are identified in the service procedure. Do not use paints, lubricants, or corrosion inhibitors on fasteners or fastener joint surfaces unless specified. These coatings affect fastener torque and joint clamping force and may damage the fastener. Use the correct tightening sequence and specifications when installing fasteners in order to avoid damage to parts and systems.
Important: Do not pre-tap screws to the module without mounting a bracket in between the module and the screw. The added length of the screw may damage the cruise control module.
Tighten
Tighten the nuts to 12 N·m (106 lb in).