Removal Procedure
- Remove the left sound insulator. Refer to
Instrument Panel Insulator Replacement
in Instrument Panel,
Gauges and Console.
- Disconnect the wiring
harness connectors.
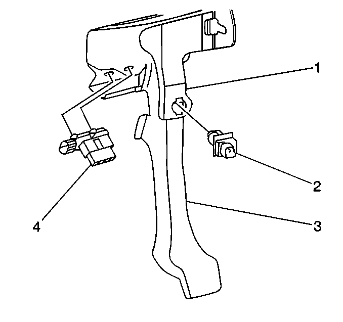
- Pull the clutch pedal switch (1) rearward in order to remove
the switch from the retainer in the bracket.
Installation Procedure
- Install the retainer into
the bracket from the forward side.
- Depress the clutch pedal (3).
- Insert the switch into the retainer until the switch seats on
the retainer.
- Connect the wiring harness to the clutch pedal switch.
- Use the following steps in order to adjust the switch:
| 5.1. | Pull the clutch pedal fully rearward against the pedal stop until
you cannot hear the clicks. |
| 5.2. | Move the switch in the retainer in order to adjust the switch. |
| 5.3. | Release the clutch pedal. |
| 5.4. | Repeat the procedure, if necessary, in order to properly adjust
the switch. |
- Connect the wiring harness connectors.
- Install the sound insulator. Refer to
Instrument Panel Insulator Replacement
in Instrument Panel, Gauges and Console.