GM Service Manual Online
For 1990-2009 cars only

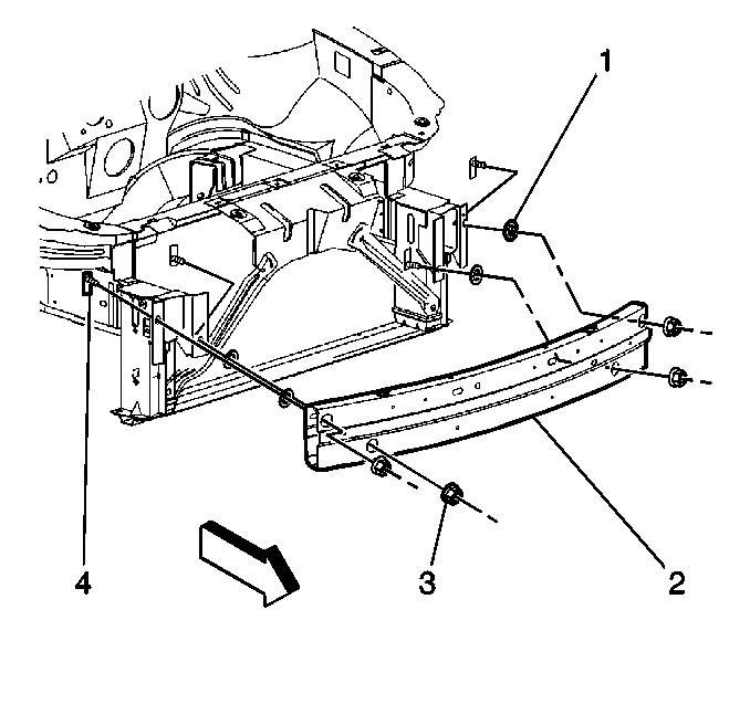
Removal Procedure


    Object Number: 284851  Size: SH
  1. Remove the front fascia. Refer to Front Bumper Fascia Lower Close Out Panel Replacement .
  2. Remove the energy absorber bar. Refer to Front Bumper Fascia Energy Absorber Replacement .
  3. Remove the 2 nuts (3) from each side of the impact bar (2).
  4. Remove the impact bar (2) from the vehicle.

Installation Procedure


    Object Number: 284851  Size: SH
  1. Install the impact bar (2) the vehicle.
  2. Notice: Use the correct fastener in the correct location. Replacement fasteners must be the correct part number for that application. Fasteners requiring replacement or fasteners requiring the use of thread locking compound or sealant are identified in the service procedure. Do not use paints, lubricants, or corrosion inhibitors on fasteners or fastener joint surfaces unless specified. These coatings affect fastener torque and joint clamping force and may damage the fastener. Use the correct tightening sequence and specifications when installing fasteners in order to avoid damage to parts and systems.

  3. Install the 2 nuts (3) to each side of the impact bar (2).
  4. Tighten
    Tighten the nuts and the bolts to 27 N·m (20 lb ft).

  5. Install the energy absorber bar to the impact bar. Refer to Front Bumper Fascia Energy Absorber Replacement .
  6. Install the fascia. Refer to Front Bumper Fascia Lower Close Out Panel Replacement .