GM Service Manual Online
For 1990-2009 cars only
Makes
🢒
Pontiac
🢒
1998
🢒
Sunfire
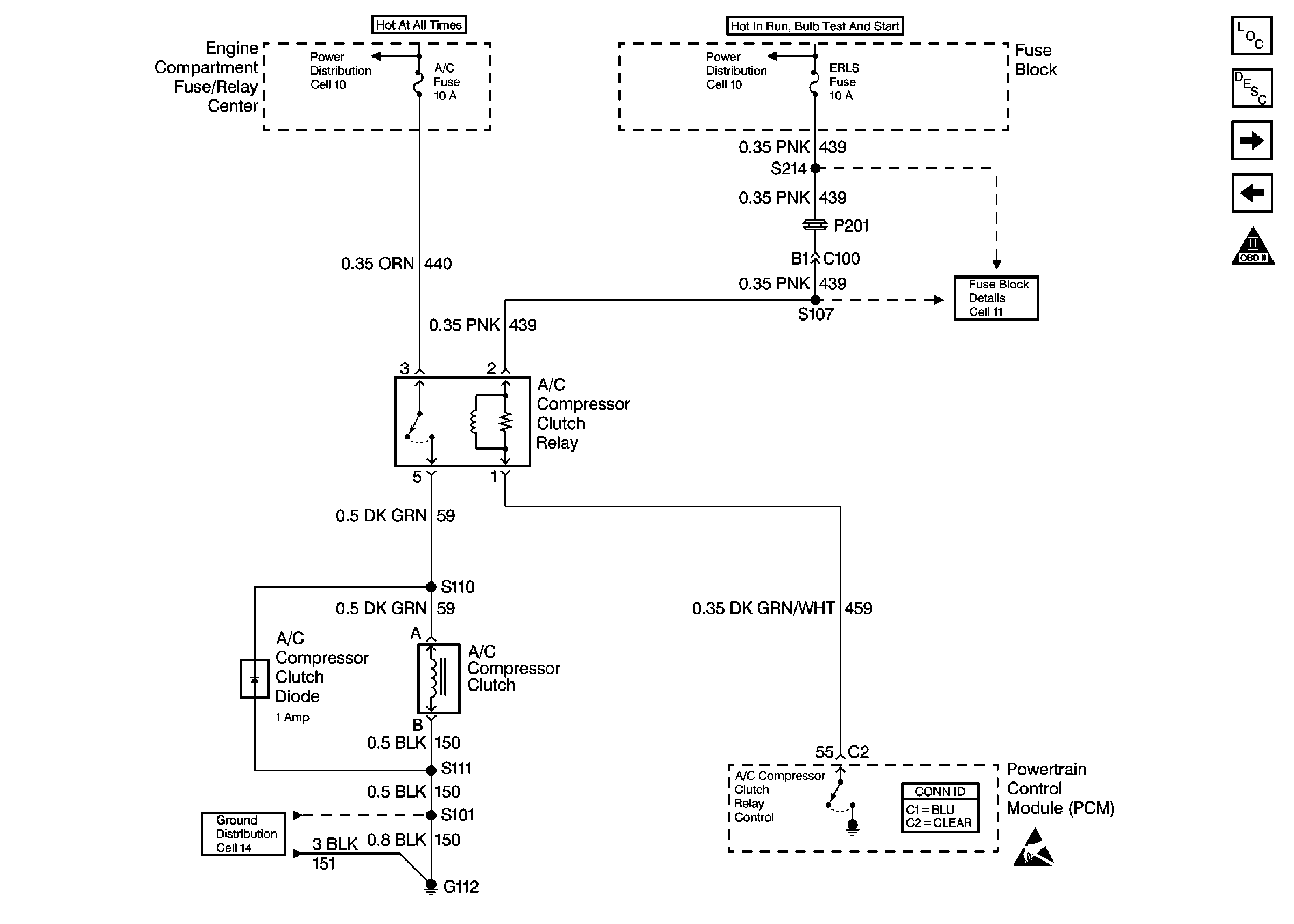
🢒 A/C Controls
A/C Controls
A/C Controls
Engine Controls Components
Information Sensors/Switches Description
Cooling Fan Controls
Transaxle Controls (Switches)
OBDII Symbol Description Notice
Handling Electrostatic Discharge Sensitive Parts Notice