GM Service Manual Online
For 1990-2009 cars only

Removal Procedure


    Object Number: 142260  Size: SH
  1. Remove the caliper completely from the vehicle. Refer to Brake Caliper Replacement .
  2. Disassemble the bushings (6).
  3. Inspect the bushings (6) for cuts and nicks. Replace the bushings (6) if damaged.

  4. Object Number: 142258  Size: SH

    Caution: Do not place your fingers in front of the piston in order to catch or protect the piston while applying compressed air. This could result in serious injury.

    Important: Use clean shop towels in order to pad the interior of the caliper housing during the removal.

  5. Remove the piston using compressed air into the caliper inlet hole (1).
  6. Inspect the piston for the following conditions:
  7. • Scoring
    • Nicks
    • Corrosion
  8. Replace the piston if any of these conditions are found.

  9. Object Number: 171214  Size: SH
  10. Remove the boot (2) from the caliper housing bore. Be careful not to scratch the housing bore.
  11. Notice: Do not use a metal tool for seal removal. Damage to the caliper bore or the seal grooves can result.

  12. Remove the piston seal grove in the caliper housing bore with a small wood or plastic tool.
  13. Inspect the caliper housing bore and seal groove for:
  14. • Scoring
    • Nicks
    • Corrosion and wear
  15. Use a crocus cloth to polish out light corrosion.
  16. Replace the caliper (1) if corrosion in and around the seal groove does not clean up with a crocus cloth.

  17. Object Number: 142260  Size: SH
  18. Remove the bleeder valve (5) and bleeder valve cap from the caliper.
  19. Clean all parts in clean, denatured alcohol.
  20. Dry the parts with unlubricated compressed air.
  21. Blow out all passages in the caliper housing and bleeder valve.

Installation Procedure

Tools Required

J 29077-A Front Disc Brake Caliper Dust Boot Installer


    Object Number: 142260  Size: SH

    Notice: Use the correct fastener in the correct location. Replacement fasteners must be the correct part number for that application. Fasteners requiring replacement or fasteners requiring the use of thread locking compound or sealant are identified in the service procedure. Do not use paints, lubricants, or corrosion inhibitors on fasteners or fastener joint surfaces unless specified. These coatings affect fastener torque and joint clamping force and may damage the fastener. Use the correct tightening sequence and specifications when installing fasteners in order to avoid damage to parts and systems.

  1. Assemble the bleeder valve  (5) and bleeder valve cap into caliper.
  2. Tighten
    Tighten the bleeder valve to 13 N·m (115 lb in).

  3. Lubricate the new piston seal (2) and install the new piston seal into the caliper bore groove.
  4. Ensure the seal (2) is not twisted.

  5. Object Number: 171213  Size: SH
  6. Install the lubricated boot (2) onto the piston (1).
  7. Install the piston and boot onto the bore of the caliper and push to the bottom of the bore.

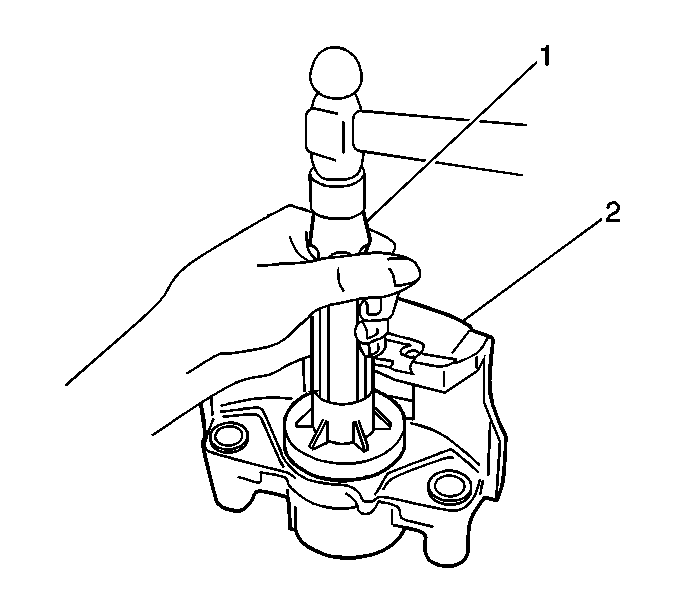
  8. Object Number: 537513  Size: SH
  9. Seat boot in the caliper housing counter bore using J 29077-A  (1).
  10. Perform the following steps in order to install the bushings:
  11. 7.1. Lubricate the beveled end of the bushing with silicone grease, GM P/N 1052863 or the equivalent.
    7.2. Pinch the bushing and install the bevel end first.
    7.3. Push the bushing through the housing mounting bore.
  12. Install the caliper. Refer to Brake Caliper Replacement .