GM Service Manual Online
For 1990-2009 cars only
Makes
🢒
Pontiac
🢒
1999
🢒
Sunfire
🢒
Brakes
🢒
Antilock Brake System
🢒 Power Distribution Schematics
Figure
1:
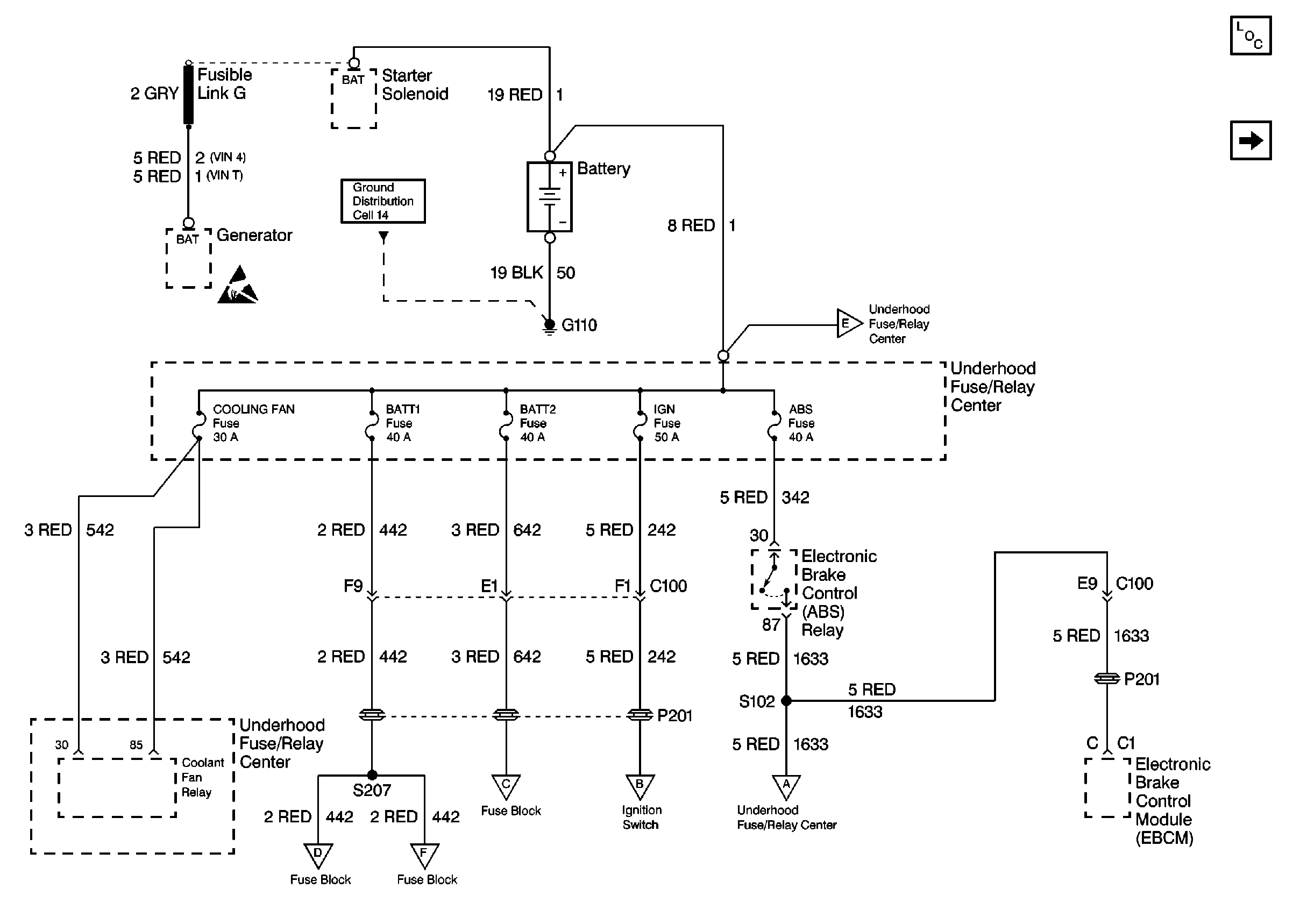
Power Distribution Schematics (Cell 10: Cooling Fan, BATT1, BATT2, IGN, and ABS Fuses)
Power and Grounding Components
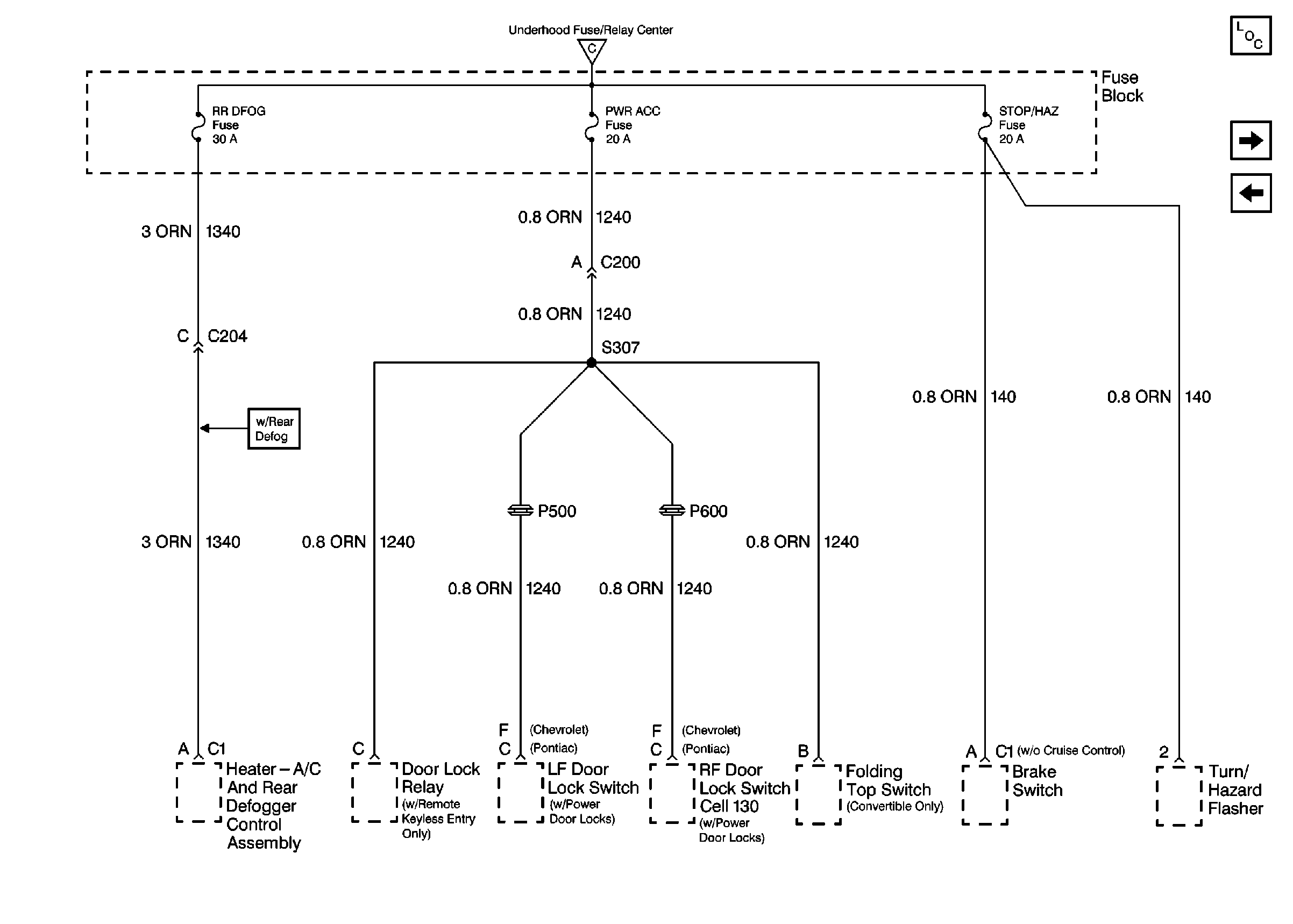
Power Distribution Schematics (Cell 10: RR DEFOG, PWR ACC and STOP/HAZ Fuses)
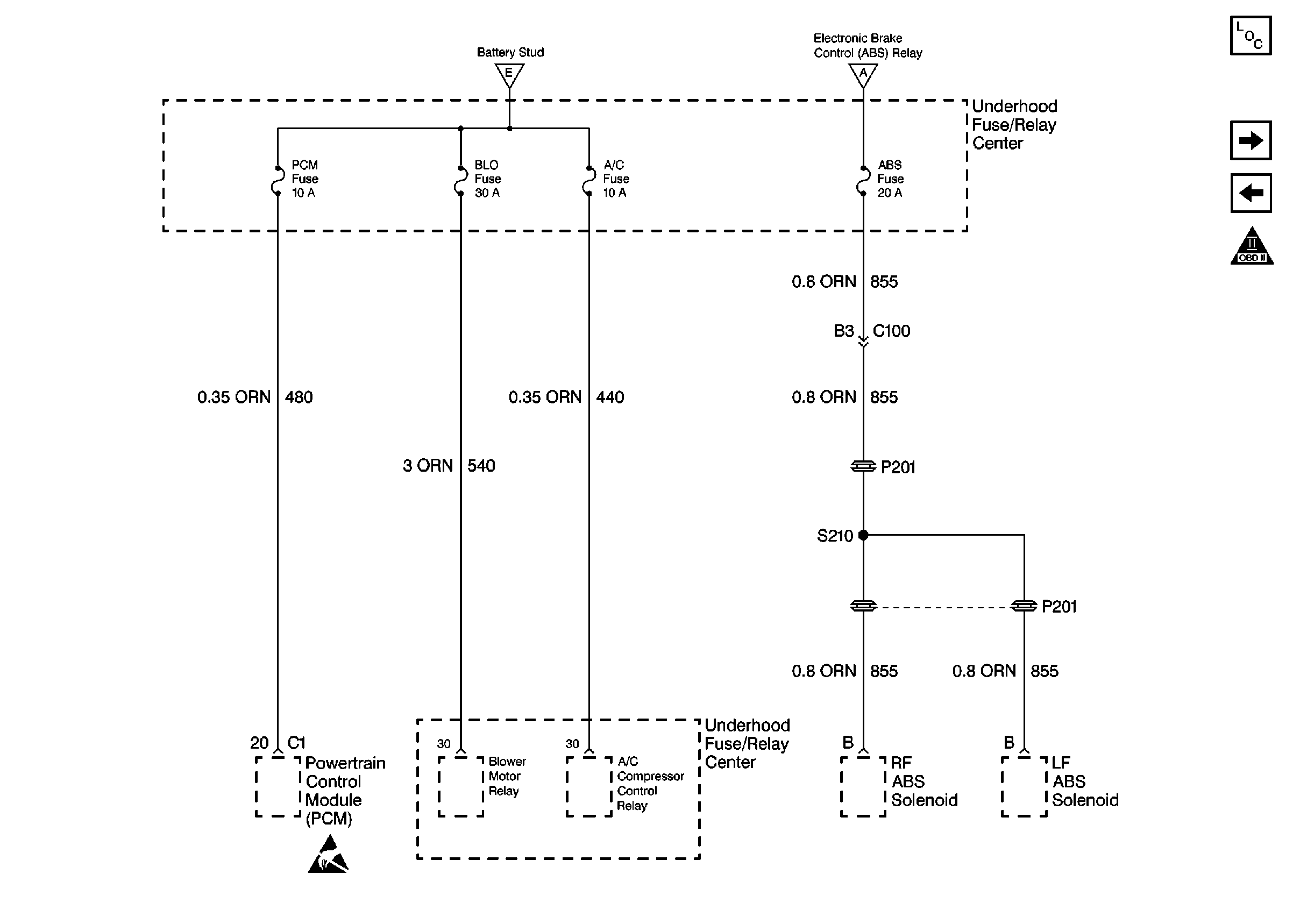
Power Distribution Schematics (Cell 10: PCM, BLO, A/C and ABS Fuses)
Power Distribution Schematics (Cell 10: PCM, BLO, A/C and ABS Fuses)
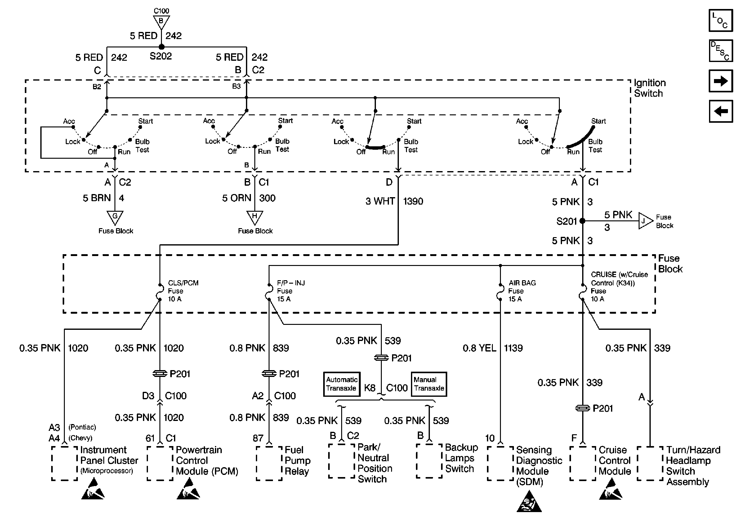
Power Distribution Schematics (Cell 10: CLS/PCM, F/P INJ, AIR BAG and CRUISE Fuses)
Power Distribution Schematics (Cell 10: RR DEFOG, PWR ACC and STOP/HAZ Fuses)
Ground Distribution Schematics
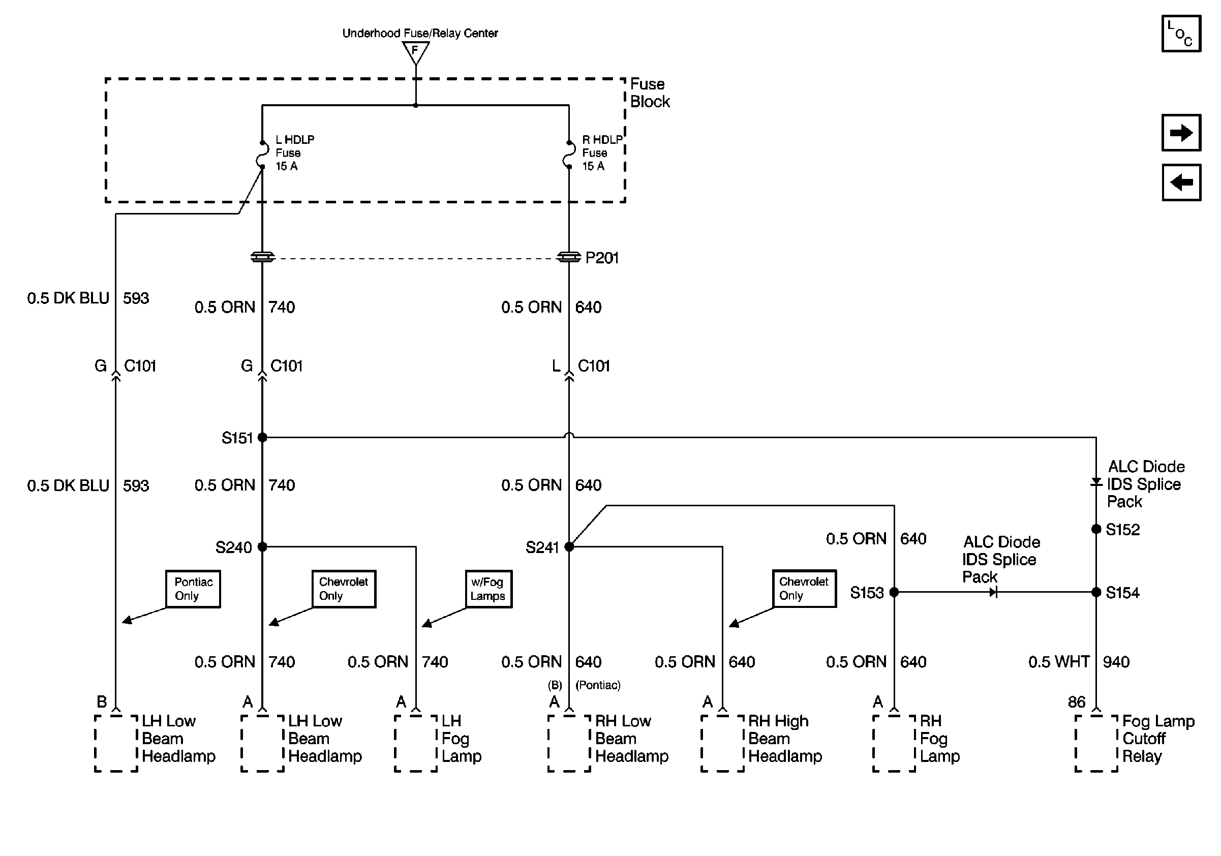
Power Distribution Schematics (Cell 10: L HDLP and R HDLP Fuses)
Power Distribution Schematics (Cell 10: CIG, Horn, Cluster, EXT Lamp and INT Lamp Fuses)
Handling ESD Sensitive Parts Notice
Figure
2:
Power Distribution Schematics (Cell 10: RR DEFOG, PWR ACC and STOP/HAZ Fuses)
Power and Grounding Components
Power Distribution Schematics (Cell 10: PCM, BLO, A/C and ABS Fuses)
Power Distribution Schematics (Cell 10: Cooling Fan, BATT1, BATT2,IGN, and ABS Fuses)
Power Distribution Schematics (Cell 10: Cooling Fan, BATT1, BATT2,IGN, and ABS Fuses)
Figure
3:
Power Distribution Schematics (Cell 10: PCM, BLO, A/C and ABS Fuses)
Power and Grounding Components
Power Distribution Schematics (Cell 10: L HDLP and R HDLP Fuses)
Power Distribution Schematics (Cell 10: RR DEFOG, PWR ACC and STOP/HAZ Fuses)
OBD II Symbol Description Notice
Power Distribution Schematics (Cell 10: Cooling Fan, BATT1, BATT2,IGN, and ABS Fuses)
Power Distribution Schematics (Cell 10: Cooling Fan, BATT1, BATT2,IGN, and ABS Fuses)
Handling ESD Sensitive Parts Notice
Figure
4:
Power Distribution Schematics (Cell 10: L HDLP and R HDLP Fuses)
Power and Grounding Components
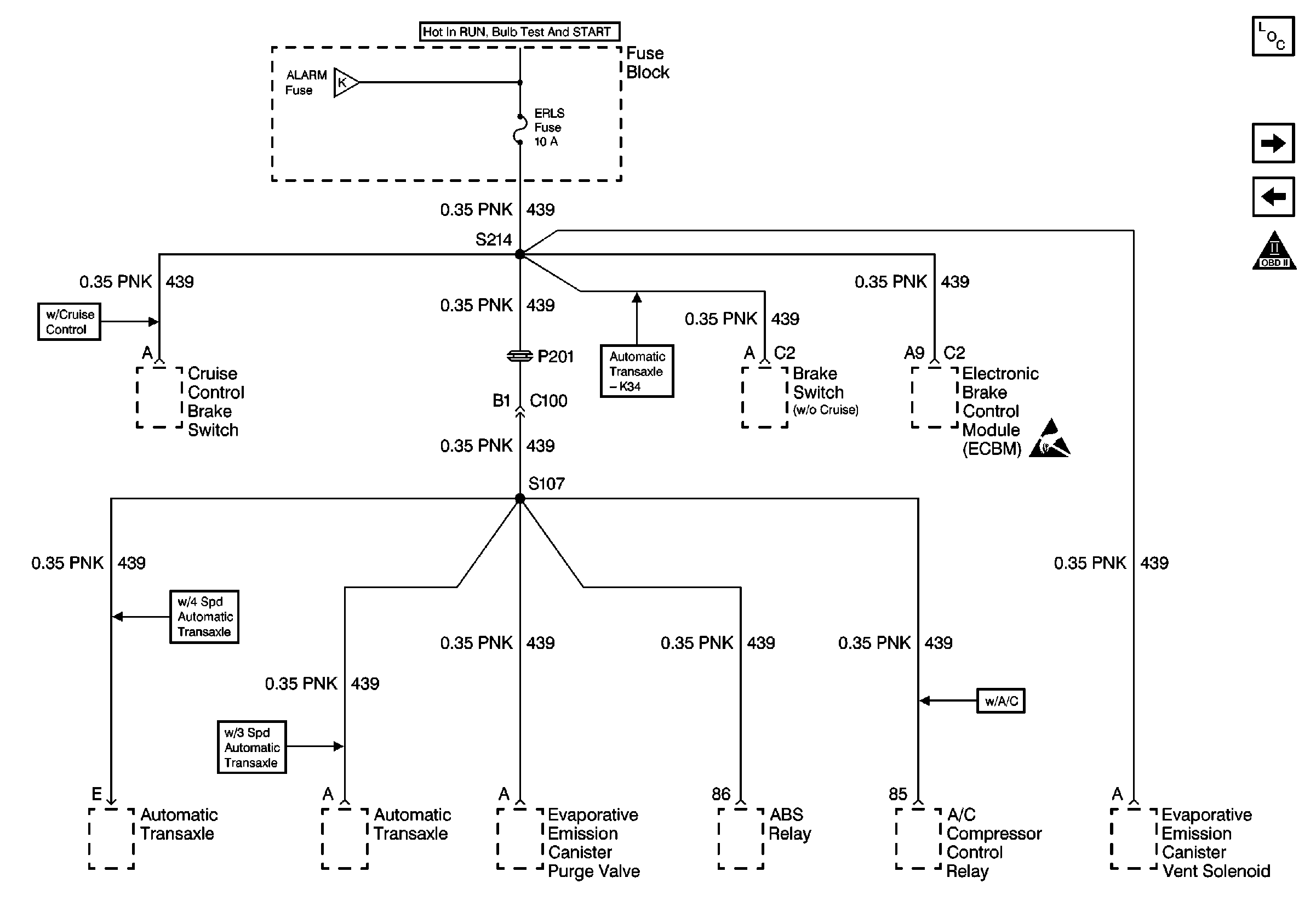
Power Distribution Schematics (Cell 10: CLS/PCM, F/P INJ, AIR BAG and CRUISE Fuses)
Power Distribution Schematics (Cell 10: PCM, BLO, A/C and ABS Fuses)
Power Distribution Schematics (Cell 10: Cooling Fan, BATT1, BATT2,IGN, and ABS Fuses)
Figure
5:
Power Distribution Schematics (Cell 10: CLS/PCM, F/P INJ, AIR BAG and CRUISE Fuses)
Power and Grounding Components
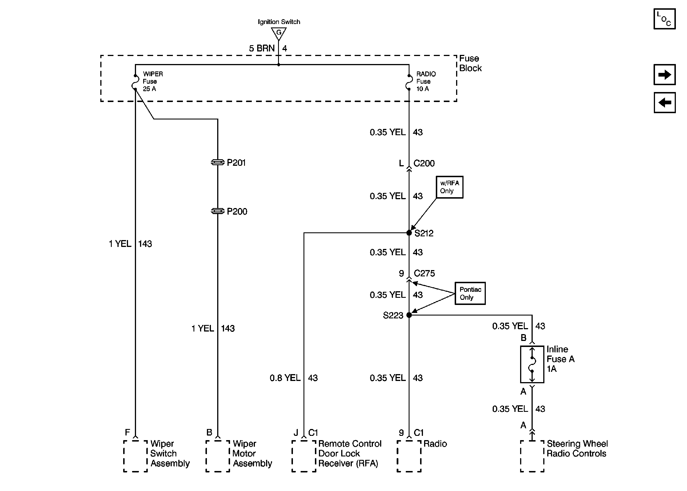
Power Distribution Schematics (Cell 10: Wiper and Radio Fuses)
Power Distribution Schematics (Cell 10: L HDLP and R HDLP Fuses)
Power Distribution Schematics (Cell 10: Turn B/U, IGN, PCM/IGN and Alarm Fuses)
Handling ESD Sensitive Parts Notice
SIR Handling Caution
Power Distribution Schematics (Cell 10: HVAC, O2 HTR and PWR Window Fuses)
Handling ESD Sensitive Parts Notice
Power Distribution Schematics (Cell 10: Cooling Fan, BATT1, BATT2,IGN, and ABS Fuses)
Handling ESD Sensitive Parts Notice
Power Distribution Schematics (Cell 10: Wiper and Radio Fuses)
Figure
6:
Power Distribution Schematics (Cell 10: Wiper and Radio Fuses)
Power and Grounding Components
Power Distribution Schematics (Cell 10: Turn B/U, IGN, PCM/IGN and Alarm Fuses)
Power Distribution Schematics (Cell 10: CLS/PCM, F/P INJ, AIR BAG and CRUISE Fuses)
Power Distribution Schematics (Cell 10: CLS/PCM, F/P INJ, AIR BAG and CRUISE Fuses)
Figure
7:
Power Distribution Schematics (Cell 10: Turn B/U, IGN, PCM/IGN and Alarm Fuses)
Power and Grounding Components
Power Distribution Schematics (Cell 10: ERLS Fuse)
Power Distribution Schematics (Cell 10: Wiper and Radio Fuses)
OBD II Symbol Description Notice
Power Distribution Schematics (Cell 10: ERLS Fuse)
Handling ESD Sensitive Parts Notice
Power Distribution Schematics (Cell 10: CLS/PCM, F/P INJ, AIR BAG and CRUISE Fuses)
Handling ESD Sensitive Parts Notice
Figure
8:
Power Distribution Schematics (Cell 10: ERLS Fuse)
Power and Grounding Components
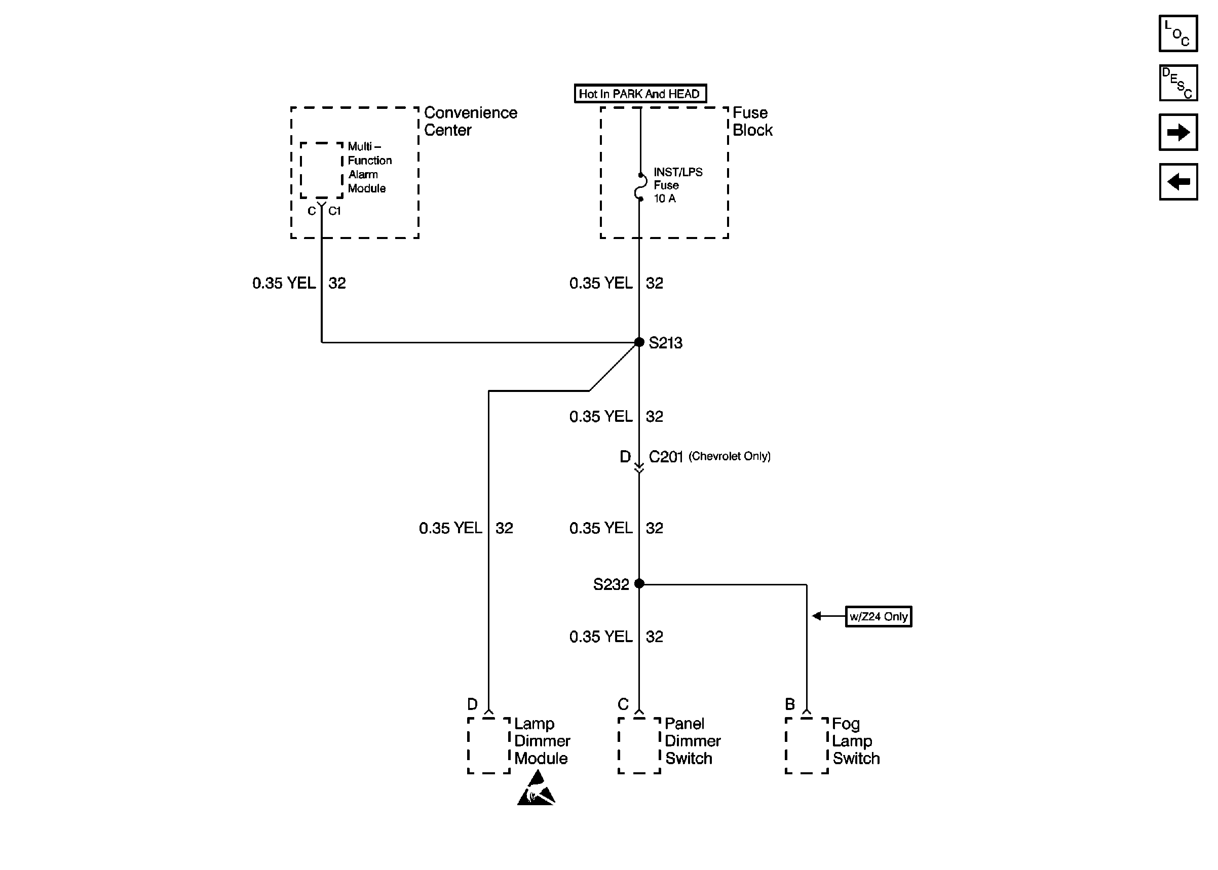
Power Distribution Schematics (Cell 10: INST/LPS Fuse)
Power Distribution Schematics (Cell 10: Turn B/U, IGN, PCM/IGN and Alarm Fuses)
OBD II Symbol Description Notice
Handling ESD Sensitive Parts Notice
Power Distribution Schematics (Cell 10: Turn B/U, IGN, PCM/IGN and Alarm Fuses)
Figure
9:
Power Distribution Schematics (Cell 10: INST/LPS Fuse)
Power and Grounding Components
Power Distribution Schematics (Cell 10: CIG, Horn, Cluster, EXT Lamp and INT Lamp Fuses)
Power Distribution Schematics (Cell 10: ERLS Fuse)
Handling ESD Sensitive Parts Notice
Figure
10:
Power Distribution Schematics (Cell 10: CIG, Horn, Cluster, EXT Lamp and INT Lamp Fuses)
Power and Grounding Components
Power Distribution Schematics (Cell 10: HVAC, O2 HTR and PWR Window Fuses)
Power Distribution Schematics (Cell 10: INST/LPS Fuse)
Handling ESD Sensitive Parts Notice
Power Distribution Schematics (Cell 10: Cooling Fan, BATT1, BATT2,IGN, and ABS Fuses)
Handling ESD Sensitive Parts Notice
Handling ESD Sensitive Parts Notice
Handling ESD Sensitive Parts Notice
Figure
11:
Power Distribution Schematics (Cell 10: HVAC, O2 HTR and PWR Window Fuses)
Power and Grounding Components
Power Distribution Schematics (Cell 10: CIG, Horn, Cluster, EXT Lamp and INT Lamp Fuses)
Power Distribution Schematics (Cell 10: CLS/PCM, F/P INJ, AIR BAG and CRUISE Fuses)