GM Service Manual Online
For 1990-2009 cars only
Makes
🢒
Pontiac
🢒
1999
🢒
Sunfire
🢒
Body and Accessories
🢒
Theft Deterrent
🢒 Diagnostic System Check - Theft Deterrent
Theft Deterrent System Components
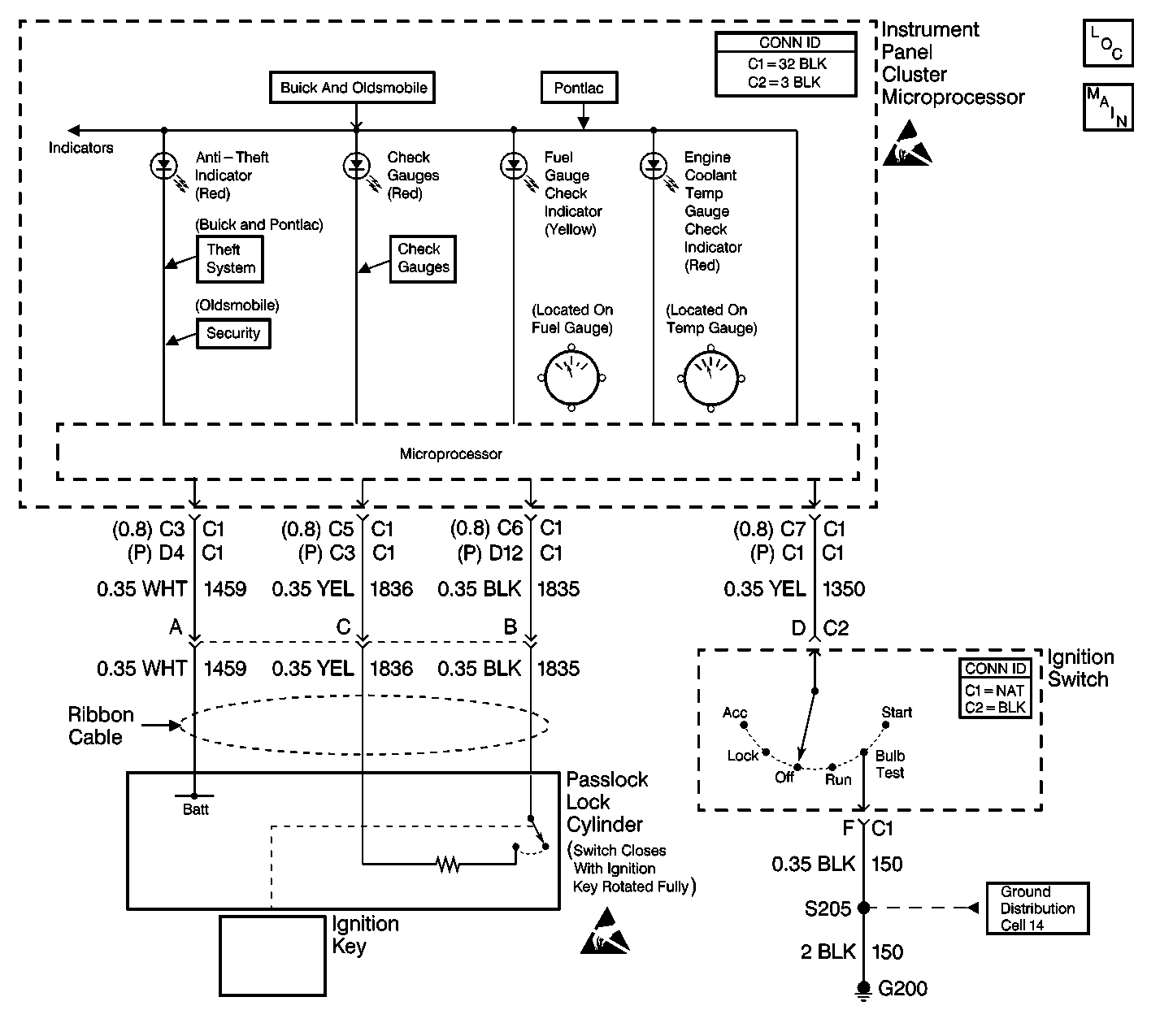
Theft Deterrent System Schematics
Handling ESD Sensitive Parts Notice
Handling ESD Sensitive Parts Notice
Ground Distribution Schematics