GM Service Manual Online
For 1990-2009 cars only

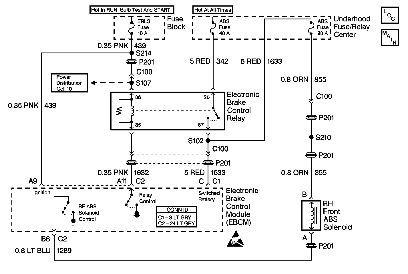
Object Number: 375561  Size: MF
ABS Components
Antilock Brake System Schematics
Handling ESD Sensitive Parts Notice

Circuit Description

DTC C1278 identifies a brake solenoid valve that cannot be energized. The malfunction may be caused by one of the following conditions:

    • An open in the solenoid valve circuitry
    • The solenoid valve is always energized due to a short to ground in the solenoid valve circuitry between the driver and the brake solenoid valve.

An open will not allow proper ABS operation, but the short to ground simply turns on the brake solenoid valve. A path for base brakes is still allowed once the motor rehomes and the check ball is lifted off its seat during key to RUN initialization.

Conditions for Setting the DTC

DTC C1278 can set only when the solenoid is commanded off while the Electronic Brake Control Relay is enabled.

A malfunction exists if the EBCM detects the right front brake solenoid valve control circuit voltage is not within specifications.

Action Taken When the DTC Sets

    • A malfunction DTC stores.
    • The ABS disables.
    • The ABS warning indicator turns on.

Conditions for Clearing the DTC

    • The condition responsible for setting the DTC no longer exists and the Scan Tool Clear DTCs function is used.
    • 100 drive cycles pass with no DTC(s) detected. A drive cycle consists of starting the vehicle, driving the vehicle over 16 km/h (10 mph), stopping and then turning the ignition off.

Diagnostic Aids

The following conditions may cause an intermittent malfunction:

    • A poor connection
    • Rubbed-through wire insulation
    • A broken wire inside the insulation

Use the enhanced diagnostic function of the Scan Tool in order to measure the frequency of the malfunction.

Thoroughly inspect any circuitry that may cause the intermittent complaint for the following conditions:

    • Backed out terminals
    • Improper mating
    • Broken locks
    • Improperly formed or damaged terminals
    • Poor terminal-to-wiring connections
    • Physical damage to the wiring harness

Test Description

  1. This test checks for a short to ground in the right front solenoid valve circuit.

  2. This test checks for an open or high resistance CKT 1633.

  3. This test checks for an open in the battery feed circuit of the solenoid.

  4. This test checks for an open in the right front solenoid valve.

  5. This test checks for an open in the control circuit of the solenoid.

  6. This test determines if the malfunction is caused by the EBCM.

  7. This test checks for a short to ground in the right front solenoid valve.

Step

Action

Value(s)

Yes

No

Important: Zero the J 39200 test leads before making any resistance measurements. Refer to the J 39200 user's manual.

1

Was the ABS Diagnostic System Check performed?

--

Go to Step 2

Go to Diagnostic System Check - ABS

2

Remove and inspect the ABS Mini Fuse (20 A).

Is the fuse open?

--

Go to Step 11

Go to Step 3

3

  1. Turn the ignition switch to the OFF position.
  2. Disconnect the 24-way EBCM connector C2.
  3. With the ABS Mini Fuse (20A) removed.
  4. Use the J 39200 in order to measure the resistance between the 24-way EBCM harness connector C2 terminal B6 and ground.

Is the resistance within the specified range?

OL

(Infinite)

Go to Step 4

Go to Step 10

4

Use the J 39200 with the J 35616 in order to measure the resistance between the Electronic Brake Control Relay harness connector terminal 87 and the ABS Mini Fuse (20 A) terminal.

Is the resistance within the specified range?

0-2 ohms

Go to Step 5

Go to Step 14

5

  1. Disconnect the right front brake solenoid valve connector.
  2. Use the J 39200 with the J 35616 in order to measure the resistance between the ABS Mini Fuse (20 A) terminal and the right front brake solenoid valve harness connector terminal B.

Is the resistance within the specified range?

0-2 ohms

Go to Step 6

Go to Step 15

6

Use the J 39200 in order to measure the resistance between the right front ABS brake solenoid valve terminal A and the right front brake solenoid valve terminal B.

Is the resistance within the specified range?

2.5-5.0 ohms

Go to Step 7

Go to Step 16

7

Use the J 39200 in order to measure the resistance between the 24-way EBCM harness connector C2 terminal B6 and the right front brake solenoid valve harness connector terminal A.

Is the resistance within the specified range?

0-2 ohms

Go to Step 8

Go to Step 17

8

  1. Inspect the EBCM connector and the EBCM harness connector for the following conditions:
  2. • Terminal damage
    • Poor terminal contact
    • Terminal corrosion
  3. Inspect the right front brake solenoid valve connector and the right front brake solenoid valve harness connector for the following conditions:
  4. • Terminal damage
    • Poor terminal contact
    • Terminal corrosion

Are terminal corrosion, damaged terminals, or poor terminal contact evident?

--

Go to Step 19

Go to Step 9

9

  1. Reconnect the 24-way EBCM connector C2.
  2. Reconnect the right front brake solenoid valve connector.
  3. Turn the ignition switch to the ON position.
  4. Do not start the engine.

  5. Use the Scan Tool in order to inspect for DTCs.

Does DTC C1278 set as a current DTC?

--

Go to Step 20

Go to Step 21

10

  1. Disconnect the right front brake solenoid valve connector.
  2. Use the J 39200 in order to measure the resistance between the right front brake solenoid valve terminal A and ground.

Is the resistance within the specified range?

OL

(Infinite)

Go to Step 16

Go to Step 18

11

Inspect CKT 855 for damage that may cause a short to ground.

Is there damage that may cause a short to ground?

--

Go to Step 12

Go to Step 13

12

Repair damage to CKT 855 and replace the ABS Mini Fuse (20A).

Is the repair complete?

--

Go to Diagnostic System Check - ABS

--

13

Replace the ABS Mini Fuse (20 A).

Is the repair complete?

--

Go to Diagnostic System Check - ABS

--

14

Repair the open or high resistance in CKT 1633. Refer to Wiring Repairs in Wiring Systems.

Is the repair complete?

--

Go to Diagnostic System Check - ABS

--

15

Repair the open or high resistance in CKT 855. Refer to Wiring Repairs in Wiring Systems.

Is the repair complete?

--

Go to Diagnostic System Check - ABS

--

16

Replace the right front brake solenoid valve. Refer to Brake Solenoid Valve Replacement .

Is the repair complete?

--

Go to Diagnostic System Check - ABS

--

17

Repair the open or high resistance in CKT 1289. Refer to Wiring Repairs in Wiring Systems.

Is the repair complete?

--

Go to Diagnostic System Check - ABS

--

18

Repair the short to ground in CKT 1289. Refer to Wiring Repairs in Wiring Systems.

Is the repair complete?

--

Go to Diagnostic System Check - ABS

--

19

Replace all the terminals and connectors that exhibit the following conditions:

    • Poor terminal contact
    • Terminal corrosion
    • Damaged terminals

Refer to Wiring Repairs in Wiring Systems.

Is the repair complete?

--

Go to Diagnostic System Check - ABS

--

20

Replace the EBCM. Refer to Electronic Brake Control Module Replacement .

Is the repair complete?

--

Go to Diagnostic System Check - ABS

--

21

Malfunction is intermittent or is not present at this time. Refer to Diagnostic Aids for more information.

Is the action complete?

--

System OK

--