GM Service Manual Online
For 1990-2009 cars only

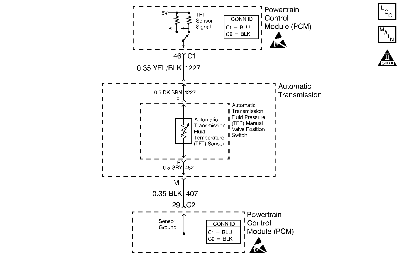
Object Number: 350392  Size: MF
Automatic Transmission Components
Automatic Transmission Controls Schematics
OBD II Symbol Description Notice
Handling ESD Sensitive Parts Notice
Handling ESD Sensitive Parts Notice

Circuit Description

The automatic transmission fluid temperature (TFT) sensor is a thermistor. The TFT sensor is part of the automatic transmission fluid pressure (TFP) manual valve position switch. The PCM supplies a 5-volt reference signal to the sensor on circuit 1227. When the transmission fluid is cold, the sensor resistance is high and the PCM senses a high signal voltage. As the transmission fluid warms, the sensor resistance lowers and the PCM senses lower voltage. The PCM uses the TFT reading in order to control the torque converter clutch (TCC), line pressure adjustments, and temperature compensated shifts.

When the PCM detects a continuous open or short to power in the TFT circuit or the TFT sensor, then DTC P0713 sets. DTC P0713 is a type D DTC.

Conditions for Running the DTC

    • The ignition switch is in the RUN position.
    • The system voltage is 8-18 volts.

Conditions for Setting the DTC

The TFT voltage is greater than 4.92 volts for 6 minutes and 40 seconds.

Action Taken When the DTC Sets

    • The PCM does not illuminate the malfunction indicator lamp (MIL).
    • The PCM freezes shift adapts from being updated.
    • The PCM calculates a default transmission fluid temperature based on engine coolant temperature, intake manifold air temperature, and engine run time.
    • The PCM stores DTC P0713 in PCM history.

Conditions for Clearing the DTC

    • A scan tool clears the DTC from PCM history.
    • The PCM clears the DTC from PCM history if the vehicle completes 40 consecutive warm-up cycles without a non-emission-related diagnostic fault occurring.
    • The PCM cancels the DTC default actions when the fault no longer exists and the ignition switch is OFF long enough in order to power down the PCM.

Diagnostic Aids

    • Inspect the wiring at the PCM, the transmission 20-way connector and the TFP manual valve position switch 6-way connector for the following conditions:
       - A backed out terminal
       - A damaged terminal
       - Reduced terminal tension
       - A chafed wire
       - A broken wire inside the insulation
       - Moisture intrusion
       - Corrosion
    • When diagnosing for an intermittent short or open condition, massage the wiring harness while watching the test equipment for a change.
    • DTC P0713 could set if the vehicle, or transmission, is exposed to temperatures below -38°C (-38°F).

Test Description

The numbers below refer to the step numbers on the diagnostic table.

  1. This step tests the wiring from the transmission 20-way connector to the PCM for an open or short.

  2. This step verifies circuit 1227 from the PCM to the transmission connector.

DTC P0713 Transmission Fluid Temperature Sensor Circuit -- High Input

Step

Action

Value(s)

Yes

No

1

Was the Powertrain On-Board Diagnostic (OBD) System Check performed?

--

Go to Step 2

Go to Powertrain On Board Diagnostic (OBD) System Check

2

  1. Install the Scan Tool .
  2. Turn the ignition switch to the RUN position.
  3. Important: Before clearing the DTCs, use the scan tool in order to record the Failure Records. Using the Clear Info function erases the Failure Records from the PCM.

  4. Record the Failure Records.
  5. Clear the DTCs.
  6. Select scan tool TFT sensor.

Does the scan tool display a TFT sensor voltage greater than specified?

4.92 V

Go to Step 3

Go to Diagnostic Aids

3

  1. Turn the ignition switch OFF.
  2. Disconnect the transmission 20-way connector (additional DTCs will set).
  3. Install the J 39775 jumper harness to the engine side of the 20-way connector.
  4. Using the J 35616-A connector test adapter kit, connect a fused jumper wire from terminal L to terminal M.
  5. Turn the ignition switch to the RUN position.

Does the scan tool display a TFT sensor voltage less than specified?

0.33 V

Go to Step 8

Go to Step 4

4

Using the J 35616-A , connect a fused jumper wire from terminal L to a good ground.

Does the scan tool display a TFT sensor voltage less than specified?

0.33 V

Go to Step 7

Go to Step 5

5

Inspect circuit 1227 of the engine wiring harness for an open.

Refer to General Electrical Diagnosis in Wiring Systems.

Was the condition found?

--

Go to Step 9

Go to Step 6

6

Replace the PCM.

Refer to PCM Replacement/Programming in Engine Controls.

Is the replacement complete?

--

Go to Step 12

--

7

Inspect circuit 407 of the engine wiring harness for an open.

Refer to General Electrical Diagnosis in Wiring Systems.

Was the condition found?

--

Go to Step 9

--

8

  1. Inspect circuit 1227 of the transmission wiring harness for an open.
  2. Inspect circuit 452 of the transmission wiring harness for an open.

Refer to General Electrical Diagnosis in Wiring Systems.

Was a condition found?

--

Go to Step 10

Go to Step 11

9

Repair the wiring as necessary.

Refer to Wiring Repairs in Wiring Systems.

Is the repair complete?

--

Go to Step 12

--

10

Replace the automatic transmission wiring harness.

Refer to Wire Harness Disconnect and Wiring Harness Removal in the 4T40-E/4T45-E Section of the Transmission Unit Repair Manual.

Is the replacement complete?

--

Go to Step 12

--

11

Replace the TFP manual valve position switch.

Refer to Pressure Switch Assembly Replacement.

Is the replacement complete?

--

Go to Step 12

--

12

Perform the following procedure in order to verify the repair:

  1. Select DTC.
  2. Select Clear Info.
  3. Operate the vehicle under the following conditions:
  4. • Turn the ignition switch to the RUN position.
    • The TFT signal voltage must be less than 4.92 volts for 60 seconds.
  5. Select Specific DTC. Enter DTC P0713.

Has the test run and passed?

--

System OK

Go to Step 1