GM Service Manual Online
For 1990-2009 cars only

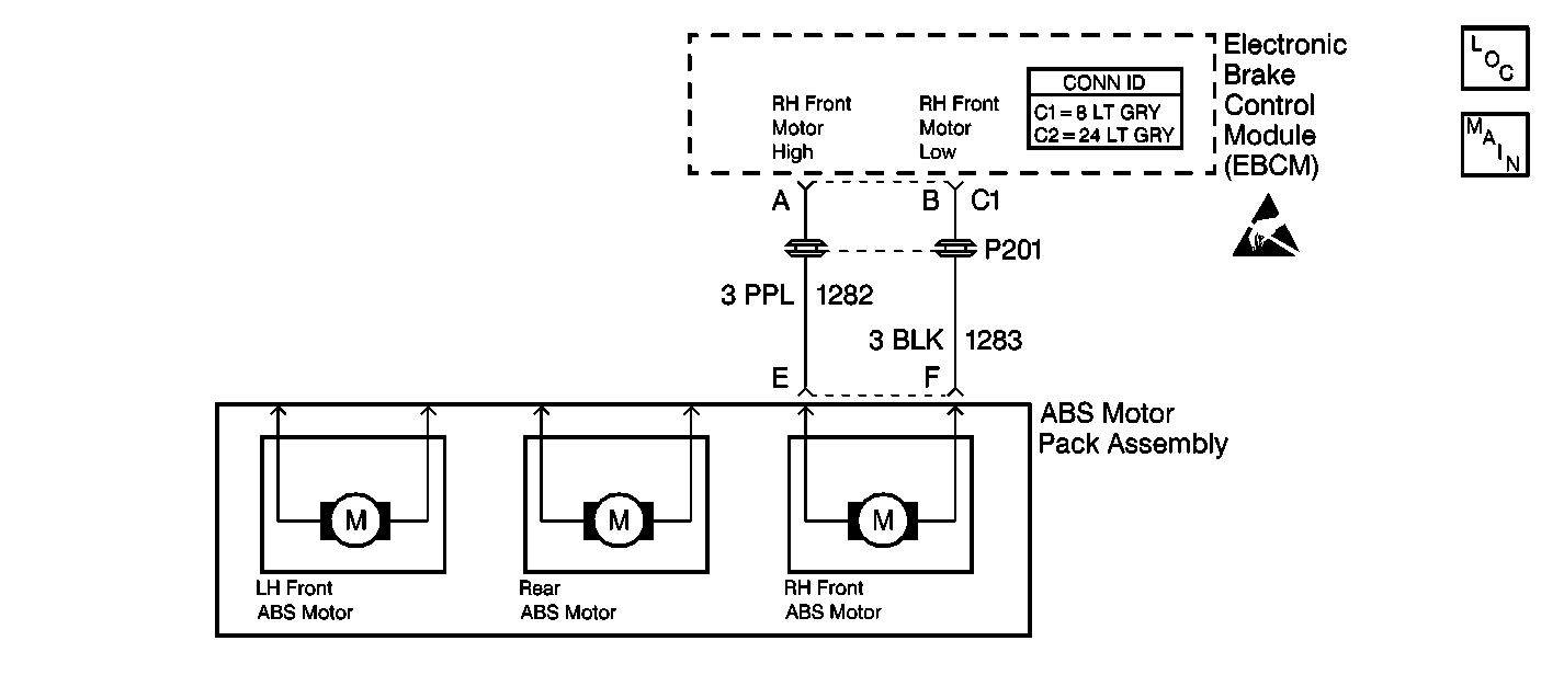
Object Number: 375625  Size: SF
ABS Components
Antilock Brake System Schematics
Handling ESD Sensitive Parts Notice

Circuit Description

DTC C1241 detects a slipping right front ESB. During initialization and braking, the right front brake motor is rehomed. If the ESB slips, the motor/piston will move. During the next key to RUN initialization, a rehome of the motor verifies the motor/piston remained at the home position. If motor movement is detected, the ESB must be slipping.

If an ESB cannot hold a piston in the home position, the piston may be driven back when the brake pedal is applied. Then the brake pedal will drop.

Conditions for Setting the DTC

DTC C1241 can set during initialization at the following speeds:

    • 0 km/h (0 mph) when the brake is off
    • 5 km/h (3 mph) when the brake is on

A malfunction exists if the EBCM detects that the ESB could not hold the piston in the home position.

Action Taken When the DTC Sets

    • A malfunction DTC stores.
    • The ABS disables.
    • The ABS warning indicator turns on.

Conditions for Clearing the DTC

    • The condition responsible for setting the DTC no longer exists and the Scan Tool Clear DTCs function is used.
    • 100 drive cycles pass with no DTCs detected. A drive cycle consists of starting the vehicle, driving the vehicle over 16 km/h (10 mph), stopping and then turning the ignition off.

Diagnostic Aids

The following conditions may cause an intermittent malfunction if the conditions exist in a mechanical part of the system:

    • Sticking
    • Binding
    • Slipping

Use the enhanced diagnostic function of the Scan Tool in order to measure the frequency of the malfunction.

Use the hydraulic control modulator test function of the Scan Tool in order to locate an intermittent malfunction associated with the ESB.

Clear the DTCs after completing the diagnosis. Test drive the vehicle for three drive cycles in order to verify that the DTC does not reset. Use the following procedure in order to complete one drive cycle:

  1. Start the vehicle.
  2. Drive the vehicle over 16 km/h (10 mph).
  3. Stop the vehicle.
  4. Turn the ignition to the OFF position.

Test Description

  1. This test ensures that the motor circuits are in the proper connector cavities.

  2. This test checks the operation of the right front ESB.

  3. This test checks for high resistance in the right front motor high circuit.

  4. This test checks for high resistance in the right front motor low circuit.

  5. This test checks for excessive resistance in the right front motor.

  6. This test determines if the malfunction is caused by the EBCM.

Step

Action

Value(s)

Yes

No

Important: Zero the J 39200 test leads before making any resistance measurements. Refer to the J 39200 user's manual.

1

Was the ABS Diagnostic System Check performed?

--

Go to Step 2

Go to Diagnostic System Check - ABS

2

Inspect the following connectors for the correct wire color/connector cavity combinations:

    • The ABS brake motor pack connector
    • The 8-way EBCM connector C1

Are the correct wires located in the correct connector cavities?

--

Go to Step 3

Go to Step 10

3

  1. Turn the ignition switch to the RUN position.
  2. Do not start the engine.

  3. Pump the brake pedal until it is firm in order to deplete the brake booster vacuum reservoir.
  4. Install a Scan Tool .
  5. Select the Special Functions on the Scan Tool .
  6. Select the Manual Control function on the Scan Tool .
  7. Select the ABS Motor Apply function of the right front ABS channel on the Scan Tool .
  8. Use the Scan Tool in order to apply the right front ABS motor.
  9. Wait for five seconds.
  10. Apply firm pressure to the brake pedal.

Does the brake pedal fall?

--

Go to Step 9

Go to Step 4

4

  1. Use the Scan Tool in order to exit the Manual Control function.
  2. Turn the ignition switch to the OFF position.
  3. Disconnect the following connectors:
  4. • The ABS brake motor pack connector
    • The 8-way EBCM connector C1
  5. Use the J 39200 in order to measure the resistance between the ABS brake motor pack harness connector terminal E and the 8-way EBCM harness connector C1 terminal A.

Is the resistance within the specified range?

0-2 ohms

Go to Step 5

Go to Step 11

5

Use the J 39200 in order to measure the resistance between the ABS brake motor pack harness connector terminal F and the 8-way EBCM harness connector C1 terminal B.

Is the resistance within the specified range?

0-2 ohms

Go to Step 6

Go to Step 12

6

Use the J 39200 in order to measure the resistance between the ABS brake motor pack connector terminal E and the ABS brake motor pack connector terminal F.

Is the resistance within the specified range?

0.2-1.5 ohms

Go to Step 7

Go to Step 9

7

  1. Inspect the following connectors:
  2. • The ABS brake motor pack connector
    • The 8-way EBCM connector C1
  3. Inspect the above connectors for the following conditions:
  4. • Poor terminal contact
    • Corrosion

Are there signs of poor terminal contact or corrosion?

--

Go to Step 13

Go to Step 8

8

  1. Turn the ignition switch to the OFF position.
  2. Reconnect the 8-way EBCM connector C1
  3. Reconnect the ABS brake motor pack connector
  4. Start the engine. Do not depress the brake pedal while starting the engine.
  5. Allow the engine to run for at least 10 seconds.
  6. Repeat the above ignition cycle sequence at least two more times.
  7. Use the Scan Tool in order to look for DTCs.

Does the DTC C1241 set during the last three ignition cycles?

--

Go to Step 14

Go to Step 15

9

Replace the ABS brake motor pack. Refer to ABS Motor Pack Replacement .

is the repair complete?

--

Go to Diagnostic System Check - ABS

--

10

Place the correct wires into the connector cavities. Refer to Antilock Brake System Connector End Views .

Is the repair complete?

--

Go to Diagnostic System Check - ABS

--

11

Repair the open or high resistance in CKT 1282. Refer to Wiring Repairs in Wiring Systems.

Is the repair complete?

--

Go to Diagnostic System Check - ABS

--

12

Repair the open or high resistance in CKT 1283. Refer to Wiring Repairs in Wiring Systems.

Is the repair complete?

--

Go to Diagnostic System Check - ABS

--

13

Replace the terminals that exhibit signs of poor terminal contact or corrosion.

Is the repair complete?

--

Go to Diagnostic System Check - ABS

--

14

Replace the EBCM. Refer to Electronic Brake Control Module Replacement .

Is the repair complete?

--

Go to Diagnostic System Check - ABS

--

15

The malfunction is intermittent or is not present at this time.

Refer to Diagnostic Aids for more information.

Is the action complete?

--

System OK

--