GM Service Manual Online
For 1990-2009 cars only

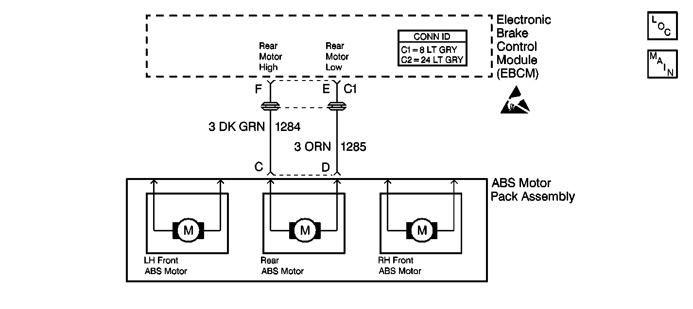
Object Number: 375644  Size: SF
ABS Components
Antilock Brake System Schematics
Handling ESD Sensitive Parts Notice

Circuit Description

DTC C1246 detects a bound-up ESB, a stuck ABS motor, or a seized brake modulator. When the release is commanded during initialization, the ESB should release the ABS motor, resulting in the feedback current being less than the commanded current (motor spins freely). If the ABS motor is not moving, feedback current will be equal to commanded current.

Conditions for Setting the DTC

DTC C1246 can set during brake motor initialization at the following speeds:

    • 0 km/h (0 mph) when the brake is off
    • 5 km/h (3 mph) when the brake is on

DTC C1246 can set during ABS stops

A malfunction exists if the EBCM detects a condition in which the EBCM cannot move the ABS motor in either direction.

Action Taken When the DTC Sets

    • A malfunction DTC stores.
    • The ABS disables.
    • The ABS warning indicator turns on.

Conditions for Clearing the DTC

    • The condition responsible for setting the DTC no longer exists and the Scan Tool Clear DTCs function is used.
    • 100 drive cycles pass with no DTCs detected. A drive cycle consists of starting the vehicle, driving the vehicle over 16 km/h (10 mph), stopping and then turning the ignition off.

Diagnostic Aids

The following conditions may cause an intermittent malfunction if the conditions exist in a mechanical part of the system:

    • Sticking
    • Binding

Use the enhanced diagnostic function of the Scan Tool in order to measure the frequency of the malfunction. DTC C1246 may set after modulator disassembly if the modulator pistons are positioned at the bottom of the modulator piston bore. Depending on the frequency of the malfunction, a physical inspection of the mechanical parts suspected of causing the malfunction may be necessary.

Thoroughly inspect any circuitry that may be causing the intermittent complaint for the following conditions:

    • Backed out terminals
    • Improper mating
    • Broken locks
    • Improperly formed or damaged terminals
    • Poor terminal-to-wiring connections
    • Physical damage to the wiring harness

Clear the DTCs after completing the diagnosis. Test drive the vehicle for three drive cycles in order to verify that the DTC does not reset. Use the following procedure in order to complete one drive cycle:

  1. Start the vehicle.
  2. Drive the vehicle over 16 km/h (10 mph).
  3. Stop the vehicle.
  4. Turn the ignition to the OFF position.

Test Description

  1. This test ensures that the motor circuits are in the proper connector cavity.

  2. This test checks the ability of the motor to move by releasing hydraulic pressure to the wheel cylinders.

  3. This test checks the ability of the motor to move by applying hydraulic pressure to the wheel cylinders.

  4. This test checks for motor movement by comparing the feedback current to the command current during apply.

  5. This test checks for a short between the motor high and the motor low circuits.

  6. This test checks for a shorted motor.

  7. This test determines if the malfunction is caused by the EBCM.

  8. This test determines if the hydraulic modulator is functioning properly by manually moving the piston.

Step

Action

Value(s)

Yes

No

Important: Zero the J 39200 test leads before making any resistance measurements. Refer to the J 39200 user's manual.

1

Was the ABS Diagnostic System Check performed?

--

Go to Step 2

Go to Diagnostic System Check - ABS

2

Inspect the following connectors for the correct wire color/connector cavity combinations:

    • The ABS brake motor pack connector
    • The 8-way EBCM connector C1

Are the correct wires located in the correct connector cavities?

--

Go to Step 3

Go to Step 11

3

  1. Raise and suitably support the vehicle.
  2. Verify that the rear wheels are approximately 15 cm (six in) above the floor.

    Refer to Vehicle Lifting and Jacking in General Information.

  3. Turn the ignition switch to the RUN position.
  4. Do not start the engine.

  5. Pump the brake pedal until it is firm in order to deplete the brake booster vacuum reservoir.
  6. Install a Scan Tool .
  7. Apply firm downward pressure on the brake pedal.
  8. Select Special Functions on the Scan Tool .
  9. Select the Manual Control function on the Scan Tool .
  10. Select the Rear Axle Motor Apply function of the rear ABS channel on the Scan Tool .
  11. Use the Scan Tool in order to apply the rear axle motor.
  12. Have an assistant attempt to rotate the rear wheels by hand.

Is it possible to rotate the rear wheels by hand?

--

Go to Step 5

Go to Step 4

4

  1. Continue to apply firm downward pressure on the brake pedal.
  2. Select the Rear Axle Motor Release function on the Scan Tool .
  3. Use the Scan Tool in order to release the rear axle motor.

Is it possible to rotate the rear wheels by hand?

--

Go to Step 17

Go to Step 5

5

  1. Remove the firm pressure from the brake pedal.
  2. Select the Rear Axle Motor Apply function on the Scan Tool .
  3. Use the Scan Tool in order to apply the rear axle motor.
  4. Carefully observe the following currents:
  5. • The rear axle motor commanded current
    • The rear axle motor feedback current.

Did the rear motor feedback current momentarily drop below the specified current?

8 A

Go to Step 6

Go to Step 10

6

  1. Exit the Manual Control function on the Scan Tool .
  2. Turn the ignition switch to the OFF position.
  3. Disconnect the ABS brake motor pack connector.
  4. Disconnect the 8-way EBCM connector C1
  5. Use the J 39200 in order to measure the resistance between the 8-way EBCM harness connector C1 terminal F and the 8-way EBCM harness connector C1 terminal E.

Is the resistance within the specified range?

OL (Infinite)

Go to Step 7

Go to Step 12

7

Use the J 39200 in order to measure the resistance between the ABS brake motor pack connector terminal C and the ABS brake motor pack connector terminal D.

Is the resistance within the specified range?

0.2-1.5 ohms

Go to Step 8

Go to Step 13

8

  1. Inspect the following connectors:
  2. • The ABS motor pack connector
    • The 8-way EBCM connector C1
  3. Inspect the connectors for the following conditions:
  4. • Poor terminal contact
    • Corrosion

Do any of the terminals exhibit poor terminal contact or corrosion?

--

Go to Step 15

Go to Step 9

9

  1. Turn the ignition switch to the OFF position.
  2. Reconnect the 8-way EBCM connector C1.
  3. Reconnect the ABS motor pack connector.
  4. Start the engine. Do not depress the brake pedal.
  5. Allow the engine to run for at least ten seconds.
  6. Repeat the above ignition cycle sequence two more times.
  7. Use the Scan Tool in order to inspect for DTCs.

Does DTC C1246 set during the last three ignition cycles?

--

Go to Step 16

Go to Step 17

10

  1. Select Special Functions on the Scan Tool .
  2. Use the Scan Tool in order to perform the Gear Tension Relief function.
  3. Turn the ignition switch to the OFF position.
  4. Remove the hydraulic modulator/master cylinder assembly from the vehicle. Refer to Brake Modulator/Master Cylinder Assembly Replacement .
  5. Separate the ABS brake motor pack from the hydraulic modulator.
  6. Grasp the middle gear on the hydraulic modulator and attempt to rotate the gear.

Is it possible to rotate the middle gear on the hydraulic modulator at least 4 1/2 revolutions from lock to lock?

--

Go to Step 13

Go to Step 14

11

Place the wires into the correct connector cavities. Refer to Antilock Brake System Connector End Views .

Is the repair complete?

--

Go to Diagnostic System Check - ABS

--

12

Repair the short between CKT 1284 and CKT 1285. Refer to Wiring Repairs in Wiring Systems.

Is the repair complete?

--

Go to Diagnostic System Check - ABS

--

13

Replace the ABS motor pack. Refer to ABS Motor Pack Replacement .

Is the repair complete?

--

Go to Diagnostic System Check - ABS

--

14

Replace the hydraulic modulator. Refer to Brake Modulator Replacement .

Is the repair complete?

--

Go to Diagnostic System Check - ABS

--

15

Replace the terminals that exhibit signs of poor terminal contact or corrosion.

Is the repair complete?

--

Go to Diagnostic System Check - ABS

--

16

Replace the EBCM. Refer to Electronic Brake Control Module Replacement .

Is the repair complete?

--

Go to Diagnostic System Check - ABS

--

17

The malfunction is intermittent or is not present at this time.

Refer to Diagnostic Aids for more information.

Is the action complete?

--

System OK

--