GM Service Manual Online
For 1990-2009 cars only
Makes
🢒
Pontiac
🢒
2000
🢒
Sunfire
🢒
Engine
🢒
Engine Controls - 2.2L
🢒 Air Conditioning (A/C) Compressor and Cooling Fan Relays Replacement
Removal Procedure
•
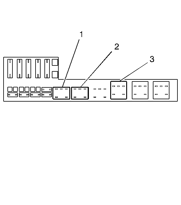
The A/C relay (1)
•
The fuel pump relay (2)
•
The cooling fan relay (3)
Remove the underhood fuse block cover (1).
Remove the appropriate relay.
•
The A/C relay (1)
•
The fuel pump relay (2)
•
The cooling fan relay (3)
Installation Procedure
Install the following relays.
•
The A/C relay (1)
•
The fuel pump relay (2)
•
The cooling fan relay (3)
Install the underhood fuse block cover (1).