GM Service Manual Online
For 1990-2009 cars only

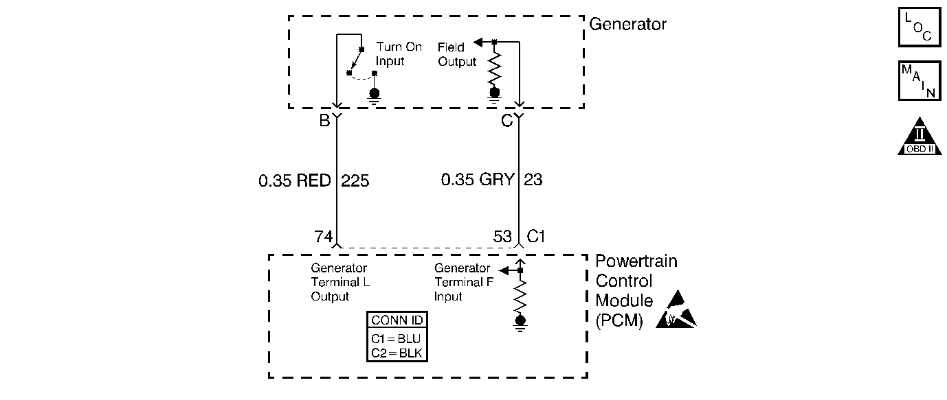
Object Number: 563968  Size: SF
Engine Controls Components
IAC Valve, Generator, TR and Coolant Switches
OBD II Symbol Description Notice
Powertrain Control Module Connector End Views
Handling ESD Sensitive Parts Notice

Diagnosis

Use the following diagnostic table to diagnose the generator F and L circuit.

Use the following scan tool parameters when diagnosing the Powertrain Control Module (PCM) controlled generator.

Generator PWM - Range 0-100 Percent: The generator F terminal is a pulse width modulated (PWM) duty cycle or load input to the PCM from the generator. As the generator load increases, the PCM can sense the change and adjust the idle speed accordingly.

Generator L Terminal - Range Inactive/Active: The generator L terminal indicates whether the PCM is allowing the generator to operate. The PCM can disable the generator under certain conditions in order to ease starting. Active indicates that the PCM is allowing generator operation, while inactive indicates that the PCM is not allowing generator operation.

Circuit Description

The generator communicates to the Powertrain Control Module (PCM) over two lines, the L or Lamp circuit and the F or Field circuit. The PCM uses the L circuit to monitor faults in the charging system. The F circuit is used by the PCM to monitor the duty cycle or load of the generator. The PCM will adjust the idle speed according to the generator load.

Diagnostic Aids

    • If the generator terminal F input circuit is shorted to voltage, the volts telltale lamp will operate normally. However, the scan tool Generator PWM will display a generator duty cycle near 10%. Check the generator terminal F input circuit for a short to voltage. If OK, the generator may be faulty, refer to the Charging System Test in Engine Electrical.
    • An Intermittent problem may be caused by a poor connection, rubbed through wire insulation, or a wire that is broken inside the insulation.
    • Any circuitry, that is suspected as causing the intermittent complaint, should be thoroughly checked for the following items:
       - Improper mating
       - Broken locks
       - Poor terminal to wiring connections
       - Physical damage to the wiring harness

Test Description

The numbers below refer to the step numbers on the diagnostic table.

  1. The Powertrain On Board Diagnostic (OBD) System Check prompts the technician to complete some basic checks and store the freeze frame and failure records data on the scan tool if applicable. This creates an electronic copy of the data taken when the malfunction occurred. The information is then stored on the scan tool for later reference.

PCM Controlled Generator

Step

Action

Value(s)

Yes

No

1

Did you perform the Powertrain On Board Diagnostic (OBD) System Check?

--

Go to Step 2

Go to Powertrain On Board Diagnostic (OBD) System Check

2

  1. Connect a test lamp to ground.
  2. Probe the generator B+ feed circuit.

Does the test lamp illuminate?

--

Go to Step 3

Go to Step 5

3

  1. Turn OFF the ignition.
  2. Disconnect the F and L connector.
  3. Connect a DMM between the (L) circuit and a good ground.
  4. Start the engine.
  5. Command the generator ON with the scan tool while monitoring the DMM.

Does the voltage change from the first indicated value to the second indicated value?

0V

5V

Go to Step 4

Go to Step 6

4

  1. Turn ON the ignition with the engine OFF.
  2. With a test lamp connected to B+ repeatedly touch the (F) circuit while monitoring the PWM parameter on the scan tool.

Does the PWM parameter change?

--

Go to Step 10

Go to Step 7

5

Repair the generator B+ feed circuit for an open or short to ground. Refer to Wiring Repairs in Wiring Systems.

Did you complete the repair?

--

Go to Step 11

--

6

Test the L circuit for an open, short to ground or a short to voltage. Refer to Circuit Testing and Wiring Repairs in Wiring Systems.

Did you find and correct the condition?

--

Go to Step 11

Go to Step 8

7

Test the F circuit for an open, short to ground or a short to voltage. Refer to Circuit Testing and Wiring Repairs in Wiring Repairs.

Did you find and correct the condition?

--

Go to Step 11

Go to Step 8

8

Test for a poor connection at the PCM. Refer to Testing for Intermittent Conditions and Poor Connections and Connector Repairs in Wiring Systems.

Did you find and correct the condition?

--

Go to Step 11

Go to Step 9

9

Important: The replacement PCM must be programmed. Refer to Powertrain Control Module Replacement/Programming .

Replace the PCM. Refer to Powertrain Control Module Replacement .

Did you complete the replacement?

--

Go to Step 11

--

10

Replace the generator. Refer to Generator Replacement in Engine Electrical.

Did you complete the replacement?

--

Go to Step 11

--

11

  1. Use a scan tool to clear the DTCs.
  2. Operate the vehicle within the conditions under which the original symptom was noted.

Does the symptom still exist?

 

Go to Step 2

System OK