GM Service Manual Online
For 1990-2009 cars only
Makes
🢒
Pontiac
🢒
2000
🢒
Sunfire
🢒
Engine
🢒
Engine Controls - 2.4L
🢒 Emission Hose Routing Diagram
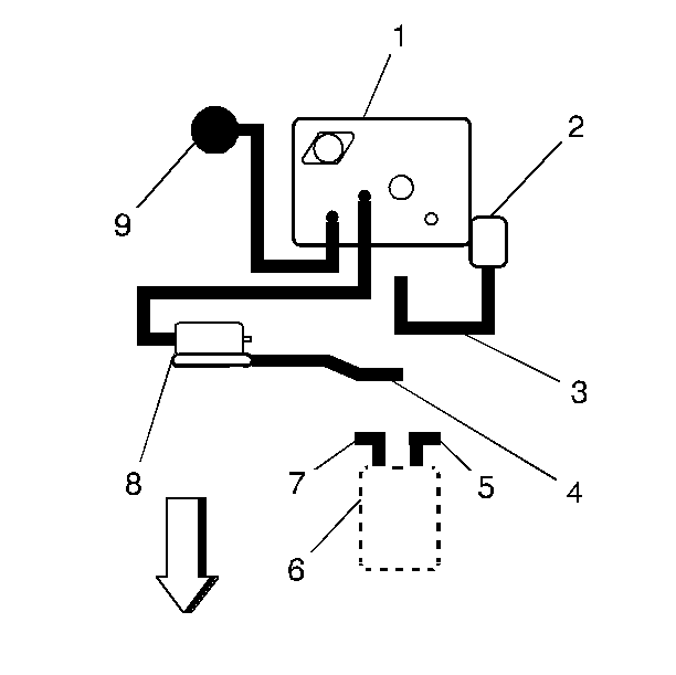
Figure
1:
LD9
(1)
Throttle Body
(2)
MAP Sensor
(3)
To Intake Manifold
(4)
To EVAP Canister (at the rear of vehicle)
(5)
To Intake Pre-Plenum
(6)
Oil Separator Mounted (on engine block)
(7)
To Engine Timing Chain Housing
(8)
EVAP Canister Purge Solenoid Valve
(9)
Fuel Pressure Regulator
Figure
2:
EVAP System Overview
(1)
EVAP Canister Purge Solenoid
(2)
EVAP Canister
(3)
Fuel Fill Neck/Fill Cap
(4)
Rollover Valve/Fuel Tank Pressure (FTP) Sensor
(5)
Fuel Tank
(6)
EVAP Canister Vent Solenoid
(7)
Vent Hose/Pipe
(8)
EVAP Vapor Pipe
(9)
EVAP Purge Pipe
(10)
EVAP Service Port