GM Service Manual Online
For 1990-2009 cars only

Base Brake System

The brake system uses conventional braking under normal operating conditions. The following components are necessary for operation of conventional braking:

    • The brake pedal force
    • The vacuum booster
    • The master cylinder

Normal Braking Mode

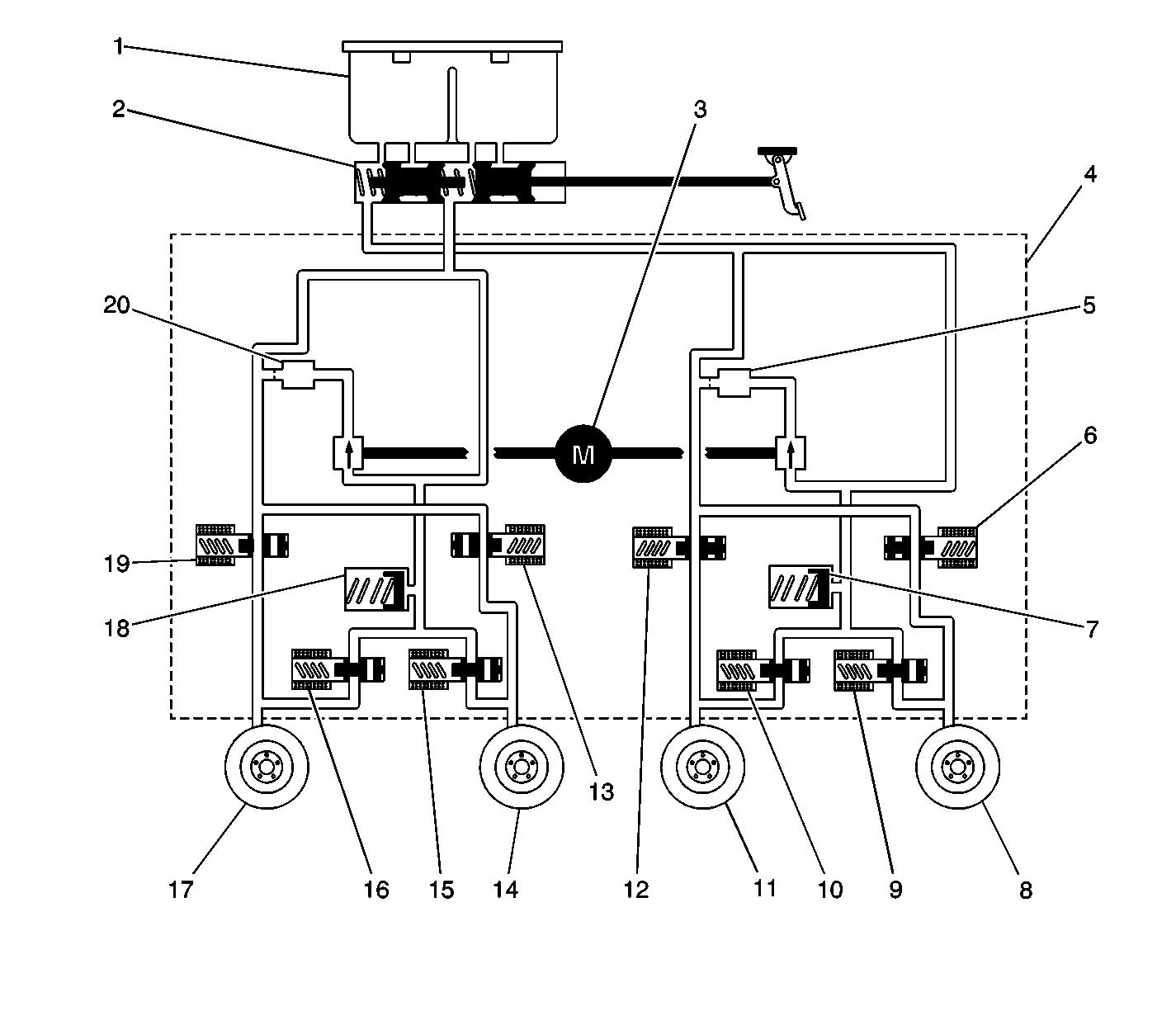
BPMV Hydraulic Flow


Object Number: 468767  Size: LF
(1)Master Cylinder Reservoir
(2)Master Cylinder
(3)Pump
(4)Brake Pressure Modulator Valve (BPMV)
(5)Damper
(6)Right Rear Inlet Valve
(7)Accumulator
(8)Right Rear Brake
(9)Right Rear Outlet Valve
(10)Left Front Outlet Valve
(11)Left Front Brake
(12)Left Front Inlet Valve
(13)Left Rear Inlet Valve
(14)Left Rear Brake
(15)Left Rear Outlet Valve
(16)Right Front Outlet Valve
(17)Right Front Brake
(18)Accumulator
(19)Right Front Inlet Valve
(20)Damper

Antilock Braking Mode

When wheel slip is noted during a brake application, the ABS will enter the antilock mode. During antilock braking, the hydraulic pressure in the individual wheel circuits is controlled in order to prevent any wheel from slipping. A separate hydraulic line and specific solenoid valves are provided for each wheel.

The ABS can decrease, hold, or increase the hydraulic pressure to each wheel brake. However, the ABS cannot increase the hydraulic pressure above the amount that the master cylinder transmits during braking.

During antilock braking, a series of rapid pulsations will be felt in the brake pedal. The rapid changes in the position of the individual solenoid valves as they respond to the desired wheel speed cause the pulsations. This pedal pulsation is present during antilock braking and will stop when normal braking is resumed or when the vehicle comes to a stop. A ticking or popping nose may also be heard as the solenoid valves rapidly cycle.

During antilock braking on dry pavement, the tires may make intermittent chirping noises as they approach slipping. These noises and pedal pulsations are normal during antilock operation. Maintaining a constant force on the pedal provides the shortest stopping distance while maintaining vehicle stability.

Pressure Hold

When the EBCM senses wheel slip, the EBCM closes the inlet valve and keeps the outlet valve closed in the BPMV in order to isolate the system. This holds the pressure steady on the brake so that the hydraulic pressure does not increase or decrease.

Pressure Decrease

If during the pressure hold mode the EBCM still senses wheel slip, the EBCM will decrease the pressure to the brake. The inlet valve is left closed and the outlet valve is opened. The excess fluid is stored in the accumulator until the return pump can return the fluid to the master cylinder.

Pressure Increase

If during the pressure hold or the pressure decrease mode the EBCM senses that the wheel speed is too fast, the EBCM will increase the pressure to the brake. The inlet is opened and the outlet valve is closed. The increased pressure comes from the master cylinder and is related to the pressure applied to the brake pedal.

Enhanced Traction System (ETS)

The ETS is designed to limit wheel slip during acceleration when one or more of the drive wheels are accelerating too rapidly and the brake switch is off. The EBCM monitors wheel speed slip through the ABS wheel speed sensors, then processes wheel speed sensor data and sends a desired wheel torque value to the Powertrain Control Module (PCM) via a Class 2 Serial Data Line signal. The PCM then calculates and employs control of the wheel slip/wheel torque by utilizing up to three different methods as follows:

    • By retarding ignition timing.
    • By shutting off up to two injectors.
    • By up-shifting the transmission thereby reducing engine torque providing stability and traction.

If the EBCM determines that the engine torque reduction is not sufficient to minimize wheel spin, it will repeat the above sequence.

The ETS will be enabled when the ETS switch is in the ON position (Pontiac) or the transaxle gear selector is in the DRIVE or THIRD gear position (Chevrolet), the catalytic converter temperature is within the normal operating range and the engine coolant temperature is within normal operating range. The ETS will be disabled under the following conditions:

    • The ETS switch is in the OFF position (Pontiac).
    • The transaxle gear selector is in any position other than DRIVE or THIRD gear (Chevrolet).
    • The park brake is engaged.
    • Catalytic converter temperature rises above the normal range.
    • Engine coolant temperature is outside the normal operating range.
    • The PCM sets a DTC that turns on the CHECK ENGINE indicator.
    • The EBCM sets any DTC that effects the ETS operation.

The amber LO TRAC indicator lamp will illuminate to alert the driver of a low traction situation and to inform the driver that the ETS is operating. As a bulb check procedure, the EBCM will command the LO TRAC indicator lamp ON for three seconds when the EBCM receives power (ignition switch turned to the ON or START positions).

System -- Self Test (Initialization)

The EBCM performs self-diagnostics during initialization.

The EBCM also verifies correct operation of the following components during initialization:

    • The pump motor
    • The solenoid valves
    • The relay
    • The indicators

The EBCM inspects the wheel speed sensor circuitry for the following conditions during initialization:

    • Open circuits
    • Shorts to ground
    • Shorts to voltage

If the EBCM detects a malfunction in itself or in other ABS components, the EBCM will perform the following actions:

    • Store a Diagnostic Trouble Code (DTC)
    • Turn on one or more of the following indicators, if applicable:
       - The amber ABS warning indicator
       - The red BRAKE warning indicator

The initialization performs during engine cranking and engine starting. A slight mechanical noise may be heard during the system initialization. This noise is normal.

During this process, the EBCM will verify pump motor and solenoid operation by using specific control schemes to verify all components are functioning properly.

If brake pedal pressure interrupts the system initialization, a slight movement in the brake pedal may exist.

Normal/Indicator Operation

The standard brake system uses a single red BRAKE warning indicator, which is located in the instrument panel cluster.

The antilock brake system uses the following indicators:

    • The red BRAKE warning indicator
    • An amber ABS warning indicator

The following indicators will turn ON for approximately three seconds and then turn OFF when the ignition is turned to the ON position:

    • The amber ABS warning indicator
    • The red BRAKE warning indicator

As the engine is cranked, the red BRAKE warning indicator and the amber ABS indicator should illuminate steadily.

Three seconds after the engine is started, the ABS indicator should be OFF. The red BRAKE warning indicator will go OFF immediately.

Tires and ABS

Spare Tire

Using the compact spare supplied with the vehicle will not affect the operation of ABS. The EBCM software can compensate for this smaller tire. However, increased stopping distances may occur due to reduced tire tread depth on compact spare tires.

Replacement Tires

Tire size is important for proper performance of the ABS. Replacement tires should be the same size, load range, and construction as the original tires. Replace tires in axle sets and only with tires of the same Tire Performance Criteria (TPC) specification number. Use of any other tire size or type may seriously affect the ABS operation.