GM Service Manual Online
For 1990-2009 cars only
Makes
🢒
Pontiac
🢒
2000
🢒
Sunfire
🢒
Body and Accessories
🢒
Body Control System
🢒 Instrument Cluster: Analog Schematics
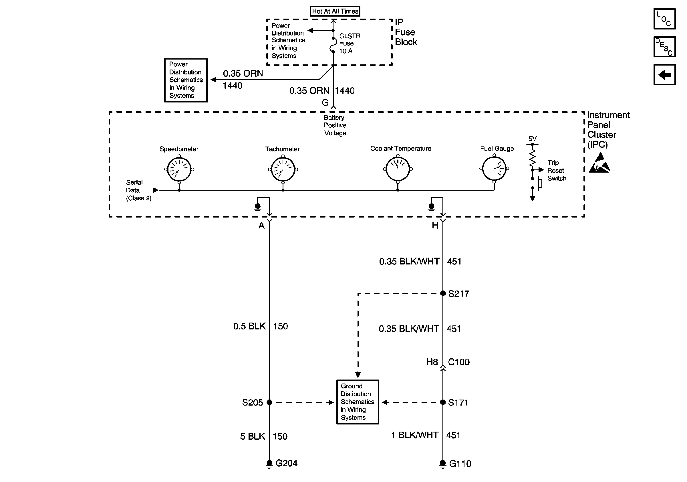
Figure
1:
Power and Class 2 Data Lines
Instrument Cluster Components
Instrument Cluster Circuit Description
Indicators
Exterior Lights Schematics
Power Distribution Schematics
Power Distribution Schematics
Interior Lights Dimming Schematics
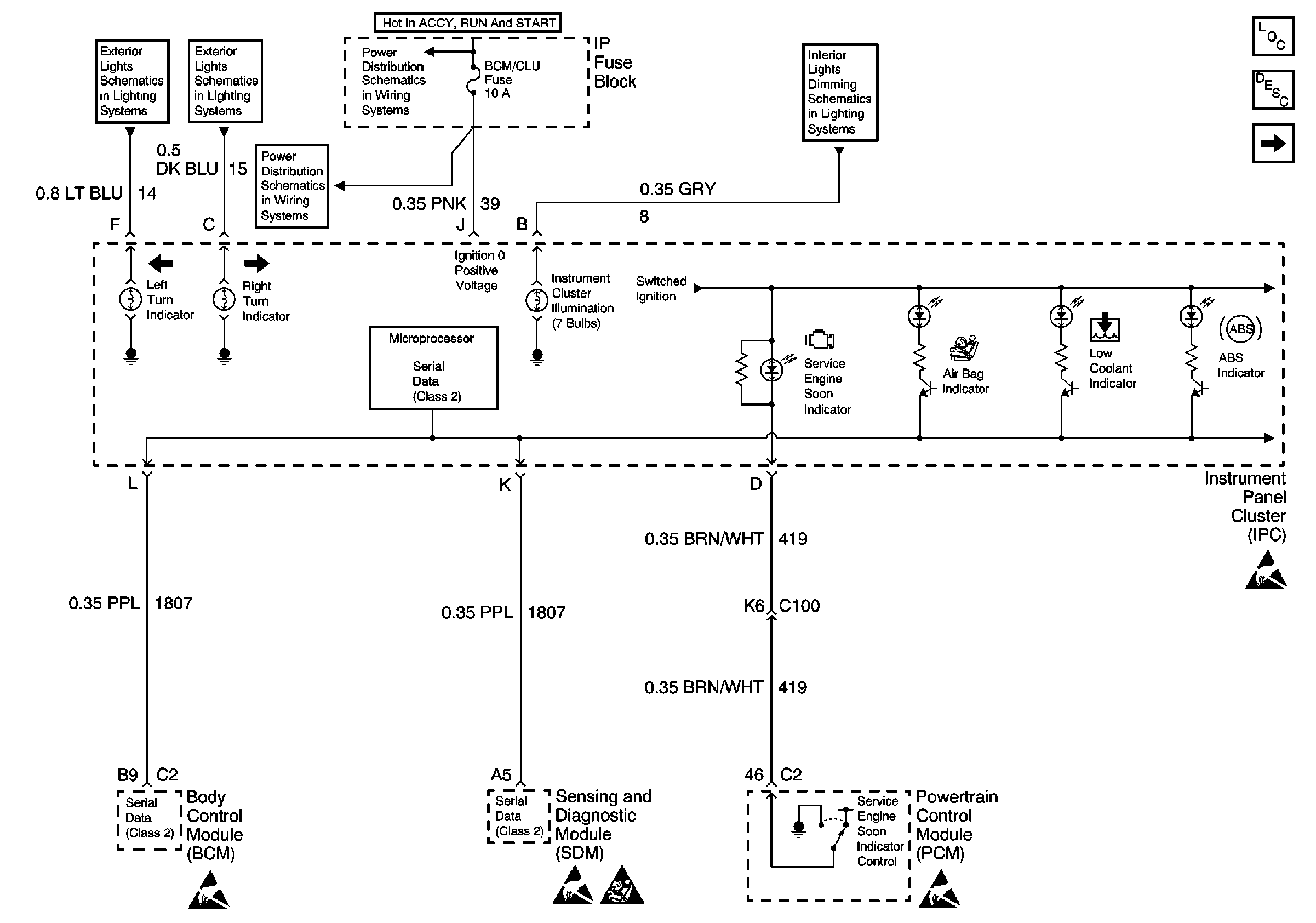
Figure
2:
Indicators
Instrument Cluster Components
Instrument Cluster Circuit Description
Grounds
Power and Class 2 Data Lines
Figure
3:
Grounds
Instrument Cluster Components
Instrument Cluster Circuit Description
Indicators
Power Distribution Schematics
Power Distribution Schematics
Ground Distribution Schematics