GM Service Manual Online
For 1990-2009 cars only
Makes
🢒
Pontiac
🢒
2000
🢒
Sunfire
🢒
Body and Accessories
🢒
Exterior Trim
🢒 Roof Weld Joint Reveal Molding Replacement
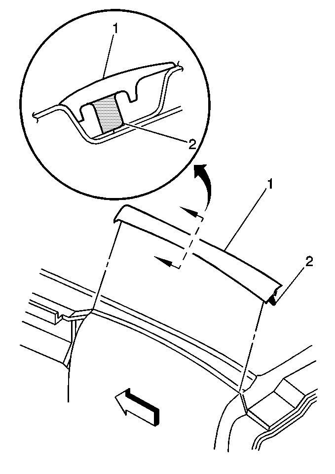
Removal Procedure
Use a flat bladed tool in order to pry the roof weld joint reveal molding (1) upward.
Installation Procedure
Apply urethane to the roof weld joint.
Install the roof weld joint reveal molding (1). Ensure that the unit is retained.