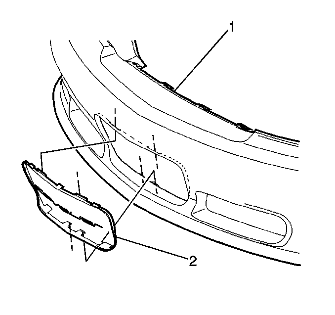
Removal Procedure
Remove the license plate cover (2) from
the fascia (1).
- Use a flat bladed tool in order to pry out the top tabs.
- Disengage the bottom tabs.
Installation Procedure
Install the license plate cover (2) to
the fascia (1).
- Insert the top tabs into the fascia slots.
- Snap the bottom tabs into place.