GM Service Manual Online
For 1990-2009 cars only
Makes
🢒
Pontiac
🢒
2000
🢒
Sunfire
🢒
Body and Accessories
🢒
Doors
🢒 Rear Side Door Window Replacement
Removal Procedure
Place the door window assembly to the down position.
Remove the door trim panel. Refer to
Door Trim Panel Replacement
.
Remove enough of the door water deflector in order to access the door window assembly nuts. Refer to
Door Water Deflector Replacement
.
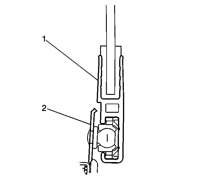
Disengage the glass sash regulator (2) from the rear side door window (1).
Remove the door window frame applique. Refer to
Door Frame Applique Replacement
.
Remove the rear side door window (1).
Installation Procedure
Install the rear side door window (1).
Engage the glass sash regulator (2) to the rear side door window (1).
Install the door window frame applique. Refer to
Door Frame Applique Replacement
.
Install the door water deflector. Refer to
Door Water Deflector Replacement
.
Install the door trim panel. Refer to
Door Trim Panel Replacement
.