GM Service Manual Online
For 1990-2009 cars only

Removal Procedure

  1. Unlatch the folding top. Refer to Power Folding Top Operation .
  2. Lower the folding top. Refer to Power Folding Top Operation .
  3. Caution: Unless directed otherwise, the ignition and start switch must be in the OFF or LOCK position, and all electrical loads must be OFF before servicing any electrical component. Disconnect the negative battery cable to prevent an electrical spark should a tool or equipment come in contact with an exposed electrical terminal. Failure to follow these precautions may result in personal injury and/or damage to the vehicle or its components.

  4. Disconnect the negative battery cable.
  5. Remove the windshield garnish molding. Refer to Windshield Pillar Garnish Molding Replacement in Interior Trim.

  6. Object Number: 299304  Size: SH
  7. Remove the screws (6) and washer (9) which retain the receiver pin (8) to the header latch handle assembly rod.
  8. Retain the bushing in the receiver pin (8).

  9. Object Number: 299306  Size: MH
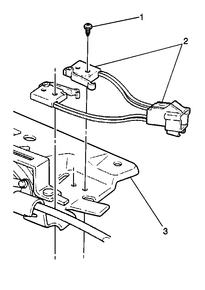
  10. Disconnect the electrical connector (2) on the header latch handle assembly.
  11. Remove the header latch handle assembly retaining screws from the windshield header:
  12. Remove the header latch handle assembly from the vehicle (3).

  13. Object Number: 299304  Size: SH
  14. Remove the screws  (5) which retain the power folding top switch.
  15. Remove the power folding top switch.

Installation Procedure


    Object Number: 299304  Size: SH
  1. Install the power folding top switch.
  2. Notice: Use the correct fastener in the correct location. Replacement fasteners must be the correct part number for that application. Fasteners requiring replacement or fasteners requiring the use of thread locking compound or sealant are identified in the service procedure. Do not use paints, lubricants, or corrosion inhibitors on fasteners or fastener joint surfaces unless specified. These coatings affect fastener torque and joint clamping force and may damage the fastener. Use the correct tightening sequence and specifications when installing fasteners in order to avoid damage to parts and systems.

  3. Install the power folding top switch retaining screws (5).
  4. Tighten
    Tighten the screws to 25 N·m (18 lb ft).

  5. Use the screws in order to install the header latch handle assembly (6) to the windshield.
  6. Tighten
    Tighten the screws to 25 N·m (18 lb ft).

  7. Connect the electrical connector on the header latch handle assembly.
  8. Install the header latch pin (8) and the right and left positions on the header latch handle assembly rod.
  9. Install the retaining screws.
  10. Tighten
    Tighten the screws to 6 N·m (53 lb in).

  11. Install the windshield garnish molding (2). Refer to Windshield Pillar Garnish Molding Replacement in Interior Trim.
  12. Connect the negative battery cable.
  13. Raise the folding top. Refer to Power Folding Top Operation .
  14. Latch the folding top. Refer to Power Folding Top Operation .