GM Service Manual Online
For 1990-2009 cars only

Removal Procedure

Tools Required

    • J 39384-10 Torsion Rod Adjustment Bar
    • J 39719 Trunk Deck Lid Torsion Rod Adjuster

    Object Number: 284020  Size: SH
  1. Prop the compartment lid (2) in the full-open position. The prop will keep the lid from falling when the torque rods (1) are disengaged.
  2. Mark the position of the torque rod before removing the torque rod from the vehicle.

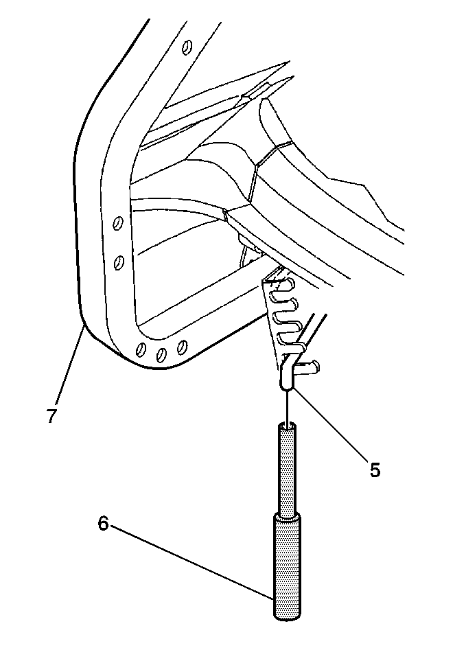
  3. Object Number: 284021  Size: MH
  4. Use the J 39719 , the J 39384-10 or the equivalent (6) in order to remove the torque rod (5) from the adjusting notch.

  5. Object Number: 284020  Size: SH
  6. Remove the torque rod (1) from the rear compartment lid hinge (4).

Installation Procedure


    Object Number: 284020  Size: SH
  1. Install the torque rod to the compartment lid hinge (4).

  2. Object Number: 284021  Size: MH
  3. Use theJ 39719 , the J 39384-10 or the equivalent (6) in order to engage the torque rod (5) to the adjusting notch.
  4. Adjust the operating effort by adjusting the rear compartment torque rods.
  5. Use the following procedure:


    Object Number: 284021  Size: MH
    3.1. Reposition the end of the torque rod (5) to a lower adjusting notch in order to obtain the following results:
       • Increase the amount of effort needed in order to raise the compartment lid.
       • Decrease the amount of effort needed in order to close the compartment lid.
    3.2. Reposition the end of the torque rod (5) to a higher adjusting notch in order to obtain the following results:
       • Decrease the amount of effort needed in order to raise the compartment lid.
       • Increase the amount of effort needed in order to close the compartment lid.
    3.3. (Pontiac Only) Use the adjusting notch position (1) for the rear compartment spoiler.
    3.4. (Chevrolet Only) Use the adjusting notch position (2) for the rear compartment spoiler.