GM Service Manual Online
For 1990-2009 cars only

Left Hand Man. Mirror Does Not Adjust when Adjust Lever is Moved (Adjust Lever)

Subject:Left Hand Manual Mirror Does Not Adjust When Adjustment Lever is Moved (Adjust Lever to Align with Lever Slide)

Models:1995-2000 Chevrolet Cavalier
1995-2000 Pontiac Sunfire
with Manual Mirrors




This bulletin is being revised to add model years. Please discard Corporate Bulletin Number 73-15-02 (Section 10 -- Body).


Condition

Some owners may comment that the left hand manual mirror does not adjust when the adjustment lever is moved.

Cause

The adjustment lever may have become disengaged from the lever slide.

Correction

Caution: To avoid personal injury, do not place fingers in mirror hinge area.

  1. Roll down the left door window.
  2. Fold the mirror toward the front of the vehicle. Hold the mirror in position with your left hand.

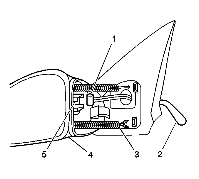
  3. Object Number: 631010  Size: SH
    (1)Adjustment Lever T End
    (2)Adjustment Lever Handle
    (3)Spring
    (4)Mirror
    (5)Lever Slide
  4. With your right hand, move the adjustment lever handle (inside the vehicle) to align the T end of the lever with the lever slide.
  5. Fold the mirror back to the original position to engage the T end of the lever with the lever slide.

Warranty Information

For vehicle repaired under warranty, use:

Labor Operation

Description

Labor Time

R3261

Mirror, Outside Rear View - Replace (Manual Left)

Use published labor operation time