GM Service Manual Online
For 1990-2009 cars only
Makes
🢒
Pontiac
🢒
2000
🢒
Sunfire
🢒 Cell 10 Cooling Fan, BATT1, BATT2, IGN, and ABS Fuses
Cell 10 Cooling Fan, BATT1, BATT2, IGN, and ABS Fuses
Cell 10 Cooling Fan, BATT1, BATT2, IGN, and ABS Fuses
Engine Controls Components
Information Sensors/Switches Description
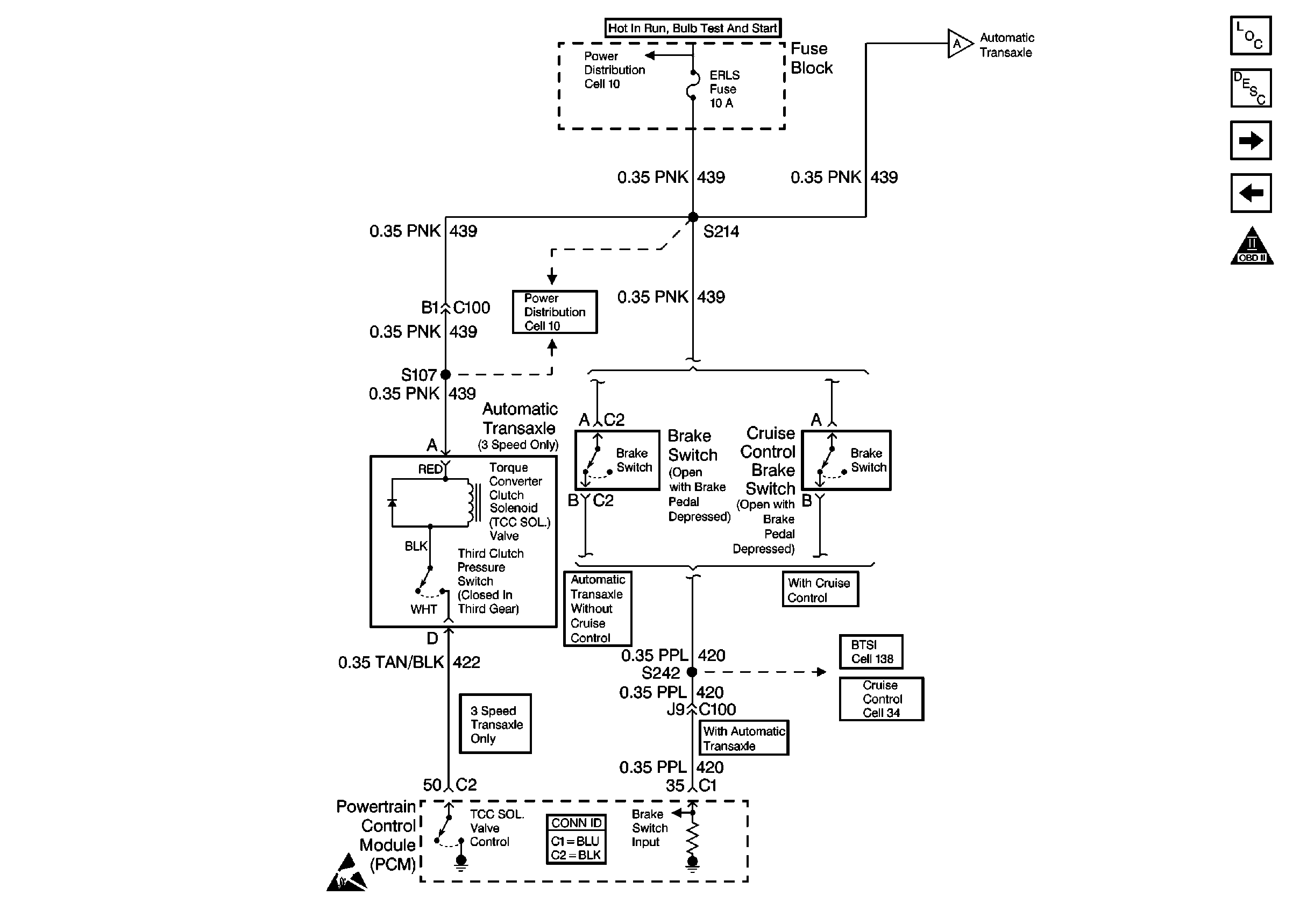
Transaxle Controls and Brake Switches
VSS and Cruise Control
OBD II Symbol Description Notice
Transaxle Controls and Brake Switches
Shift Lock Control Schematics
Cruise Control Schematics
Power Distribution Schematics
Power Distribution Schematics
Engine Controls Connector End Views
Handling ESD Sensitive Parts Notice