GM Service Manual Online
For 1990-2009 cars only
Makes
🢒
Pontiac
🢒
2000
🢒
Sunfire
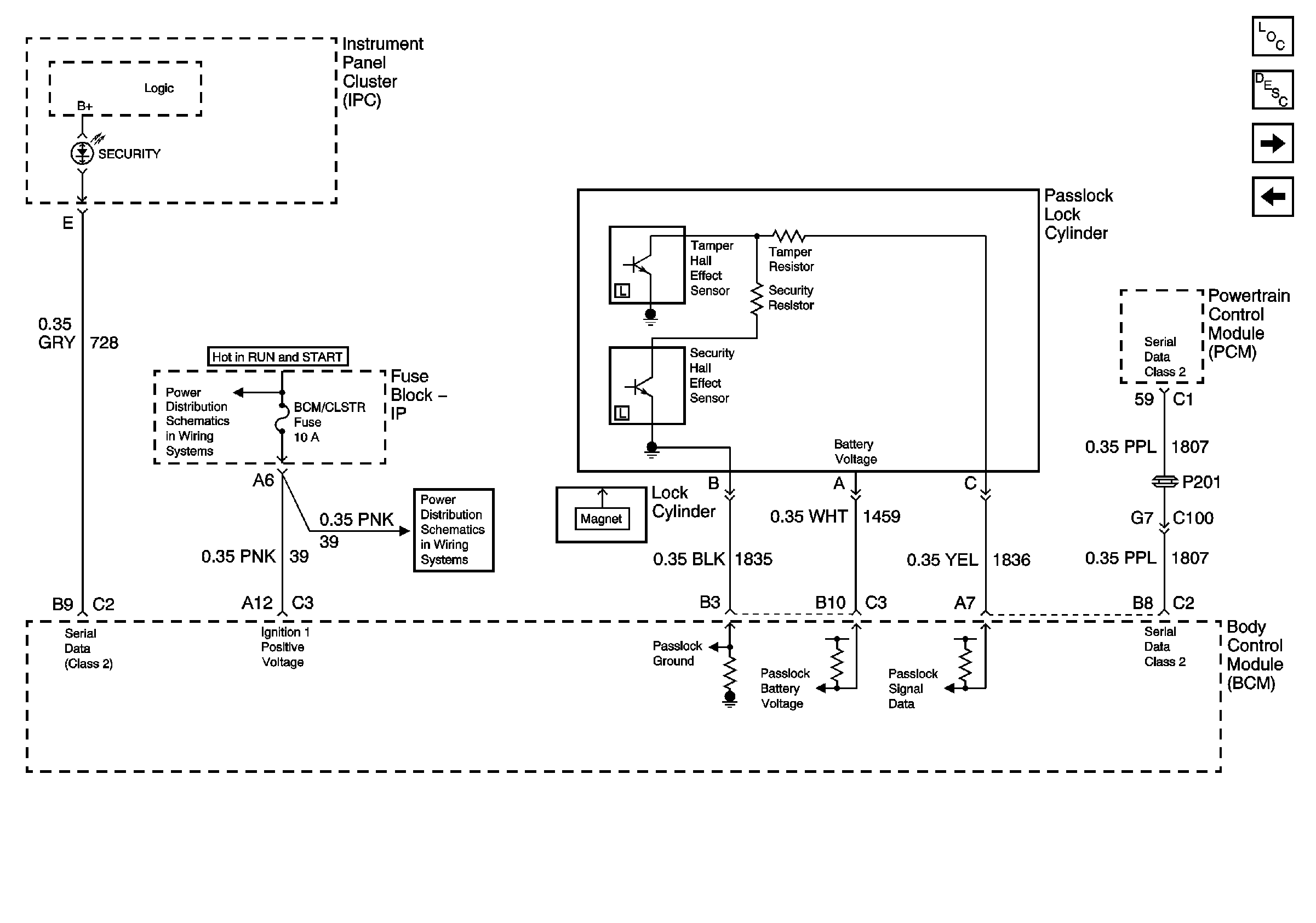
🢒 Theft Deterrent Passlock ™ Lock Cylinder
Theft Deterrent Passlock ™ Lock Cylinder
Theft Deterrent Passlock⢠Lock Cylinder
Theft Deterrent System Components
Vehicle Theft Deterrent (VTD) Description
TURN-B/U, IGN, PCM IGN, and BCM/CLSTR Fuses
TURN-B/U, IGN, PCM IGN, and BCM/CLSTR Fuses