GM Service Manual Online
For 1990-2009 cars only
Makes
🢒
Pontiac
🢒
2000
🢒
Sunfire
🢒 Automatic Transaxle
Automatic Transaxle
Automatic Transaxle
Engine Controls Components
Powertrain Control Module Description
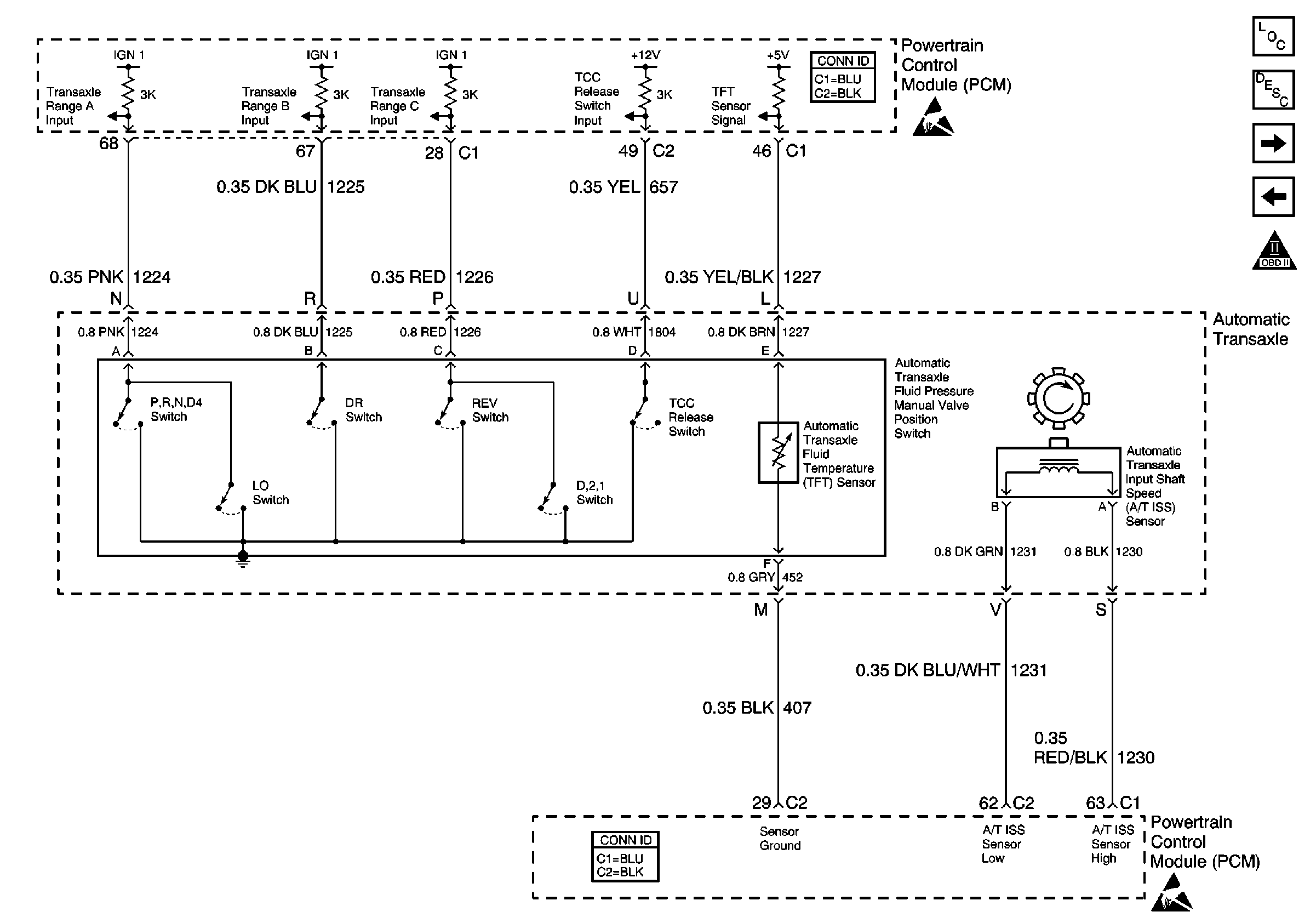
Power, Ground, Cruise, Brake and Transmission
Power, Ground and A/C Compressor Clutch
OBD II Symbol Description Notice
Handling ESD Sensitive Parts Notice
Handling ESD Sensitive Parts Notice